CRUISE CONTROL SYSTEM


  1. FUNCTION OF MAIN COMPONENTS


    1. The main components in the cruise control system have the following functions:

      Component Function
      Cruise Control Switch ON-OFF Button Turns the cruise control system on and off.
      CANCEL Switch A cancel signal is output to the ECM when this switch is operated.
      +RES Switch The accelerate function and resuming of a preset speed can be performed by operating this switch. A signal is output to the ECM when this switch is operated.
      -SET Switch The decelerate function and vehicle speed setting signals are output to the ECM due to operation of this switch.
      ECM Controls all functions of the cruise control system in accordance with the signals from switches, sensors and ECUs.
      TCM* Performs downshifts and upshifts according to signals from the ECM.
      Brake Actuator Assembly Skid Control ECU Transmits the VSC operation signal to the ECM.
      Combination Meter Assembly Multi-information Display Cruise Control Indicator
      • Based on a cruise control indicator operation signal sent by the ECM, the combination meter assembly illuminates the cruise control indicator when the cruise control system has been turned on using the ON-OFF button on the cruise control switch.

      • Based on a cruise control indicator operation signal sent by the ECM, the combination meter assembly turns off the cruise control indicator if a malfunction occurs in the cruise control system.

      Cruise Control SET Indicator Illuminates when the vehicle speed is set.
      Multi-information Display Displays a warning message to alert the driver in accordance with a signal provided by the ECM.
      Master Warning Light

      Displays a warning message to alert the driver in accordance with a signal provided by the ECM.

      Illuminates when there is a malfunction in the system.

      Throttle Body with Motor Assembly Throttle Control Motor Adjusts the throttle valve opening angle in accordance with signals from the ECM.
      Throttle Position Sensor Detects the throttle valve opening angle and outputs it to the ECM.
      Speed Sensor Detects the wheel speed of each of the 4 wheels.
      Accelerator Pedal Sensor Assembly Detects the accelerator pedal depression angle and transmits it to the ECM.
      Park/Neutral Position Switch Assembly Detects the shift lever position and transmits signals to the ECM.
      Lower Shift Lever Assembly Transmission Control Switch
      • Detects the shift lever position and transmits signals to the ECM.

      • Informs the ECM of driver upshift or downshift operations while the shift lever is in S.

      Stop Light Switch Assembly Detects the brake pedal being depressed and transmits its signal to the ECM.

      Tech Tips

      *: Models with 2GR-FE Engine

  2. FUNCTION


    1. The cruise control system has the following control functions:

      Function Outline
      Constant Speed Control The ECM compares the actual vehicle speed and the set speed and if the vehicle speed is lower than the set speed, it uses the throttle control motor to increase the throttle valve opening angle.
      Set Control
      • When this system fulfils the following conditions, and the cruise control switch is moved to the -SET side and released, the ECM stores the vehicle speed and maintains the vehicle constantly at that speed.


        • The cruise control system has been turned on using the ON-OFF button on the cruise control switch.

        • The vehicle is driving at a speed within the range of approximately 40 to 200 km/h (25 to 125 mph).

      Low Speed Limit Control The low speed limit is the lowest speed that cruise control can be set at and it is designed to be approximately 40 km/h (25 mph). The cruise control cannot be set below that speed. If the vehicle speed drops below that speed while the cruise control is operating, the cruise control will be canceled automatically. However, the set speed is kept in memory.
      COAST Switch Control
      • When the cruise control switch is held to the -SET side, the vehicle speed and the set vehicle speed change as follows:


        • The vehicle will decelerate.

        • The set vehicle speed will change to the speed at which the vehicle is being driven when the COAST switch (-SET side operation) is released.

      Tap Down Control
      • When the cruise control switch is moved momentarily (approximately 0.6 seconds or less) to the -SET side, the vehicle speed and the set vehicle speed change as follows:


        • The vehicle will decelerate in increments of approximately 1 km/h (1 mph) each time the switch is moved.

        • However, if the difference between the actual vehicle speed and the set vehicle speed is greater than 5 km/h (3 mph), the set vehicle speed will change to the speed at which the vehicle is being driven when the switch is pushed.

      ACC Switch Control
      • When the cruise control switch is held to the +RES side, the vehicle speed and the set vehicle speed change as follows:


        • The vehicle will accelerate.

        • The set vehicle speed will change to the speed at which the vehicle is being driven when the switch is released.

      Tap Up Control
      • When the cruise control switch is moved momentarily (approximately 0.6 seconds or less) to the +RES side, the vehicle speed and the set vehicle speed change as follows:


        • The vehicle will accelerate in increments of approximately 1 km/h (1 mph) each time the switch is moved.

        • However, if the difference between the actual vehicle speed and the set vehicle speed is greater than 5 km/h (3 mph), the set vehicle speed will not change.

      RES Switch Control When the vehicle speed is above the low speed limit, the cruise control system resumes operation (when the cruise control switch is subsequently moved to the +RES side) to reach the vehicle speed that was set at the time the driver canceled cruise control. Even if the vehicle speed dropped below the low speed limit, the set speed can be resumed after the vehicle speed increases above the low speed limit. Also, If the vehicle speed memory is deleted, the return control cannot be performed
      Shift down control When the vehicle is traveling uphill using cruise control, automatic transmission control may cause the transmission to shift down. During shift-down control, when the end of uphill travel is determined based on the throttle valve angle, the transmission will shift up after a certain period of time. When the transmission shifts down during ACC switch control or RES switch control, the transmission will shift up after ACC switch control or RES switch control ends.
      Manual Cancel Control
      • If any of the following signals are sent to the ECM, cruise control speed control operation is canceled accordingly.


        • Stop light switch on signal (The brake pedal is depressed.)

        • Signals indicating that the shift lever has been moved from D or S to other position. (The shift lever is moved from D or S to N.)

        • When 1st, 2nd or 3rd range is selected while shift lever is in S.

        • CANCEL switch on signal (The cruise control switch is moved to the CANCEL side.)

        • Cruise control switch (ON-OFF button) off signal

      Automatic Cancel Control
      • If the following condition occurs during cruise control speed control operation, the speed that is set in memory is cleared and cruise control speed control operation is canceled.


        • Stop light switch open or short circuit

      Furthermore, the master warning light illuminates, cruise control indicator turns off, and a message indicating a malfunction will be displayed on the multi-information display until the cruise control system is turned off using the cruise control switch. The operation of the cruise control is disabled until the cruise control system is turned on again using the ON-OFF button.


      • If the following condition occurs during cruise control speed control operation, the speed that is set in memory is cleared and cruise control speed control operation is canceled.


        • ETCS-i malfunction

      Furthermore, the operation of the cruise control is disabled until the cruise control system is turned on again using the ON-OFF button.


      • If any of the following conditions occur during cruise control speed control operation, the speed that is set in memory is cleared and cruise control speed control operation is canceled.


        • Stop light switch input signal is abnormality

        • Cancel circuit malfunction

        • Brake control system malfunction

      Furthermore, the master warning light illuminates, cruise control indicator turns off, and a message indicating a malfunction will be displayed on the multi-information display until the cruise control system is turned off using the cruise control switch. The operation of the cruise control is disabled until the engine switch is turned off.


      • If the following condition occurs during cruise control speed control operation, the speed that is set in memory is cleared and cruise control speed control operation is canceled.


        • Vehicle speed decreases by 16 km/h (10 mph) or more below the speed at which the cruise control is set.


      • If the following condition occurs during cruise control speed control operation, cruise control speed control operation is canceled.


        • Vehicle speed decreases below the low speed limit (approximately 40 km/h [25 mph]).

      Other Cancel Conditions
      • VSC operation.

      • TRC operates for a certain period of time while the cruise control system is controlling vehicle speed.

  3. CONSTRUCTION


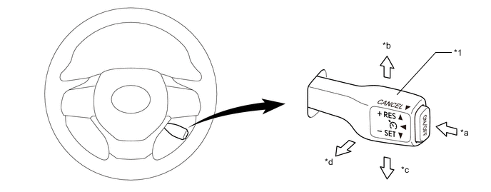
    1. Cruise Control Switch


      1. The cruise control switch consists of the ON-OFF button and the +RES, -SET and CANCEL switches. The +RES, -SET and CANCEL switches are operated by moving the lever in the 3 directions indicated.

      2. The switches in the cruise control switch are of the automatic reset (normally open) type that turn on only when the switch is being operated and turn off as soon as the driver releases the switch. Furthermore, the functions of the switches are active only when the cruise control system has been turned on using the ON-OFF button on the cruise control switch.

        A01VYD3E01
        Text in Illustration
        *1 Cruise Control Switch - -
        *a ON-OFF Button *b +RES Switch
        *c -SET Switch *d CANCEL Switch
  4. OPERATION


    1. Combination Meter Assembly


      1. The combination meter assembly provides a cruise control indicator, cruise control SET indicator, master warning light and multi-information display to indicate the condition of the cruise control system.

        Condition Multi-information Display*1 A01VYEP
        Set Standby A01VYKV Does not illuminate
        Being Controlled*2 A01VYZX A01VYGQ Does not illuminate
        System Malfunction Cruise Control Malfunction Visit Your Dealer Illuminates

        *1: These illustrations are examples.

        *2: While driving at a set speed of 90 km/h (56 mph.)

  5. DIAGNOSIS


    1. If a malfunction occurs in the cruise control system during cruise control operation, the ECM cancels cruise control operation, illuminates the master warning light and turns off the cruise control indicator and cruise control SET indicator . At this time, "Cruise Control Malfunction Visit Your Dealer" is displayed on the multi-information display. The ECM stores the malfunction in the form of a 5-digit Diagnostic Trouble Code (DTC).

    2. The 5-digit DTC can be read by connecting the Global TechStream (GTS) to the DLC3. For details, refer to the Repair Manual.