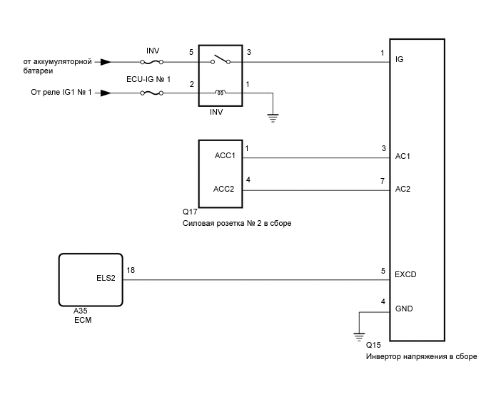
СИСТЕМА ВСПОМОГАТЕЛЬНОЙ РОЗЕТКИ СХЕМА СИСТЕМЫ

E295985E03