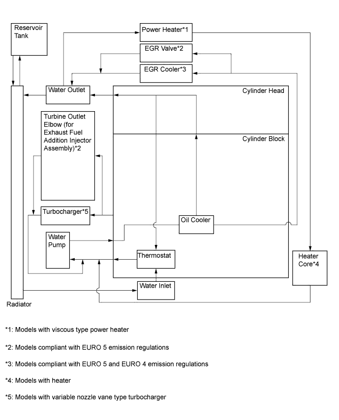
COOLING SYSTEM SYSTEM DIAGRAM

A01EZRAE02