CLUTCH SYSTEM


  1. CONSTRUCTION


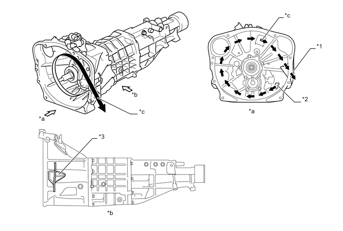
    1. Clutch Housing


      1. Clutch cooling performance and wear resistance have been improved by installing a clutch cooling intake and exhaust in the TL70 six-speed manual transmission's clutch housing.

      2. Steps have been taken to waterproof the clutch housing by installing a waterproofing exhaust cover.

        A004GKRE02
        Text in Illustration
        *1 Outlet *2 Inlet
        *3 Waterproofing Cover - -
        *a View A *b View B
        *c Wind Flow - -