CANISTER COMPONENTS
ILLUSTRATION
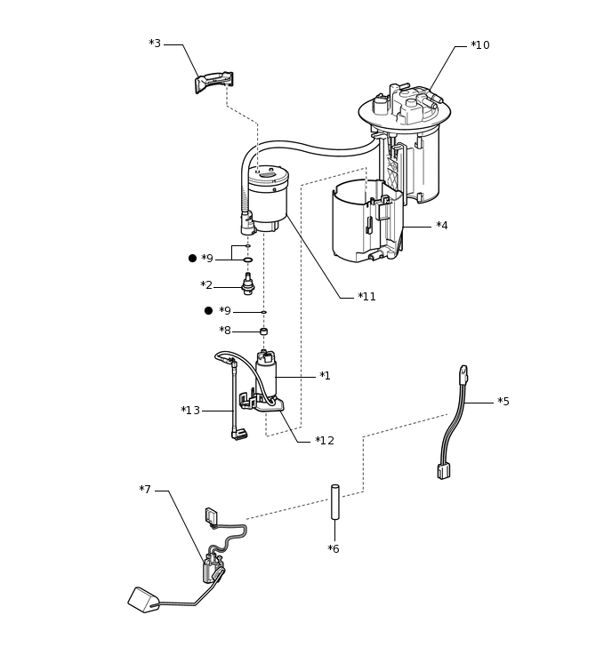
*1 |
FUEL PUMP |
*2 |
FUEL PRESSURE REGULATOR ASSEMBLY |
*3 |
NO. 1 FUEL SUCTION SUPPORT |
*4 |
FUEL SUB-TANK |
*5 |
FUEL PUMP HARNESS |
*6 |
HARNESS PROTECTOR |
*7 |
FUEL SENDER GAUGE ASSEMBLY |
*8 |
FUEL PUMP SPACER |
*9 |
O-RING |
*10 |
CANISTER (FUEL SUCTION PLATE SUB-ASSEMBLY) |
*11 |
FUEL FILTER |
*12 |
SUCTION FILTER |
*13 |
FUEL PUMP FILTER HOSE |
- |
- |
● |
Non-reusable part |
- |
- |