СИСТЕМА СТОЯНОЧНОГО ТОРМОЗА С ЭЛЕКТРОПРИВОДОМ, диагностический DTC: C13A1/12

Код DTC Наименование DTC
C13A1/12 Короткое замыкание в цепи реле источника питания

ОПИСАНИЕ

Перечисленные ниже DTC сохраняются при возникновении неисправности в ЭБУ стояночного тормоза в сборе.

№ DTC

Неисправность

Условие обнаружения DTC

Неисправный участок

Память

Примечание

C13A1/12

Короткое замыкание в цепи реле источника питания

При выполнении обоих следующих условий:

  1. Питание включено (IG) или выключатель стояночного тормоза с электроприводом оттянут в положение блокировки при выключенном питании.

  2. Реле источника питания ЭБУ стояночного тормоза коротко замкнуто в течение приблизительно 60 с.

  • Жгут проводов или разъем

  • Выключатель стояночного тормоза с электроприводом в сборе

  • ЭБУ стояночного тормоза в сборе

Код DTC сохраняется

На мультиинформационном дисплее отображается сообщение о неисправности в системе стояночного тормоза с электроприводом.

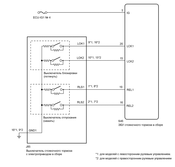
СХЕМА СОЕДИНЕНИЙ

C322443E10

ПРЕДОСТЕРЕЖЕНИЕ / ПРИМЕЧАНИЕ / УКАЗАНИЕ

Note:
  • Перед выполнением следующей процедуры проверки проверьте предохранители цепей, относящихся к данной системе.

  • Перед тем как отсоединять разъемы или предохранители, выключите питание и подождите не менее 20 с.

  • В случае замены ЭБУ стояночного тормоза в сборе приведите в действие выключатель стояночного тормоза с электроприводом, когда контрольная лампа стояночного тормоза (красная) начнет мигать при первом включении питания (IG).

ПОРЯДОК ВЫПОЛНЕНИЯ

  1. ПРОВЕРЬТЕ ЖГУТ ПРОВОДОВ И РАЗЪЕМ (ЭБУ СТОЯНОЧНОГО ТОРМОЗА В СБОРЕ - ЦЕПЬ ПИТАНИЯ IG)

    1. C319563C20

      *a

      Вид спереди разъема со стороны жгута проводов:

      (к ЭБУ стояночного тормоза в сборе)

      Выключите зажигание.

    2. Отсоедините разъем S46 ЭБУ стояночного тормоза.

    3. Измерьте напряжение в соответствии со значениями, приведенными в таблице.

      Номинальное напряжение

      Контакты для подключения диагностического прибора

      Положение переключателя

      Заданные условия

      S46-5 (IG) - масса

      Питание выключено

      Менее 2,5 В

      Result

      Перейти к

      OK

      НЕ СООТВ.

    НЕ СООТВ.

    ОТРЕМОНТИРУЙТЕ ИЛИ ЗАМЕНИТЕ ЖГУТ ПРОВОДОВ ИЛИ РАЗЪЕМ

    СООТВ
  2. ПРОВЕРЬТЕ ВЫКЛЮЧАТЕЛЬ СТОЯНОЧНОГО ТОРМОЗА С ЭЛЕКТРОПРИВОДОМ В СБОРЕ

    1. Снимите выключатель стояночного тормоза с электроприводом в сборе.

      Нажмите здесьClick here

    2. Проверьте выключатель стояночного тормоза с электроприводом в сборе.

      Нажмите здесьClick here

    Результат

    Перейти к

    OK

    НЕ СООТВ.

    НЕ СООТВ.

    ЗАМЕНИТЕ ВЫКЛЮЧАТЕЛЬ СТОЯНОЧНОГО ТОРМОЗА С ЭЛЕКТРОПРИВОДОМ

    Нажмите здесьClick here

    СООТВ
  3. ПРОВЕРЬТЕ ЖГУТ ПРОВОДОВ И РАЗЪЕМ (ЭБУ СТОЯНОЧНОГО ТОРМОЗА - ВЫКЛЮЧАТЕЛЬ СТОЯНОЧНОГО ТОРМОЗА С ЭЛЕКТРОПРИВОДОМ)

    1. Отсоедините разъем J85 выключателя стояночного тормоза с электроприводом в сборе.

    2. C319563C16

      *a

      Вид спереди разъема со стороны жгута проводов:

      (к ЭБУ стояночного тормоза в сборе)

      Отсоедините разъем S46 ЭБУ стояночного тормоза.

    3. Измерьте сопротивление в соответствии со значениями, приведенными в таблице ниже.

      Номинальное сопротивление

      Подключение диагностического прибора

      Условие

      Заданные условия

      S46-20 (LCK1) - масса

      Всегда

      10 кОм или более

      S46-15 (LCK2) - масса

      Всегда

      10 кОм или более

      S46-19 (REL1) - масса

      Всегда

      10 кОм или более

      S46-16 (REL2) - масса

      Всегда

      10 кОм или более

      Результат

      Перейти к

      OK

      НЕ СООТВ.

    OK

    ЗАМЕНИТЕ ЭБУ СТОЯНОЧНОГО ТОРМОЗА В СБОРЕ

    Для моделей с задним сиденьем № 2: Нажмите здесьClick here

    Для моделей без заднего сиденья № 2: Нажмите здесьClick here

    НЕ СООТВ.

    ОТРЕМОНТИРУЙТЕ ИЛИ ЗАМЕНИТЕ ЖГУТ ПРОВОДОВ ИЛИ РАЗЪЕМ