ENGINE UNIT


  1. CONSTRUCTION


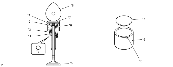
    1. Heat-resistant steel is used for the intake and exhaust valves.

    2. Unequal-pitch springs with anomalous cross sections are used to improve the surge resistance of the inner compression springs.

    3. The valve adjusting shim has been located directly above the valve lifter. This construction allows the valve adjusting shim to be replaced without removing the camshaft, which improves the serviceability during valve clearance adjustment.

    4. A cutout is provided in the valve lifter to improve the serviceability of the valve adjusting shims when replacement is required.

      A01SA12C01
      *1 Valve Spring Retainer *2 Spring Retainer Lock
      *3 Inner Compression Spring *4 Valve Stem Oil Seal
      *5 Valve *6 Valve Lifter
      *7 Valve Adjusting Shim *8 Camshaft
      *a Spring Cross Section *b Cutout

      Tech Tips

      The valve adjusting shims are available in 17 sizes in increments of 0.05 mm (0.002 in.), from 2.50 mm (0.098 in.) to 3.30 mm (0.130 in.). For details, refer to the Repair Manual.