WINDOW DEFOGGER WIRE REPAIR

PROCEDURE

  1. REPAIR BACK DOOR GLASS

    B106758C15

    *1

    Broken Wire

    *2

    Masking Tape

    *a

    Repair Point

    1. Clean the broken wire tips with grease, wax and silicone remover.

    2. Place masking tape along both sides of the wire.

    3. Thoroughly mix the repair agent.

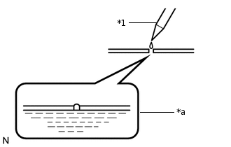
    4. B106759C02

      *1

      Fine Tip Brush

      *a

      Repair Point

      Using a fine tip brush, apply a small amount of the agent to the wire.

    5. After a few minutes, remove the masking tape.

      Note:

      Do not repair the defogger wire again for at least 24 hours.