СИСТЕМА ОХЛАЖДЕНИЯ ОБЩИЕ СВЕДЕНИЯ


  1. ОПИСАНИЕ


    1. Система охлаждения представляет собой герметизированную систему с принудительной циркуляцией и закрытым расширительным бачком.

    2. Закрытый расширительный бачок используется, чтобы предотвратить порчу охлаждающей жидкости от контакта с наружным воздухом.

    3. В кожухе впускного патрубка охлаждающей жидкости размещен термостат с перепускным клапаном, поддерживающий требуемое распределение температуры в системе охлаждения.

    4. Для уменьшения массы сердцевина радиатора изготавливается из алюминия.

    5. Используется масляный радиатор двигателя водяного охлаждения.

    6. Фирменная охлаждающая жидкость SLLC (охлаждающая жидкость с увеличенным сроком замены) от компании TOYOTA

      A01EZ5KE01
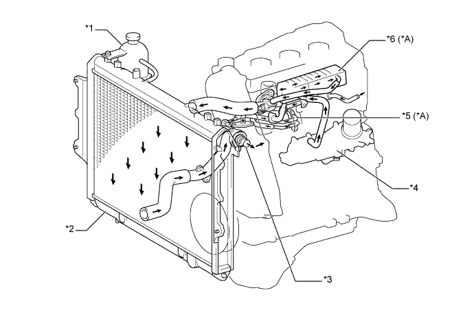
      Обозначения на рисунке (для моделей, удовлетворяющих нормам токсичности отработавших газов EURO 5):
      *1 Расширительный бачок *2 Радиатор в сборе
      *3 Термостат *4 Масляный радиатор
      *5 Электрический клапан управления РОГ в сборе *6 Охладитель РОГ (узел трубопроводов РОГ)
      *a К отопителю *b От отопителя
      A01EZS6E02
      Обозначения на рисунке (кроме моделей, удовлетворяющих нормам токсичности отработавших газов EURO 5):
      *A Для моделей, удовлетворяющих нормам токсичности отработавших газов EURO 4 - -
      *1 Расширительный бачок *2 Радиатор в сборе
      *3 Термостат *4 Масляный радиатор
      *5 Узел жидкостных трубопроводов *6 Охладитель РОГ (узел трубопроводов РОГ)
  2. ТЕХНИЧЕСКИЕ ХАРАКТЕРИСТИКИ


    1. Охлаждающая жидкость двигателя


      1. Используется фирменная охлаждающая жидкость SLLC (охлаждающая жидкость с увеличенным сроком замены) от компании Toyota. Интервалы между заменами указаны в таблице ниже:

        Тип охлаждающей жидкости двигателя Разрешается использовать только охлаждающую жидкость с увеличенным сроком замены (SLLC) "Toyota Genuine Super Long Life Coolant" или аналогичную высококачественную охлаждающую жидкость на основе этиленгликоля (а не на силикатной, аминовой, нитритной или борнокислой основе), изготовленную по гибридной технологии органических кислот с длительным сроком годности (охлаждающая жидкость, изготовленная по гибридной технологии органических кислот, состоит из низкофосфатных соединений и органических кислот). Запрещается использовать простую воду.
        Периодичность техобслуживания Первая замена 160000 км (100000 миль)
        Последующие замены Каждые 80000 км (50000 миль) пробега
        Цвет Розовый

        Tech Tips


        • SLLC представляет собой готовую смесь (50% концентрата и 50% деионизированной воды*1 или 40% концентрата и 60% деионизированной воды*2). Таким образом, разбавлять ее перед добавлением или заменой не требуется.

          *1: для моделей для Европы

          *2: кроме моделей для Европы

        • Если с SLLC (розового цвета) смешивается LLC (красного цвета), необходимо использовать интервал техобслуживания для LLC (каждые 40000 км (25000 миль) или через 24 месяца, в зависимости от того, что наступит раньше).

    2. Термостат

      Температура открывания термостата 80-84°C (176-183°F)