FUEL SYSTEM


  1. CONSTRUCTION


    1. An HP5S type injection or supply pump assembly is used.

    2. The injection or supply pump assembly consists of a camshaft, a plunger, a check valve a pre-stroke control valve and a feed pump.

      Figure 1. Models without Pressurized Fuel Filter

      B0020BPC06
      *1 Pre-stroke Control Valve *2 Plunger
      *3 Spring *4 Shoe
      *5 Roller *6 Camshaft
      *7 Double Cam *8 Check Ball
      *a Fuel Return Port (to Fuel Tank) *b Fuel Inlet Port (from Fuel Tank)
      *c To Common-rail Assembly - -

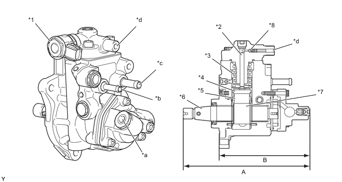
      Figure 2. Models with Pressurized Fuel Filter

      B0020FJC07
      *1 Pre-stroke Control Valve *2 Plunger
      *3 Spring *4 Shoe
      *5 Roller *6 Camshaft
      *7 Double Cam *8 Check Ball
      *a To Exhaust Fuel Addition Injector and Pressurized Fuel Filter *b Fuel Return Port (to Pressurized Fuel Filter)
      *c Fuel Inlet Port (from Fuel Tank) *d To Common-rail Assembly
      Supply Pump Specifications
      Model Models without Pressurized Fuel Filter Models with Pressurized Fuel Filter
      Type HP5S
      Length A 155.6 mm (6.13 in.) 202.2 mm (7.96 in.)
      B 98 mm (3.86 in.) 144.6 mm (5.69 in.)
      Pre-stroke Control Valve 1
      Plunger φ 6.5 mm x 1 φ 6.5 mm x 1
      Weight 3650 g (8.05 lb) 3970 g (8.75 lb)
  2. OPERATION


    1. When the cam rotates the roller is pushed up, and in turn the plunger is pushed upward as well. When the plunger is not pushed up by the cam, it is pushed back down by the spring.

      B0020GRC01
      *1 Pre-stroke Control Valve *2 Plunger
      *3 Spring *4 Shoe
      *5 Roller *6 Double Cam
    2. The ECM controls the closing timing of the pre-stroke control valve while the plunger is moving up in order to adjust the fuel supply volume. As a result, the fuel pressure in the common rail assembly is controlled to the target injection pressure.

    3. When the pre-stroke control valve is closed while the plunger is moving up, the fuel pressure increases. When the fuel pressure exceeds the common-rail pressure, fuel is supplied to the common rail assembly.

    4. When the closing timing of the pre-stroke control valve is delayed, the length of pressure-fed strokes will decrease, as well as the fuel discharge volume.

      B0020HQC01
      *a Return Fuel - -
    5. When the closing timing of the pre-stroke control valve is hastened, the length of pressure-fed strokes will increase, as well as the fuel discharge volume.

    6. When the pre-stroke control valve is closed while the plunger is moving up, the fuel pressure increases. When the fuel pressure exceeds the common-rail pressure, fuel is supplied to the common rail assembly.

      B0020E7