HYBRID CONTROL SYSTEM, Diagnostic DTC:P0D2F-266 and P0D30-267

DTC Code DTC Name
P0D2F-266 Drive Motor "A" Inverter Voltage Sensor Circuit Low
P0D30-267 Drive Motor "A" Inverter Voltage Sensor Circuit High

DESCRIPTION

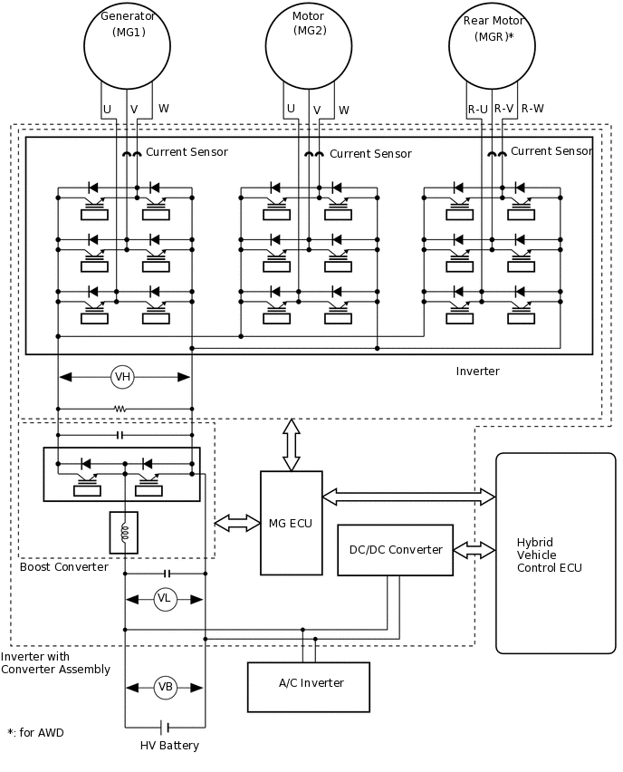
The inverter contains a three-phase bridge circuit, which consists of 6 power transistors (IGBTs) each for the generator (MG1), motor (MG2) and rear motor (MGR)*. The inverter converts high-voltage direct current from the HV battery into three-phase alternating current for the generator (MG1), motor (MG2) and rear motor (MGR)*; it also converts three-phase alternating current supplied by generator (MG1), motor (MG2) and rear motor (MGR)* into direct current for the HV battery. The MG ECU controls the actuation of the power transistors (IGBTs). The inverter transmits information necessary for control, such as amperage and voltage, to the MG ECU.

*: for AWD

Tip:

The term "drive motor A" indicates the motor (MG2).

A320845E07

The MG ECU uses an inverter voltage sensor, which is built into the inverter, to detect boosted high voltage (VH) to allow control of the voltage boost.

The inverter voltage sensor outputs voltage that fluctuates between 0 to 5 V according to changes in VH.

The MG ECU monitors the inverter voltage sensor and detects the following malfunctions.

DTC No.

Detection Item

DTC Detection Condition

Trouble Area

MIL

Warning Indicate

P0D2F-266

Drive Motor "A" Inverter Voltage Sensor Circuit Low

Inverter voltage (VH) signal is stuck low:

DTC stored when the VH sensor signal is excessively low.

(1 trip detection logic)

Inverter with converter assembly

Comes on

Master Warning Light:

Comes on

P0D30-267

Drive Motor "A" Inverter Voltage Sensor Circuit High

Inverter voltage (VH) signal is stuck high:

DTC stored when the VH sensor signal is excessively high.

(1 trip detection logic)

Inverter with converter assembly

Comes on

Master Warning Light:

Comes on

Table 1. Related Data List

DTC No.

Data List

P0D2F-266

VH-Voltage after Boosting

P0D30-267

CAUTION / NOTICE / HINT

Tip:

After the repair, clear the DTCs and perform the following procedure to check that DTCs are not output.

  1. Turn the power switch on (READY) and wait for 5 seconds or more.

PROCEDURE

  1. REPLACE INVERTER WITH CONVERTER ASSEMBLY

    Click here

    Tip:

    The signal line from the inverter voltage (VH) sensor is connected to the MG ECU, which is built into the inverter with converter assembly. If P0D2F-266 or P0D30-267 is output, replace the inverter with converter assembly.

    Result

    Proceed to

    NEXT

    NEXT

    COMPLETED