ЧАШКА ЗАДНЕГО ДИФФЕРЕНЦИАЛА В СБОРЕ РАЗБОРКА

ПРЕДОСТЕРЕЖЕНИЕ / ПРИМЕЧАНИЕ / УКАЗАНИЕ

Note:

Перед установкой каждой детали тщательно очистите и высушите ее. Затем нанесите на нее трансмиссионное масло. Не используйте щелочные химикаты для очистки алюминиевых и резиновых деталей или установочных болтов зубчатого венца. Кроме того, запрещается применять не оставляющий осадка растворитель и другие бензины химической чистки для очистки резиновых деталей, кольцевых уплотнений и сальников.

ПОРЯДОК ВЫПОЛНЕНИЯ

  1. ЗАКРЕПИТЕ ЧАШКУ ЗАДНЕГО ДИФФЕРЕНЦИАЛА В СБОРЕ

    1. Закрепите чашку заднего дифференциала в сборе в приспособлении для переборки.

  2. СНИМИТЕ РЕЗЬБОВУЮ ШПИЛЬКУ

    1. С помощью 2 гаек снимите 4 шпильки с муфты трансмиссии в сборе.

  3. СНИМИТЕ ПРОБКУ СЛИВНОГО ОТВЕРСТИЯ ЗАДНЕГО ДИФФЕРЕНЦИАЛА

    1. C285350

      С помощью торцевой шестигранной головки на 10 мм снимите пробку сливного отверстия заднего дифференциала и прокладку.

  4. СНИМИТЕ ПРОБКУ ГОРЛОВИНЫ ЗАДНЕГО ДИФФЕРЕНЦИАЛА

    1. C288367

      С помощью торцевого гаечного ключа на 10 мм снимите крышку горловины заднего дифференциала и прокладку.

  5. СНИМИТЕ ПРОБКУ КРЫШКИ ЧАШКИ ЗАДНЕГО ДИФФЕРЕНЦИАЛА

    1. C110129

      С помощью торцевого гаечного ключа на 8 мм снимите пробку крышки чашки заднего дифференциала.

  6. СНИМИТЕ ПРОБКУ САПУНА КРЫШКИ ЧАШКИ ЗАДНЕГО ДИФФЕРЕНЦИАЛА

    1. C110130

      С помощью молотка и зубила слегка поднимите пробку сапуна в крышке чашки заднего дифференциала.

    2. С помощью отвертки слегка подденьте и снимите пробку сапуна с крышки чашки заднего дифференциала.

  7. ПРОВЕРЬТЕ МУФТУ ТРАНСМИССИИ В СБОРЕ

    1. C110131C07

      *a

      Вертикальное биение

      *b

      Горизонтальное биение

      Закрепите щуп на индикаторе часового типа и установите щуп под прямым углом на внутреннюю поверхность муфты трансмиссии.

    2. С помощью SST повращайте муфту трансмиссии вперед-назад и измерьте вертикальное биение.

      09564-32011

      Максимум

      0,06 мм (0,00236 дюйма)

      Tip:

      Если результат измерения превышает максимально допустимую величину, замените муфту трансмиссии в сборе.

    3. Установите индикатор часового типа на муфту трансмиссии в сборе под прямым углом, как показано на рисунке.

    4. С помощью SST повращайте муфту трансмиссии вперед-назад и измерьте поперечное биение.

      09564-32011

      Максимум

      0,07 мм (0,00276 дюйма)

      Tip:

      Если результат измерения превышает максимально допустимую величину, замените муфту трансмиссии в сборе.

  8. СНИМИТЕ МУФТУ ТРАНСМИССИИ В СБОРЕ

    1. C277166

      Выверните 4 болта и с помощью латунного стержня и молотка с пластмассовым покрытием слегка подбейте муфту трансмиссии, чтобы снять ее с чашки заднего дифференциала в сборе.

      Note:
      • Вставьте латунный стержень под ребро муфты трансмиссии в сборе.

      • При снятии муфты трансмиссии в сборе соблюдайте осторожность, чтобы не поцарапать сопрягаемую поверхность.

      Tip:

      Чтобы не допустить падения муфты трансмиссии в сборе, оставьте 2 болта ввернутыми на 5-6 витков резьбы.

    2. C130574

      С помощью съемника стопорных колец снимите пружинное стопорное кольцо.

    3. C130597

      Снимите электромагнитный клапан системы полного привода с линейной характеристикой со статора.

    4. C130359

      Снимите кольцевое уплотнение с электромагнитного клапана системы полного привода с линейной характеристикой.

    5. C350871C01

      *a

      Крепление 3 болтами

      *b

      Крепление 2 болтами

      С помощью торцевого шестигранного ключа на 5 мм выверните 2 или 3 болта и снимите статор с чашки заднего дифференциала.

      Note:
      • В зависимости от количества резьбовых отверстий в чашке заднего дифференциала и количества отверстий под болты в статоре возможно крепление 2 болтами.

      • При креплении 2 болтами заверните болты в те же самые отверстия, из которых они выворачивались.

      Tip:
      C350822C01

      *1

      Чашка заднего дифференциала в сборе

      *2

      Статор

      *a

      Крепление 3 болтами

      *b

      Крепление 2 болтами

      Table 1. Количество болтов и отверстий под болты

      Количество отверстий в чашке заднего дифференциала

      Количество отверстий в статоре

      Количество используемых болтов

      3

      3

      Возможно крепление 2 болтами

      3

      2

      Крепление 2 болтами

      2

      3

      2

      2

  9. СНИМИТЕ КОНУСНУЮ ПРУЖИННУЮ ШАЙБУ МУФТЫ ТРАНСМИССИИ

    1. C130897C01

      *1

      Конусная пружинная шайба муфты трансмиссии

      Снимите конусную пружинную шайбу муфты трансмиссии с чашки заднего дифференциала.

  10. СНИМИТЕ ШАЙБУ МУФТЫ ТРАНСМИССИИ

    1. C130898C01

      *1

      Шайба муфты трансмиссии

      Снимите шайбу муфты трансмиссии с чашки заднего дифференциала.

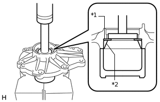
  11. ПРОВЕРЬТЕ БОКОВОЙ ЗАЗОР МЕЖДУ ЗУБЬЯМИ В ГЛАВНОЙ ПЕРЕДАЧЕ ДИФФЕРЕНЦИАЛА

    1. C110134C12

      *a

      Поверните

      *b

      Удерживайте

      Вставьте индикатор часового типа в отверстие под сальник вала полуосевой шестерни заднего дифференциала и установите его перпендикулярно кромке зубьев коронной шестерни.

    2. Зафиксируйте ведущую шестерню дифференциала с помощью SST.

      09556-52010

    3. С помощью SST измерьте боковой зазор, поворачивая корпус заднего дифференциала вперед и назад.

      09564-32011

      Номинальное значение / Номинальный режим

      0,088 - 0,208 мм (0,00347 - 0,00818 дюйма)

      Note:

      Измерения на коронной шестерне следует проводить, по крайней мере, в 3 разных местах.

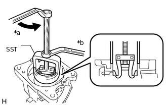
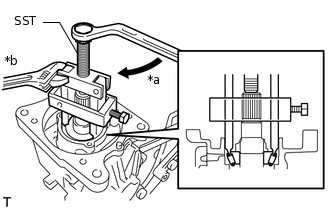
  12. ПРОВЕРЬТЕ ПРЕДНАТЯГ ВЕДУЩЕЙ ШЕСТЕРНИ ДИФФЕРЕНЦИАЛА

    1. C110135E01

      С помощью SST и динамометрического ключа измерьте преднатяг (начальный момент) в боковом зазоре между ведущей шестерней дифференциала и коронной шестерней дифференциала.

      09556-52010

      Стандартн.

      0,77 - 1,26 Н*м (8 - 12 кгс*см, 7 - 11 фунт-сила-футов)

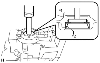
  13. ПРОВЕРЬТЕ СУММАРНЫЙ ПРЕДНАТЯГ

    1. C110135E01

      С помощью SST и динамометрического ключа измерьте преднатяг (начальный крутящий момент) в положении касания зубьев ведущей шестерни и коронной шестерни дифференциала.

      09556-52010

      Стандартн.

      Суммарный преднатяг = преднатяг ведущей шестерни + 0,58-1,01 Н*м (6-10 кгс*см, 5-8 фунт-сила-дюймов)

      Note:

      Измерьте преднатяг после нескольких поворотов подшипника корпуса вперед и назад, чтобы удостовериться в нормальной работе подшипника.

  14. СНИМИТЕ САЛЬНИК ЗАДНЕГО ПРИВОДНОГО ВАЛА

    1. C130599C01

      *1

      Сальник заднего приводного вала

      С помощью SST снимите 2 сальника заднего приводного вала с чашки заднего дифференциала в сборе.

      09308-00010

  15. СНИМИТЕ САЛЬНИК ДИАФРАГМЫ

    1. C110140C01

      *1

      Сальник диафрагмы

      *a

      Поверните

      *b

      Удерживайте

      С помощью SST снимите сальник диафрагмы с чашки заднего дифференциала в сборе.

      09308-10010

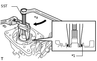
  16. СНИМИТЕ ГАЙКУ ЗАДНЕЙ ВЕДУЩЕЙ ШЕСТЕРНИ

    1. C110138E01

      С помощью SST и молотка ослабьте накерненную часть гайки задней ведущей шестерни.

      09930-00010

      Note:
      • Примените SST так, чтобы конический элемент был направлен к валу.

      • Не стачивайте наконечник SST с помощью шлифовального станка или другого устройства.

      • Полностью освободите накерненную часть гайки задней ведущей шестерни.

      • Старайтесь не повредить резьбу ведущей шестерни дифференциала.

    2. C277167C01

      *a

      Поверните

      *b

      Удерживайте

      С помощью SST зафиксируйте ведущую шестерню дифференциала на месте и снимите гайку задней ведущей шестерни с ведущей шестерни дифференциала.

      09556-52010

      09564-16020

  17. СНИМИТЕ ПЕРЕДНИЙ КОНИЧЕСКИЙ РОЛИКОВЫЙ ПОДШИПНИК ЗАДНЕЙ ВЕДУЩЕЙ ШЕСТЕРНИ

    1. C110141C04

      *a

      Поверните

      *b

      Удерживайте

      С помощью SST снимите передний конический роликовый подшипник передней ведущей шестерни (внутреннее кольцо) с чашки дифференциала.

      09556-30010

  18. СНИМИТЕ СЕПАРАТОР ПОДШИПНИКА ДИФФЕРЕНЦИАЛА

    1. C285334

      Выверните 8 болтов.

    2. C285335

      С помощью латунного стержня и молотка осторожно выбейте сепаратор подшипника полуоси дифференциала и снимите его.

      Note:
      • Вставьте латунный стержень под ребро сепаратора подшипника дифференциала.

      • При снятии сепаратора подшипника полуоси дифференциала соблюдайте осторожность, чтобы не поцарапать сопрягаемую поверхность.

      Tip:

      Не допускайте падения сепаратора подшипника дифференциала, ввернув 2 болта на 5 - 6 витков резьбы.

  19. СНИМИТЕ КОРПУС ЗАДНЕГО ДИФФЕРЕНЦИАЛА В СБОРЕ

    1. C110144

      Снимите корпус заднего дифференциала в сборе с чашки заднего дифференциала.

  20. СНИМИТЕ ВЕДУЩУЮ ШЕСТЕРНЮ ДИФФЕРЕНЦИАЛА

    1. C110145

      Снимите ведущую шестерню дифференциала с чашки заднего дифференциала.

      Note:

      Если ведущая шестерня заднего дифференциала или коронная шестерня дифференциала поцарапаны, замените обе детали.

  21. СНИМИТЕ РАСПОРНУЮ ВТУЛКУ ПОДШИПНИКА ВЕДУЩЕЙ ШЕСТЕРНИ ЗАДНЕГО ДИФФЕРЕНЦИАЛА

    1. C110146

      Снимите распорную втулку подшипника ведущей шестерни заднего дифференциала с ведущей шестерни дифференциала.

  22. СНИМИТЕ ЗАДНИЙ КОНИЧЕСКИЙ РОЛИКОВЫЙ ПОДШИПНИК ЗАДНЕЙ ВЕДУЩЕЙ ШЕСТЕРНИ

    1. C110147E01

      С помощью SST и пресса выжмите внутреннее кольцо заднего конического роликового подшипника задней ведущей шестерни с ведущей шестерни дифференциала.

      09950-00020

      Note:

      Если ведущая шестерня заднего дифференциала или зубчатый венец дифференциала повреждены, замените обе детали.

    2. Снимите плоскую шайбу ведущей шестерни заднего дифференциала.

  23. СНИМИТЕ ПЕРЕДНИЙ КОНИЧЕСКИЙ РОЛИКОВЫЙ ПОДШИПНИК ЗАДНЕЙ ВЕДУЩЕЙ ШЕСТЕРНИ

    1. C277168C01

      *a

      Поверните

      *b

      Удерживайте

      Закрепите захваты SST на переднем коническом роликовом подшипнике задней ведущей шестерни (наружном кольце), вставив его в прорези на чашке заднего дифференциала в сборе.

      09612-65014

      09612-01020

      09612-01050

    2. С помощью SST снимите передний конический роликовый подшипник задней ведущей шестерни (наружное кольцо) с чашки заднего дифференциала.

      09612-65014

      09612-01020

      09612-01050

  24. СНИМИТЕ ЗАДНИЙ КОНИЧЕСКИЙ РОЛИКОВЫЙ ПОДШИПНИК ЗАДНЕЙ ВЕДУЩЕЙ ШЕСТЕРНИ

    1. C110149

      С помощью латунного стержня и молотка равномерно выбейте задний конический роликовый подшипник задней ведущей шестерни (наружное кольцо) и снимите его.

      Note:

      Вставьте латунный стержень в одну из проточек.

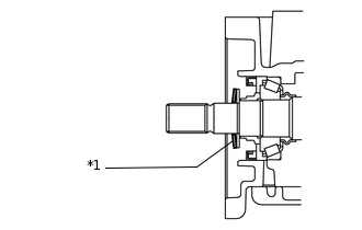
  25. СНИМИТЕ ПРАВЫЙ ПОДШИПНИК КОРПУСА ЗАДНЕГО ДИФФЕРЕНЦИАЛА

    1. C274519C01

      *1

      Плоская шайба вала полуосевой шестерни заднего дифференциала

      *2

      Правый подшипник корпуса заднего дифференциала (наружное кольцо)

      С помощью SST и пресса выпрессуйте плоскую шайбу вала полуосевой шестерни заднего дифференциала и правый подшипник корпуса заднего дифференциала (внешнее кольцо) из чашки заднего дифференциала.

      09950-60010

      09951-00510

      09950-70010

      09951-07100

  26. СНИМИТЕ ЛЕВЫЙ ПОДШИПНИК КОРПУСА ЗАДНЕГО ДИФФЕРЕНЦИАЛА

    1. C274520C01

      *1

      Шайба вала полуосевой шестерни заднего дифференциала

      *2

      Левый подшипник корпуса заднего дифференциала (наружное кольцо)

      С помощью SST и пресса выпрессуйте левый подшипник корпуса заднего дифференциала (внешнее кольцо) и шайбу вала полуосевой шестерни заднего дифференциала с сепаратора подшипника дифференциала.

      09950-60010

      09951-00460

      09950-70010

      09951-07100

      09649-17010

  27. СНИМИТЕ ПРАВЫЙ ПОДШИПНИК КОРПУСА ЗАДНЕГО ДИФФЕРЕНЦИАЛА

    1. C130602C04

      *a

      Поверните

      *b

      Удерживайте

      С помощью SST снимите правый подшипник корпуса заднего дифференциала (внутреннее кольцо) с корпуса заднего дифференциала в сборе.

      09950-40011

      09951-04010

      09952-04010

      09953-04020

      09954-04010

      09955-04061

      09957-04010

      09958-04011

      09950-60010

      09951-00320

      Note:

      Прежде, чем устанавливать центральный болт SST (09953-04020), нанесите на его резьбу и наконечник детали масло.

      Tip:
      • Если кольцо осталось на корпусе заднего дифференциала в сборе, повторите вышеприведенные шаги, чтобы снять правый подшипник корпуса заднего дифференциала (внутреннее кольцо).

      • Если правый подшипник корпуса заднего дифференциала (внутреннее кольцо) деформирован, замените его новым.

  28. СНИМИТЕ ЛЕВЫЙ ПОДШИПНИК КОРПУСА ЗАДНЕГО ДИФФЕРЕНЦИАЛА

    1. C130603C04

      *a

      Поверните

      *b

      Удерживайте

      С помощью SST снимите левый подшипник корпуса заднего дифференциала (внутреннее кольцо) с корпуса заднего дифференциала в сборе.

      09950-40011

      09951-04010

      09952-04010

      09953-04020

      09954-04010

      09955-04071

      09957-04010

      09958-04011

      09950-60010

      09951-00320

      Note:

      Прежде, чем устанавливать центральный болт SST (09953-04020), нанесите на его резьбу и наконечник детали масло.

      Tip:
      • Если кольцо осталось на корпусе заднего дифференциала в сборе, повторите вышеприведенные шаги, чтобы снять левый подшипник корпуса заднего дифференциала (внутреннее кольцо).

      • Если левый подшипник корпуса заднего дифференциала (внутреннее кольцо) деформирован, замените его новым.

  29. СНИМИТЕ ЗУБЧАТЫЙ ВЕНЕЦ

    1. C130563C05

      *a

      Метка

      Зажмите корпус заднего дифференциала в сборе в тисках между алюминиевыми пластинами.

      Note:

      Не затягивайте тиски слишком сильно.

    2. Нанесите метки на коронную шестерню и корпус заднего дифференциала.

    3. Выверните 10 болтов корпуса заднего дифференциала.

    4. Молотком с пластмассовым покрытием осторожно постучите по периферии зубчатого венца дифференциала, чтобы снять последний с корпуса заднего дифференциала.

      Tip:

      Чтобы не допустить повреждений, закройте сторону зубьев коронной шестерни тканью.

  30. СНИМИТЕ МАСЛООТРАЖАТЕЛЬ ПРОБКИ САПУНА ЗАДНЕГО ДИФФЕРЕНЦИАЛА

    1. C110156

      С помощью торцевого шестигранного ключа на 5 мм выверните 2 болта и снимите маслоотражатель пробки сапуна заднего дифференциала.

  31. ИЗВЛЕКИТЕ СТОПОРНЫЙ ШТИФТ

    1. Снимите 4 стопорных штифта с чашки заднего дифференциала.

      C279492