СИСТЕМА ИЗМЕРИТЕЛЬНЫХ ПРИБОРОВ И ИНДИКАТОРОВ Сигнальная цепь датчика частоты вращения

Код DTC Наименование DTC
Сигнальная цепь датчика частоты вращения

ОПИСАНИЕ

По этой цепи на щиток приборов поступает сигнал скорости автомобиля. Датчики частоты вращения колес формируют напряжение, которое изменяется в зависимости от скорости автомобиля. Выходные сигналы датчиков частоты вращения колес поступают в блок управления рабочими цилиндрами тормозов (ЭБУ системы противоскольжения), который использует эту информацию для формирования сигнала скорости автомобиля*. Сигнал скорости автомобиля состоит из импульсов, передаваемых от блока управления рабочими цилиндрами тормозов (ЭБУ системы противоскольжения) в щиток приборов. Для формирования данного сигнала напряжение 12 В снимается с контакта IG2, который располагается за резистором в щитке приборов. Это напряжение подается в блок управления рабочими цилиндрами тормозов в сборе (ЭБУ системы противоскольжения). Импульсный сигнал формируется переключения транзистора в блоке управления рабочими цилиндрами тормозов в сборе (ЭБУ системы противоскольжения), включается и выключается, что напряжение на жгуте снижается до 0 В. Подобный системы используется для вывода данного сигнала со щитка приборов через контакт +S. Напряжение 12 В или 5 В подается на контакт +S от каждого ЭБУ или реле, подключенного к данному контакту. Работа транзистора в щитке приборов контролируется сигналом, поступающим от блока управления рабочими цилиндрами тормозов (ЭБУ системы противоскольжения). Когда транзистор включается, то напряжение, подаваемое на различные ЭБУ (через их соответствующие внутренние резисторы), падает до 0 В. Каждый ЭБУ, подключенный к контакту +S щитка приборов, использует данный импульсный сигнал для управления работой соответствующей системы.

  • *: Сигнал скорости автомобиля формируется блоком управления рабочими цилиндрами тормозов (ЭБУ системы противоскольжения). Фактически устройство, которое можно было бы назвать датчиком скорости автомобиля, отсутствует. Кроме того, некоторые системы могут получать информацию относительно скорости автомобиля по шине CAN.

Tip:

Эта цепь используется системами, подключенными к контакту +S. Данный сигнал не используется в работе щитка приборов. Такие компоненты щитка приборов, как например, спидометр, работают, используя данные, полученные по каналам связи CAN.

СХЕМА ЭЛЕКТРИЧЕСКИХ СОЕДИНЕНИЙ

E357984E01

ПРЕДОСТЕРЕЖЕНИЕ / ПРИМЕЧАНИЕ / УКАЗАНИЕ

Note:

Заменяйте щиток приборов в сборе только новым узлом.

ПОРЯДОК ВЫПОЛНЕНИЯ

  1. ПРОВЕРЬТЕ РАДИОПРИЕМНИК В СБОРЕ

    • *1: кроме моделей с 8 динамиками

      *2: для моделей с 8 динамиками

      *3: для моделей с компонентным стереоусилителем

      *4: для моделей с датчиком дождя

      *5: для моделей с системой обработки и передачи информации

    1. C240157C13

      *a

      Вид сзади разъема со стороны жгута проводов

      (к щитку приборов в сборе)

      Отсоедините разъем щитка приборов.

    2. Отсоедините разъем Р22*1 или Р33*2 компонентного стереоусилителя в сборе.*3

    3. Отсоедините разъем I53 ЭБУ сертификации (ЭБУ электронного ключа зажигания в сборе).

    4. Отсоедините разъем A35 ECM.

    5. Отсоедините разъем I56 реле стеклоочистителя ветрового стекла в сборе.*4

    6. Отсоедините разъем I40 приемопередатчика системы обработки и передачи информации.*5

    7. Измерьте напряжение в соответствии со значениями, приведенными в таблице.

      Номинальное напряжение

      Контакты для подключения диагностического прибора

      Положение переключателя

      Номинальное значение

      I10-19 (+S) - масса

      Зажигание включено (IG)

      4,5–14 В

    Result

    Result

    Перейти к

    OK (для моделей с компонентным стереоусилителем)

    A

    OK (для моделей без компонентного стереоусилителя)

    B

    NG

    C

    B

    ПРОВЕРЬТЕ ЭБУ СЕРТИФИКАЦИИ (ЭБУ ЭЛЕКТРОННОГО КЛЮЧА ЗАЖИГАНИЯ В СБОРЕ)Щелкните по следующей ссылке

    C

    ПРОВЕРЬТЕ ЖГУТ ПРОВОДОВ И РАЗЪЕМ (ЩИТОК ПРИБОРОВ В СБОРЕ – РАДИОПРИЕМНИК В СБОРЕ)Щелкните по следующей ссылке

    A
  2. ПРОВЕРЬТЕ КОМПОНЕНТНЫЙ СТЕРЕОУСИЛИТЕЛЬ В СБОРЕ

    • *1: кроме моделей с 8 динамиками

      *2: для моделей с 8 динамиками

      *3: для моделей с компонентным стереоусилителем

      *4: для моделей с системой обработки и передачи информации

    1. C240157C13

      *a

      Вид сзади разъема со стороны жгута проводов

      (к щитку приборов в сборе)

      Отсоедините разъем щитка приборов.

    2. Отсоедините разъем I38*1 или I121*2 радиоприемника в сборе.

    3. Отсоедините разъем I53 ЭБУ сертификации (ЭБУ электронного ключа зажигания в сборе).

    4. Отсоедините разъем A35 ECM.

    5. Отсоедините разъем I56 реле стеклоочистителя ветрового стекла в сборе.*3

    6. Отсоедините разъем I40 приемопередатчика системы обработки и передачи информации.*4

    7. Измерьте напряжение в соответствии со значениями, приведенными в таблице.

      Номинальное напряжение

      Контакты для подключения диагностического прибора

      Положение переключателя

      Номинальное значение

      I10-19 (+S) - масса

      Зажигание включено (IG)

      4,5–14 В

    Результат

    Перейти к

    OK

    НЕ СООТВ.

    НЕ СООТВ.

    ПРОВЕРЬТЕ ЖГУТ ПРОВОДОВ И РАЗЪЕМ (ЩИТОК ПРИБОРОВ В СБОРЕ – КОМПОНЕНТНЫЙ СТЕРЕОУСИЛИТЕЛЬ В СБОРЕ)Щелкните по следующей ссылке

    СООТВ
  3. ПРОВЕРЬТЕ ЭБУ СЕРТИФИКАЦИИ (ЭБУ ЭЛЕКТРОННОГО КЛЮЧА ЗАЖИГАНИЯ В СБОРЕ)

    • *1: кроме моделей с 8 динамиками

      *2: для моделей с 8 динамиками

      *3: для моделей с компонентным стереоусилителем

      *4: для моделей с датчиком дождя

      *5: для моделей с системой обработки и передачи информации

    1. C240157C13

      *a

      Вид сзади разъема со стороны жгута проводов

      (к щитку приборов в сборе)

      Отсоедините разъем щитка приборов.

    2. Отсоедините разъем I38*1 или I121*2 радиоприемника в сборе.

    3. Отсоедините разъем Р22*1 или Р33*2 компонентного стереоусилителя в сборе.*3

    4. Отсоедините разъем A35 ECM.

    5. Отсоедините разъем I56 реле стеклоочистителя ветрового стекла в сборе.*4

    6. Отсоедините разъем I40 приемопередатчика системы обработки и передачи информации.*5

    7. Измерьте напряжение в соответствии со значениями, приведенными в таблице.

      Номинальное напряжение

      Контакты для подключения диагностического прибора

      Положение переключателя

      Номинальное значение

      I10-19 (+S) - масса

      Зажигание включено (IG)

      4,5–14 В

    Result

    Result

    Перейдите к

    OK (с датчиком дождя)

    A

    OK (без датчика дождя)

    B

    NG

    C

    C

    ПРОВЕРЬТЕ ЖГУТ ПРОВОДОВ И РАЗЪЕМ (ЩИТОК ПРИБОРОВ В СБОРЕ - ЭБУ СЕРТИФИКАЦИИ (ЭБУ ЭЛЕКТРОННОГО КЛЮЧА ЗАЖИГАНИЯ В СБОРЕ))Щелкните по следующей ссылке

    A
  4. ПРОВЕРЬТЕ РЕЛЕ СТЕКЛООЧИСТИТЕЛЯ ВЕТРОВОГО СТЕКЛА В СБОРЕ

    • *1: кроме моделей с 8 динамиками

      *2: для моделей с 8 динамиками

      *3: для моделей с компонентным стереоусилителем

      *4: для моделей с системой обработки и передачи информации

    1. C240157C13

      *a

      Вид сзади разъема со стороны жгута проводов

      (к щитку приборов в сборе)

      Отсоедините разъем щитка приборов.

    2. Отсоедините разъем I38*1 или I121*2 радиоприемника в сборе.

    3. Отсоедините разъем Р22*1 или Р33*2 компонентного стереоусилителя в сборе.*3

    4. Отсоедините разъем I53 ЭБУ сертификации (ЭБУ электронного ключа зажигания в сборе).

    5. Отсоедините разъем A35 ECM.

    6. Отсоедините разъем I40 приемопередатчика системы обработки и передачи информации.*4

    7. Измерьте напряжение в соответствии со значениями, приведенными в таблице.

      Номинальное напряжение

      Контакты для подключения диагностического прибора

      Положение переключателя

      Номинальное значение

      I10-19 (+S) - масса

      Зажигание включено (IG)

      4,5–14 В

    Результат

    Перейти к

    OK

    НЕ СООТВ.

    НЕ СООТВ.

    ПРОВЕРЬТЕ ЖГУТ ПРОВОДОВ И РАЗЪЕМ (ЩИТОК ПРИБОРОВ - РЕЛЕ СТЕКЛООЧИСТИТЕЛЯ ВЕТРОВОГО СТЕКЛА В СБОРЕ)Щелкните по следующей ссылке

    СООТВ
  5. ПРОВЕРЬТЕ ECM

    • *1: кроме моделей с 8 динамиками

      *2: для моделей с 8 динамиками

      *3: для моделей с компонентным стереоусилителем

      *4: для моделей с датчиком дождя

      *5: для моделей с системой обработки и передачи информации

    1. C240157C13

      *a

      Вид сзади разъема со стороны жгута проводов

      (к щитку приборов в сборе)

      Отсоедините разъем щитка приборов.

    2. Отсоедините разъем I38*1 или I121*2 радиоприемника в сборе.

    3. Отсоедините разъем Р22*1 или Р33*2 компонентного стереоусилителя в сборе.*3

    4. Отсоедините разъем I53 ЭБУ сертификации (ЭБУ электронного ключа зажигания в сборе).

    5. Отсоедините разъем I56 реле стеклоочистителя ветрового стекла в сборе.*4

    6. Отсоедините разъем I40 приемопередатчика системы обработки и передачи информации.*5

    7. Измерьте напряжение в соответствии со значениями, приведенными в таблице.

      Номинальное напряжение

      Контакты для подключения диагностического прибора

      Положение переключателя

      Номинальное значение

      I10-19 (+S) - масса

      Зажигание включено (IG)

      4,5–14 В

    Result

    Result

    Перейти к

    OK (для моделей с системой обработки и передачи информации)

    A

    OK (для моделей без системы обработки и передачи информации)

    B

    NG

    C

    B

    ПРОВЕРЬТЕ ЩИТОК ПРИБОРОВ (ВЫХОДНОЕ НАПРЯЖЕНИЕ)Щелкните по следующей ссылке

    C

    ПРОВЕРЬТЕ ЖГУТ ПРОВОДОВ И РАЗЪЕМ (ЩИТОК ПРИБОРОВ - ECM)Щелкните по следующей ссылке

    A
  6. ПРОВЕРЬТЕ ПРИЕМОПЕРЕДАТЧИК СИСТЕМЫ ОБРАБОТКИ И ПЕРЕДАЧИ ИНФОРМАЦИИ

    • *1: кроме моделей с 8 динамиками

      *2: для моделей с 8 динамиками

      *3: для моделей с компонентным стереоусилителем

      *4: для моделей с датчиком дождя

    1. C240157C96

      *a

      Вид сзади разъема со стороны жгута проводов

      (к щитку приборов в сборе)

      Отсоедините разъем щитка приборов.

    2. Отсоедините разъем I38*1 или I121*2 радиоприемника в сборе.

    3. Отсоедините разъем Р22*1 или Р33*2 компонентного стереоусилителя в сборе.*3

    4. Отсоедините разъем I53 ЭБУ сертификации (ЭБУ электронного ключа зажигания в сборе).

    5. Отсоедините разъем I56 реле стеклоочистителя ветрового стекла в сборе.*4

    6. Отсоедините разъем A35 ECM.

    7. Измерьте напряжение в соответствии со значениями, приведенными в таблице.

      Номинальное напряжение

      Контакты для подключения диагностического прибора

      Положение переключателя

      Заданные условия

      G9-19 (+S) - масса

      Зажигание включено

      4,5-14 В

    Результат

    Перейти к

    OK

    НЕ СООТВ.

    НЕ СООТВ.

    ПРОВЕРЬТЕ ЖГУТ ПРОВОДОВ И РАЗЪЕМ (ЩИТОК ПРИБОРОВ - ПРИЕМОПЕРЕДАТЧИК СИСТЕМЫ ОБРАБОТКИ И ПЕРЕДАЧИ ИНФОРМАЦИИ)Щелкните по следующей ссылке

    СООТВ
  7. ПРОВЕРЬТЕ ЩИТОК ПРИБОРОВ В СБОРЕ (ВЫХОДНОЕ НАПРЯЖЕНИЕ)

    1. E295988C02

      *a

      Вид спереди разъема со стороны жгута проводов:

      (к блоку управления рабочими цилиндрами тормозов [ЭБУ системы противоскольжения])

      Отсоедините разъем блока управления рабочими цилиндрами тормозов (ЭБУ системы противоскольжения).

    2. Отсоедините разъем усилителя тормозной системы с главным цилиндром (ЭБУ системы противоскольжения).

    3. Измерьте напряжение в соответствии со значениями, приведенными в таблице.

      Номинальное напряжение

      Контакты для подключения диагностического прибора

      Положение переключателя

      Заданные условия

      A36-14 (SP1) - масса

      Питание включено (IG)

      11—14 В

    Результат

    Перейти к

    OK

    НЕ СООТВ.

    НЕ СООТВ.

    ПРОВЕРЬТЕ ЖГУТ ПРОВОДОВ И РАЗЪЕМ (ЩИТОК ПРИБОРОВ - БЛОК УПРАВЛЕНИЯ РАБОЧИМИ ЦИЛИНДРАМИ ТОРМОЗОВ (ЭБУ СИСТЕМЫ ПРОТИВОСКОЛЬЖЕНИЯ))Щелкните по следующей ссылке

    СООТВ
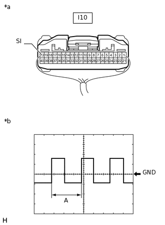
  8. ПРОВЕРЬТЕ ЩИТОК ПРИБОРОВ В СБОРЕ (ФОРМУ ВХОДНОГО СИГНАЛА)

    1. E200403C08

      *a

      Устройство с подсоединенным жгутом проводов

      (щиток приборов в сборе)

      *b

      Осциллограмма

      Снимите щиток приборов в сборе, не отсоединяя его разъем(ы).

    2. Подключите осциллограф к контакту I10-20 (SI) и массе.

    3. Проверьте форму сигнала в соответствии с условиями, указанными в таблице ниже.

      Table 1. Условия измерений

      Параметр / Устройство

      Условие

      Подключение диагностического прибора

      I10-20 (SI) - масса

      Настройки прибора

      5 В / дел., 20 мс / дел.

      Состояние автомобиля

      Движение со скоростью приблизительно 20 км/час (12 миль в час)

      Tip:

      Когда система функционирует нормально, за один оборот колеса формируется 4 импульса. По мере увеличения скорости автомобиля период A, отмеченный на рисунке, уменьшается.

      OK

      Форма сигнала соответствует показанной на рисунке.

    Result

    Перейти к

    OK

    НЕ СООТВ.

    OK

    ЗАМЕНИТЕ ЩИТОК ПРИБОРОВ В СБОРЕ

    NG

    ЗАМЕНИТЕ БЛОК УПРАВЛЕНИЯ РАБОЧИМИ ЦИЛИНДРАМИ ТОРМОЗОВ (ЭБУ СИСТЕМЫ ПРОТИВОСКОЛЬЖЕНИЯ)

  9. ПРОВЕРЬТЕ ЖГУТ ПРОВОДОВ И РАЗЪЕМ (ЩИТОК ПРИБОРОВ В СБОРЕ - КОМПОНЕНТНЫЙ СТЕРЕОУСИЛИТЕЛЬ В СБОРЕ)

    • *1: кроме моделей с 8 динамиками

      *2: для моделей с 8 динамиками

      *3: для моделей с компонентным стереоусилителем

      *4: для моделей с датчиком дождя

      *5: для моделей с системой обработки и передачи информации

    1. Отсоедините разъем щитка приборов.

    2. Отсоедините разъем I38*1 или I121*2 радиоприемника в сборе.

    3. Отсоедините разъем Р22*1 или Р33*2 компонентного стереоусилителя в сборе.*3

    4. Отсоедините разъем I53 ЭБУ сертификации (ЭБУ электронного ключа зажигания в сборе).

    5. Отсоедините разъем A35 ECM.

    6. Отсоедините разъем I56 реле стеклоочистителя ветрового стекла в сборе.*4

    7. Отсоедините разъем I40 приемопередатчика системы обработки и передачи информации.*5

    8. Измерьте сопротивление в соответствии со значениями, приведенными в таблице ниже.

      Номинальное сопротивление

      Table 2. кроме моделей с 8 динамиками

      Подключение диагностического прибора

      Условие

      Номинальное значение

      I10-19 (+S) - P22-17 (SPD)

      Всегда

      Менее 1 Ом

      I10-19 (+S) или P22-17 (SPD) - масса

      Всегда

      10 кОм или более

      Table 3. Для моделей с 8 динамиками

      Подключение диагностического прибора

      Условие

      Номинальное значение

      I10-19 (+S) - P33-11 (SPD)

      Всегда

      Менее 1 Ом

      I10-19 (+S) или P33-11 (SPD) - масса

      Всегда

      10 кОм или более

    Результат

    Перейти к

    OK

    НЕ СООТВ.

    OK

    ЗАМЕНИТЕ КОМПОНЕНТНЫЙ СТЕРЕОУСИЛИТЕЛЬ В СБОРЕ

    NG

    ОТРЕМОНТИРУЙТЕ ИЛИ ЗАМЕНИТЕ ЖГУТ ПРОВОДОВ ИЛИ РАЗЪЕМ

  10. ПРОВЕРЬТЕ ЖГУТ ПРОВОДОВ И РАЗЪЕМ (ЩИТОК ПРИБОРОВ - РЕЛЕ СТЕКЛООЧИСТИТЕЛЯ ВЕТРОВОГО СТЕКЛА В СБОРЕ)

    • *1: кроме моделей с 8 динамиками

      *2: для моделей с 8 динамиками

      *3: для моделей с компонентным стереоусилителем

      *4: для моделей с датчиком дождя

      *5: для моделей с системой обработки и передачи информации

    1. Отсоедините разъем щитка приборов.

    2. Отсоедините разъем I38*1 или I121*2 радиоприемника в сборе.

    3. Отсоедините разъем Р22*1 или Р33*2 компонентного стереоусилителя в сборе.*3

    4. Отсоедините разъем I53 ЭБУ сертификации (ЭБУ электронного ключа зажигания в сборе).

    5. Отсоедините разъем A35 ECM.

    6. Отсоедините разъем I56 реле стеклоочистителя ветрового стекла в сборе.*4

    7. Отсоедините разъем I40 приемопередатчика системы обработки и передачи информации.*5

    8. Измерьте сопротивление в соответствии со значениями, приведенными в таблице ниже.

      Номинальное сопротивление

      Подключение диагностического прибора

      Условие

      Номинальное значение

      I10-19 (+S) - I56-24 (SPD)

      Всегда

      Менее 1 Ом

      I10-19 (+S) или I56-24 (SPD) - масса

      Всегда

      10 кОм или более

    Результат

    Перейти к

    OK

    НЕ СООТВ.

    OK

    ЗАМЕНИТЕ РЕЛЕ СТЕКЛООЧИСТИТЕЛЯ ВЕТРОВОГО СТЕКЛА

    NG

    ОТРЕМОНТИРУЙТЕ ИЛИ ЗАМЕНИТЕ ЖГУТ ПРОВОДОВ ИЛИ РАЗЪЕМ

  11. ПРОВЕРЬТЕ ЖГУТ ПРОВОДОВ И РАЗЪЕМ (ЩИТОК ПРИБОРОВ - ПРИЕМОПЕРЕДАТЧИК СИСТЕМЫ ОБРАБОТКИ И ПЕРЕДАЧИ ИНФОРМАЦИИ)

    • *1: кроме моделей с 8 динамиками

      *2: для моделей с 8 динамиками

      *3: для моделей с компонентным стереоусилителем

      *4: для моделей с датчиком дождя

    1. Отсоедините разъем щитка приборов.

    2. Отсоедините разъем I38*1 или I121*2 радиоприемника в сборе.

    3. Отсоедините разъем Р22*1 или Р33*2 компонентного стереоусилителя в сборе.*3

    4. Отсоедините разъем I53 ЭБУ сертификации (ЭБУ электронного ключа зажигания в сборе).

    5. Отсоедините разъем A35 ECM.

    6. Отсоедините разъем I56 реле стеклоочистителя ветрового стекла в сборе.*4

    7. Отсоедините разъем I40 приемопередатчика системы обработки и передачи информации.

    8. Измерьте сопротивление в соответствии со значениями, приведенными в таблице ниже.

      Номинальное сопротивление

      Подключение диагностического прибора

      Условие

      Заданные условия

      I10-19 (+S) - I40-10 (SPDP)

      Всегда

      Менее 1 Ом

      I10-19 (+S) или I40-10 (SPDP) - масса

      Всегда

      10 кОм или более

    Результат

    Перейти к

    OK

    НЕ СООТВ.

    OK

    ЗАМЕНИТЕ ПРИЕМОПЕРЕДАТЧИК СИСТЕМЫ ОБРАБОТКИ И ПЕРЕДАЧИ ИНФОРМАЦИИ

    NG

    ОТРЕМОНТИРУЙТЕ ИЛИ ЗАМЕНИТЕ ЖГУТ ПРОВОДОВ ИЛИ РАЗЪЕМ

  12. ПРОВЕРЬТЕ ЖГУТ ПРОВОДОВ И РАЗЪЕМ (ЩИТОК ПРИБОРОВ В СБОРЕ – БЛОК УПРАВЛЕНИЯ РАБОЧИМИ ЦИЛИНДРАМИ ТОРМОЗОВ В СБОРЕ [ЭБУ СИСТЕМЫ ПРОТИВОСКОЛЬЖЕНИЯ])

    1. Отсоедините разъем I10 щитка приборов в сборе.

    2. Отсоедините разъем A36 блока управления рабочими цилиндрами тормозов (ЭБУ системы противоскольжения).

    3. Измерьте сопротивление в соответствии со значениями, приведенными в таблице ниже.

      Номинальное сопротивление

      Подключение диагностического прибора

      Условие

      Заданные условия

      I10-20 (SI) - A36-14 (SP1)

      Всегда

      Менее 1 Ом

      I10-20 (SI) или A36-14 (SP1) - масса

      Всегда

      10 кОм или более

    Результат

    Перейти к

    OK

    НЕ СООТВ.

    OK

    ЗАМЕНИТЕ ЩИТОК ПРИБОРОВ В СБОРЕ

    NG

    ОТРЕМОНТИРУЙТЕ ИЛИ ЗАМЕНИТЕ ЖГУТ ПРОВОДОВ ИЛИ РАЗЪЕМ

  13. ПРОВЕРЬТЕ ЖГУТ ПРОВОДОВ И РАЗЪЕМ (ЩИТОК ПРИБОРОВ В СБОРЕ – ЭБУ СЕРТИФИКАЦИИ [ЭБУ ЭЛЕКТРОННОГО КЛЮЧА ЗАЖИГАНИЯ В СБОРЕ])

    • *1: кроме моделей с 8 динамиками

      *2: для моделей с 8 динамиками

      *3: для моделей с компонентным стереоусилителем

      *4: для моделей с датчиком дождя

      *5: для моделей с системой обработки и передачи информации

    1. Отсоедините разъем щитка приборов.

    2. Отсоедините разъем I38*1 или I121*2 радиоприемника в сборе.

    3. Отсоедините разъем Р22*1 или Р33*2 компонентного стереоусилителя в сборе.*3

    4. Отсоедините разъем I53 ЭБУ сертификации (ЭБУ электронного ключа зажигания в сборе).

    5. Отсоедините разъем A35 ECM.

    6. Отсоедините разъем I56 реле стеклоочистителя ветрового стекла в сборе.*4

    7. Отсоедините разъем I40 приемопередатчика системы обработки и передачи информации.*5

    8. Измерьте сопротивление в соответствии со значениями, приведенными в таблице ниже.

      Номинальное сопротивление

      Подключение диагностического прибора

      Условие

      Заданные условия

      I10-19 (+S) - I53-5 (SPD)

      Всегда

      Менее 1 Ом

      I10-19 (+S) или I53-5 (SPD) - масса

      Всегда

      10 кОм или более

    Результат

    Перейти к

    OK

    НЕ СООТВ.

    OK

    ЗАМЕНИТЕ ЭБУ СЕРТИФИКАЦИИ (ЭБУ ЭЛЕКТРОННОГО КЛЮЧА ЗАЖИГАНИЯ В СБОРЕ)

    NG

    ОТРЕМОНТИРУЙТЕ ИЛИ ЗАМЕНИТЕ ЖГУТ ПРОВОДОВ ИЛИ РАЗЪЕМ

  14. ПРОВЕРЬТЕ ЖГУТ ПРОВОДОВ И РАЗЪЕМ (ЩИТОК ПРИБОРОВ В СБОРЕ – ЕСМ)

    • *1: кроме моделей с 8 динамиками

      *2: для моделей с 8 динамиками

      *3: для моделей с компонентным стереоусилителем

      *4: для моделей с датчиком дождя

      *5: для моделей с системой обработки и передачи информации

    1. Отсоедините разъем щитка приборов.

    2. Отсоедините разъем I38*1 или I121*2 радиоприемника в сборе.

    3. Отсоедините разъем Р22*1 или Р33*2 компонентного стереоусилителя в сборе.*3

    4. Отсоедините разъем I53 ЭБУ сертификации (ЭБУ электронного ключа зажигания в сборе).

    5. Отсоедините разъем A35 ECM.

    6. Отсоедините разъем I56 реле стеклоочистителя ветрового стекла в сборе.*4

    7. Отсоедините разъем I40 приемопередатчика системы обработки и передачи информации.*5

    8. Измерьте сопротивление в соответствии со значениями, приведенными в таблице ниже.

      Номинальное сопротивление

      Подключение диагностического прибора

      Условие

      Заданные условия

      I10-19 (+S) - A35-44 (SPD)

      Всегда

      Менее 1 Ом

      I10-19 (+S) или A35-44 (SPD) - масса

      Всегда

      10 кОм или более

    Result

    Result

    Следующий шаг

    OK (для моделей с 8AR-FTS)

    А

    OK (для моделей с 3ZR-FAE)

    B

    NG

    C

    A

    ЗАМЕНИТЕ ECM

    C

    ОТРЕМОНТИРУЙТЕ ИЛИ ЗАМЕНИТЕ ЖГУТ ПРОВОДОВ ИЛИ РАЗЪЕМ

  15. ПРОВЕРЬТЕ ЖГУТ ПРОВОДОВ И РАЗЪЕМ (ЩИТОК ПРИБОРОВ В СБОРЕ - РАДИОПРИЕМНИК В СБОРЕ)

    • *1: кроме моделей с 8 динамиками

      *2: для моделей с 8 динамиками

      *3: для моделей с компонентным стереоусилителем

      *4: для моделей с датчиком дождя

      *5: для моделей с системой обработки и передачи информации

    1. Отсоедините разъем щитка приборов.

    2. Отсоедините разъем I38*1 или I121*2 радиоприемника в сборе.

    3. Отсоедините разъем Р22*1 или Р33*2 компонентного стереоусилителя в сборе.*3

    4. Отсоедините разъем I53 ЭБУ сертификации (ЭБУ электронного ключа зажигания в сборе).

    5. Отсоедините разъем A35 ECM.

    6. Отсоедините разъем I56 реле стеклоочистителя ветрового стекла в сборе.*4

    7. Отсоедините разъем I40 приемопередатчика системы обработки и передачи информации.*5

    8. Измерьте сопротивление в соответствии со значениями, приведенными в таблице ниже.

      Номинальное сопротивление

      Table 4. кроме моделей с 8 динамиками

      Подключение диагностического прибора

      Условие

      Номинальное значение

      I10-19 (+S) - I38-56 (SPD)

      Всегда

      Менее 1 Ом

      I10-19 (+S) или I38-56 (SPD) - масса

      Всегда

      10 кОм или более

      Table 5. Для моделей с 8 динамиками

      Подключение диагностического прибора

      Условие

      Заданные условия

      I10-19 (+S) - I121-17 (SPD)

      Всегда

      Менее 1 Ом

      I10-19 (+S) или I121-17 (SPD) - масса

      Всегда

      10 кОм или более

    Результат

    Перейти к

    OK

    НЕ СООТВ.

    OK

    ЗАМЕНИТЕ РАДИОПРИЕМНИК В СБОРЕ

    NG

    ОТРЕМОНТИРУЙТЕ ИЛИ ЗАМЕНИТЕ ЖГУТ ПРОВОДОВ ИЛИ РАЗЪЕМ