СИСТЕМА УПРАВЛЕНИЯ ГИБРИДНОЙ СИСТЕМОЙ Цепь режима "Sport" переключателя выбора режима

Код DTC Наименование DTC
Цепь режима "Sport" переключателя выбора режима

ОПИСАНИЕ

Когда выбирается режим SPORT, сигнал состояния переключателя передается в ЭБУ гибридной системы. В результате крутящий момент начинает регулироваться оптимальным образом, чтобы обеспечить ощущение спортивной езды при разгоне автомобиля водителем.

СХЕМА СОЕДИНЕНИЙ

A305990E09

ПОРЯДОК ВЫПОЛНЕНИЯ

  1. СНИМИТЕ ПОКАЗАНИЯ GTS (ПРОВЕРКА ШИНЫ CAN)

    Нажмите здесьClick here

    Result

    Result

    Перейдите к

    Отображаются все ЭБУ и датчики, подключенные к системе передачи данных CAN на текущий момент времени.

    А

    Не отображается ни один из ЭБУ и датчиков, которые подключены к системе передачи данных CAN, либо отображаются лишь некоторые из них.

    Б

    B

    ПЕРЕЙДИТЕ К РАЗДЕЛУ "СИСТЕМА ПЕРЕДАЧИ ДАННЫХ CAN"

    Нажмите здесьClick here

    A
  2. ПРОВЕРЬТЕ, ВЫВОДЯТСЯ ЛИ DTC (HEALTH CHECK)

    Нажмите здесьClick here

    Результат

    Перейдите к

    Коды DTC не выводятся.

    Выводятся коды DTC.

    Выданы коды DTC.

    ПЕРЕЙДИТЕ К ТАБЛИЦЕ DTC

    Коды DTC не выводятся.
  3. СНИМИТЕ ПОКАЗАНИЯ GTS (ПЕРЕКЛЮЧАТЕЛЬ ВЫБОРА РЕЖИМА (PWR/M))

    1. Подключите GTS к DLC3.

    2. Включите питание (IG).

    3. Войдите в следующие меню: Powertrain / Hybrid Control / Data List / Pattern Switch (PWR/M).

      Powertrain > Hybrid Control > Data List

      Информация на дисплее прибора

      Pattern Switch (PWR/M)

    4. Считайте значение, отображаемое на GTS.

      Powertrain > Hybrid Control > Data List

      Информация на дисплее прибора

      Измеряемая величина

      Диапазон

      Нормальное состояние

      Pattern Switch (PWR/M)

      Возможность перехода в режим SPORT

      ON (ВКЛ) или OFF (ВЫКЛ)

      В режиме SPORT: ON (ВКЛ)

      Не в режиме SPORT: OFF (ВЫКЛ)

      Result

      Result

      Перейдите к

      Данные на экране GTS изменяются в соответствии с положением переключателя выбора режима движения (комбинированного переключателя в сборе).

      A

      Данные на экране GTS не изменяются в соответствии с положением переключателя выбора режима движения (комбинированного переключателя в сборе).

      B

    5. Выключите питание.

    A

    ПРОВЕРЬТЕ, НЕТ ЛИ ЭПИЗОДИЧЕСКИХ НЕИСПРАВНОСТЕЙ

    Нажмите здесьClick here

    B
  4. ПРОВЕРЬТЕ ПЕРЕКЛЮЧАТЕЛЬ ВЫБОРА РЕЖИМА ПРИВОДА (КОМБИНИРОВАННЫЙ ПЕРЕКЛЮЧАТЕЛЬ В СБОРЕ)

    1. Снимите переключатель выбора режима движения (комбинированный переключатель в сборе).

      Нажмите здесьClick here

    2. C305912C55

      *a

      Устройство с неподсоединенным жгутом проводов

      (Переключатель выбора режима привода (комбинированный переключатель в сборе))

      Измерьте сопротивление в соответствии со значениями, приведенными в таблице ниже.

      Номинальное сопротивление

      Подключение диагностического прибора

      Условие

      Заданные условия

      J35-7 (P) - J35-1 (GND)

      Переключатель выбора режима движения (комбинированный переключатель в сборе) повернут и удерживается в положении SPORT

      Менее 10 Ом

      Переключатель выбора режима движения (комбинированный переключатель в сборе) не повернут

      10 кОм или более

      J35-8 (B) - J35-1 (GND)

      Переключатель выбора режима движения (комбинированный переключатель в сборе) нажат и удерживается

      Менее 10 Ом

      Переключатель выбора режима движения (комбинированный переключатель в сборе) не нажат

      10 кОм или более

    3. Установите переключатель выбора режима движения (комбинированный переключатель в сборе).

    Результат

    Перейти к

    OK

    НЕ СООТВ.

    НЕ СООТВ.

    ЗАМЕНИТЕ ПЕРЕКЛЮЧАТЕЛЬ ВЫБОРА РЕЖИМА ПРИВОДА (КОМБИНИРОВАННЫЙ ПЕРЕКЛЮЧАТЕЛЬ В СБОРЕ)

    Нажмите здесьClick here

    СООТВ
  5. ПРОВЕРЬТЕ ЖГУТ ПРОВОДОВ И РАЗЪЕМ (КОМБИНИРОВАННЫЙ ПЕРЕКЛЮЧАТЕЛЬ В СБОРЕ – МАССА)

    1. Отсоедините разъем J35 переключателя выбора режима вождения (комбинированного переключателя в сборе).

    2. C339643C08

      *a

      Вид спереди разъема со стороны жгута проводов:

      (к переключателю выбора режима движения (комбинированному переключателю в сборе))

      Измерьте сопротивление в соответствии со значениями, приведенными в таблице ниже.

      Номинальное сопротивление

      Подключение диагностического прибора

      Условие

      Заданные условия

      J35-1 (GND) - масса

      Всегда

      Менее 1 Ом

    3. Подсоедините разъем J35 переключателя выбора режима вождения (комбинированного переключателя в сборе).

    Результат

    Перейти к

    OK

    НЕ СООТВ.

    НЕ СООТВ.

    ОТРЕМОНТИРУЙТЕ ИЛИ ЗАМЕНИТЕ ЖГУТ ПРОВОДОВ ИЛИ РАЗЪЕМ

    СООТВ
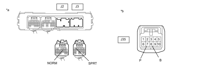
  6. ПРОВЕРЬТЕ ЖГУТ ПРОВОДОВ И РАЗЪЕМ (ЭБУ ГИБРИДНОЙ СИСТЕМЫ - ПЕРЕКЛЮЧАТЕЛЬ ВЫБОРА РЕЖИМА ДВИЖЕНИЯ (КОМБИНИРОВАННЫЙ ПЕРЕКЛЮЧАТЕЛЬ В СБОРЕ))

    1. Отсоедините разъемы J2 и J3 ЭБУ гибридной системы.

    2. Отсоедините разъем J35 переключателя выбора режима движения (комбинированного переключателя в сборе).

    3. Измерьте сопротивление в соответствии со значениями, приведенными в таблице ниже.

      A373466C02

      *a

      Вид сзади разъема со стороны жгута проводов

      (к ЭБУ гибридной системы в сборе)

      *b

      Вид спереди разъема со стороны жгута проводов:

      (Переключатель выбора режима привода (комбинированный переключатель в сборе))

      Номинальное сопротивление

      Подключение диагностического прибора

      Условие

      Заданные условия

      J3-6 (SPRT) - J35-7 (P)

      Всегда

      Менее 1 Ом

      J3-6 (SPRT) или J35-7 (P) - масса

      Всегда

      10 кОм или более

      J2-10 (NORM) - J35-8 (B)

      Всегда

      Менее 1 Ом

      J2-10 (NORM) или J35-8 (B) - масса

      Всегда

      10 кОм или более

    4. Подсоедините разъем J35 переключателя выбора режима движения (комбинированного переключателя в сборе).

    5. Подсоедините разъемы J2 и J3 ЭБУ гибридной системы.

    Результат

    Перейти к

    OK

    НЕ СООТВ.

    OK

    ЗАМЕНИТЕ ЭБУ ГИБРИДНОЙ СИСТЕМЫ В СБОРЕ

    Нажмите здесьClick hereClick hereClick here

    NG

    ОТРЕМОНТИРУЙТЕ ИЛИ ЗАМЕНИТЕ ЖГУТ ПРОВОДОВ ИЛИ РАЗЪЕМ