СИСТЕМА ПОДУШЕК БЕЗОПАСНОСТИ SRS, диагностические DTC: B1632/81, B1633/81, B1642/81, B1643/81, B166D/81 и B166E/81

Код DTC Наименование DTC
B1632/81 Нарушение связи с правым задним датчиком системы SRS
B1633/81 Не завершена инициализация правого заднего датчика системы SRS
B1642/81 Нарушение связи с шиной правого бокового вспомогательного датчика
B1643/81 Не завершена инициализация шины правого бокового вспомогательного датчика
B166D/81 Нарушение связи с датчиком давления правой передней двери
B166E/81 Не завершена инициализация правого датчика давления передней двери

ОПИСАНИЕ

Цепь правого бокового датчика системы SRS (шина 1) включает в себя ЭБУ системы SRS в сборе, датчик системы SRS со стороны правой двери и правый задний датчик системы SRS.

Датчик системы SRS со стороны правой двери и правый задний датчик системы SRS обнаруживают удар автомобиля при столкновении и посылают сигналы в центральный блок управления системы SRS, который определяет необходимость активации подушек безопасности, преднатяжителей и регулируемого ограничителя усилия.

Эти коды DTC регистрируются при обнаружении неисправности в цепи правого бокового датчика системы SRS (шина 1).

№ DTC

Неисправность

Условие обнаружения DTC

Неисправный участок

Режим диагностики / режим проверки

B1632/81

Нарушение связи с правым задним датчиком системы SRS

  • ЭБУ системы SRS в сборе обнаруживает сигнал короткого замыкания в линии, короткого замыкания на массу или B+, или обрыва в цепи правого бокового датчика системы SRS (шина 1).

  • Неисправность правого бокового дверного датчика системы SRS

  • Неисправность правого заднего датчика системы SRS

  • Неисправность блока управления системы SRS

  • Напольный провод

  • Жгут проводов правой передней двери

  • Боковой датчик системы SRS в правой двери

  • Правый задний датчик системы SRS

  • Блок управления системы SRS

Не относится к режиму диагностики/проверки

B1633/81

Не завершена инициализация правого заднего датчика системы SRS

  • ЭБУ системы SRS в сборе обнаруживает сигнал короткого замыкания в линии, короткого замыкания на массу или B+, или обрыва в цепи правого бокового датчика системы SRS (шина 1).

  • Неисправность правого бокового дверного датчика системы SRS

  • Неисправность правого заднего датчика системы SRS

  • Неисправность блока управления системы SRS

  • Напольный провод

  • Жгут проводов правой передней двери

  • Боковой датчик системы SRS в правой двери

  • Правый задний датчик системы SRS

  • Блок управления системы SRS

Не относится к режиму диагностики/проверки

B1642/81

Нарушение связи с шиной правого бокового вспомогательного датчика

  • ЭБУ системы SRS в сборе обнаруживает сигнал короткого замыкания в линии, короткого замыкания на массу или B+, или обрыва в цепи правого бокового датчика системы SRS (шина 1).

  • Неисправность правого бокового дверного датчика системы SRS

  • Неисправность правого заднего датчика системы SRS

  • Неисправность блока управления системы SRS

  • Напольный провод

  • Жгут проводов правой передней двери

  • Боковой датчик системы SRS в правой двери

  • Правый задний датчик системы SRS

  • Блок управления системы SRS

Не относится к режиму диагностики/проверки

B1643/81

Не завершена инициализация шины правого бокового вспомогательного датчика

  • ЭБУ системы SRS в сборе обнаруживает сигнал короткого замыкания в линии, короткого замыкания на массу или B+, или обрыва в цепи правого бокового датчика системы SRS (шина 1).

  • Неисправность правого бокового дверного датчика системы SRS

  • Неисправность правого заднего датчика системы SRS

  • Неисправность блока управления системы SRS

  • Напольный провод

  • Жгут проводов правой передней двери

  • Боковой датчик системы SRS в правой двери

  • Правый задний датчик системы SRS

  • Блок управления системы SRS

Не относится к режиму диагностики/проверки

B166D/81

Нарушение связи с датчиком давления правой передней двери

  • ЭБУ системы SRS в сборе обнаруживает сигнал короткого замыкания в линии, короткого замыкания на массу или B+, или обрыва в цепи правого бокового датчика системы SRS (шина 1).

  • Неисправность правого бокового дверного датчика системы SRS

  • Неисправность правого заднего датчика системы SRS

  • Неисправность блока управления системы SRS

  • Напольный провод

  • Жгут проводов правой передней двери

  • Боковой датчик системы SRS в правой двери

  • Правый задний датчик системы SRS

  • Блок управления системы SRS

Не относится к режиму диагностики/проверки

B166E/81

Не завершена инициализация правого датчика давления передней двери

  • ЭБУ системы SRS в сборе обнаруживает сигнал короткого замыкания в линии, короткого замыкания на массу или B+, или обрыва в цепи правого бокового датчика системы SRS (шина 1).

  • Неисправность правого бокового дверного датчика системы SRS

  • Неисправность правого заднего датчика системы SRS

  • Неисправность блока управления системы SRS

  • Напольный провод

  • Жгут проводов правой передней двери

  • Боковой датчик системы SRS в правой двери

  • Правый задний датчик системы SRS

  • Блок управления системы SRS

Не относится к режиму диагностики/проверки

  • *: Для моделей с системой классификации пассажиров

СХЕМА ЭЛЕКТРИЧЕСКИХ СОЕДИНЕНИЙ

C262014E07

ПРЕДОСТЕРЕЖЕНИЕ / ПРИМЕЧАНИЕ / УКАЗАНИЕ

Note:

После выключения зажигания следует подождать некоторое время, прежде чем отсоединять провод от отрицательного (-) вывода аккумуляторной батареи. Поэтому, прежде чем приступать к этой работе, обязательно ознакомьтесь с примечанием относительно отсоединения провода от отрицательного (-) вывода аккумуляторной батареи.

Нажмите здесьClick hereClick here

ПОРЯДОК ВЫПОЛНЕНИЯ

  1. ПРОВЕРЬТЕ ТЕКУЩИЕ КОДЫ DTC

    1. Проверьте текущие DTC.

      Нажмите здесьClick here

      Body Electrical > SRS Airbag > Trouble Codes

      Tip:
      • При выключении и включении зажигания (с поворотом ключа в положение IG) коды DTC, указывающие на ошибки передачи данных, будут заменены на коды DTC, указывающие на ошибки инициализации.

      • На этом этапе могут выводиться коды, отличные от текущих DTC B1632, B1633, B1642, B1643, B166D, B166E и 81, однако они не связаны с данной проверкой.

    Результат

    Result

    Перейдите к

    Текущие DTC B1642, B1643 или 81 выводится.

    А

    Выводится текущий код DTC B1633.

    B

    Текущие DTC B166D или B166E выводится.

    C

    Выводится текущий код DTC B1632.

    D

    Текущие DTCs B1632, B1633, B1642, B1643, B166D, B166E и 81 не выводятся.

    E

    B

    ПРОВЕРЬТЕ АРХИВНЫЕ КОДЫ DTCClick here

    C

    ПРОВЕРЬТЕ РАЗЪЕМЫClick here

    D

    ПРОВЕРЬТЕ ПРАВЫЙ ЗАДНИЙ ДАТЧИК СИСТЕМЫ SRSClick here

    E

    ВЫПОЛНИТЕ ПРОВЕРКУ С ИМИТАЦИЕЙ УСЛОВИЙ ВОЗНИКНОВЕНИЯ НЕИСПРАВНОСТИ

    Нажмите здесьClick hereClick here

    A
  2. ПРОВЕРЬТЕ РАЗЪЕМЫ

    1. Выключите зажигание.

    2. Отсоедините провод от отрицательного (-) вывода аккумуляторной батареи.

      CAUTION:

      После отсоединения провода от отрицательного (-) вывода аккумуляторной батареи подождите не менее 90 с, чтобы предотвратить срабатывание системы SRS.

    3. Проверьте правильность подключения разъемов к ЭБУ системы SRS в сборе, датчику системы SRS со стороны правой двери и правому заднему датчику системы SRS. Кроме того, убедитесь в надежности подключения разъемов, соединяющих напольный провод и жгут проводов правой передней двери.

      OK

      Разъемы подсоединены должным образом.

      Tip:

      Если разъемы подсоединены ненадежно, подсоедините их и перейдите к следующей проверке.

    4. Отсоедините разъемы от ЭБУ системы SRS в сборе, датчика системы SRS со стороны правой двери и правого заднего датчика системы SRS. Отсоедините разъемы, соединяющие напольный провод и жгут проводов правой передней двери.

    5. Убедитесь, что контакты разъемов не деформированы и не повреждены.

      OK

      Контакты не деформированы и не повреждены.

    Результат

    Перейти к

    OK

    НЕ СООТВ.

    НЕ СООТВ.

    ЗАМЕНИТЕ ЖГУТ ПРОВОДОВ

    СООТВ
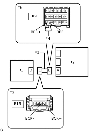
  3. ПРОВЕРЬТЕ НАПОЛЬНЫЙ ПРОВОД (ОБРЫВ)

    1. C238391C16

      *1

      Правый задний датчик системы SRS

      *2

      Центральный блок управления системы SRS

      *3

      Напольный провод

      *4

      Технологический провод

      *a

      Вид спереди разъема со стороны жгута проводов:

      (блок управления системы SRS)

      *b

      Вид спереди разъема со стороны жгута проводов:

      (к правому заднему датчику системы SRS)

      С помощью технологического провода соедините контакты 17 (BBR+) и 18 (BBR-) разъема В.

      Note:

      Технологический провод следует вставлять в контакты разъема без усилия.

    2. Измерьте сопротивление в соответствии со значениями, приведенными в таблице ниже.

      Номинальное сопротивление

      Подключение диагностического прибора

      Условие

      Заданные условия

      R15-4 (BCR+) - R15-3 (BCR-)

      Всегда

      Менее 1 Ом

    3. Отсоедините технологический провод от разъема В.

    Результат

    Перейти к

    OK

    НЕ СООТВ.

    НЕ СООТВ.

    ЗАМЕНИТЕ НАПОЛЬНЫЙ ПРОВОД

    СООТВ
  4. ПРОВЕРЬТЕ НАПОЛЬНЫЙ ПРОВОД (КОРОТКОЕ ЗАМЫКАНИЕ)

    1. C238220C35

      *1

      Правый задний датчик системы SRS

      *2

      Центральный блок управления системы SRS

      *3

      Напольный провод

      *a

      Вид спереди разъема со стороны жгута проводов:

      (к правому заднему датчику системы SRS)

      Измерьте сопротивление в соответствии со значениями, приведенными в таблице ниже.

      Номинальное сопротивление

      Подключение диагностического прибора

      Условие

      Заданные условия

      R15-4 (BCR+) - R15-3 (BCR-)

      Всегда

      1 МОм или более

    Результат

    Перейти к

    OK

    НЕ СООТВ.

    НЕ СООТВ.

    ЗАМЕНИТЕ НАПОЛЬНЫЙ ПРОВОД

    СООТВ
  5. ПРОВЕРЬТЕ НАПОЛЬНЫЙ ПРОВОД (КОРОТКОЕ ЗАМЫКАНИЕ НА B+)

    1. C238220C35

      *1

      Правый задний датчик системы SRS

      *2

      Центральный блок управления системы SRS

      *3

      Напольный провод

      *a

      Вид спереди разъема со стороны жгута проводов:

      (к правому заднему датчику системы SRS)

      Подсоедините провод к отрицательному (-) выводу аккумуляторной батареи.

    2. Включите зажигание (IG).

    3. Измерьте напряжение в соответствии со значениями, приведенными в таблице.

      Номинальное напряжение

      Подключение диагностического прибора

      Условие

      Заданные условия

      R15-4 (BCR+) - масса

      Зажигание включено (IG)

      Менее 1 В

      R15-3 (BCR-) - масса

      Зажигание включено (IG)

      менее 1 В

    4. Выключите зажигание.

    5. Отсоедините провод от отрицательного (-) вывода аккумуляторной батареи.

      CAUTION:

      После отсоединения провода от отрицательного (-) вывода аккумуляторной батареи подождите не менее 90 с, чтобы предотвратить срабатывание системы SRS.

    Результат

    Перейти к

    OK

    НЕ СООТВ.

    НЕ СООТВ.

    ЗАМЕНИТЕ НАПОЛЬНЫЙ ПРОВОД

    СООТВ
  6. ПРОВЕРЬТЕ НАПОЛЬНЫЙ ПРОВОД (КОРОТКОЕ ЗАМЫКАНИЕ НА МАССУ)

    1. C238220C35

      *1

      Правый задний датчик системы SRS

      *2

      Центральный блок управления системы SRS

      *3

      Напольный провод

      *a

      Вид спереди разъема со стороны жгута проводов:

      (к правому заднему датчику системы SRS)

      Измерьте сопротивление в соответствии со значениями, приведенными в таблице ниже.

      Номинальное сопротивление

      Подключение диагностического прибора

      Условие

      Заданные условия

      R15-4 (BCR+) - масса

      Всегда

      1 МОм или более

      R15-3 (BCR-) - масса

      Всегда

      1 МОм или более

    Результат

    Перейти к

    OK

    НЕ СООТВ.

    НЕ СООТВ.

    ЗАМЕНИТЕ НАПОЛЬНЫЙ ПРОВОД

    СООТВ
  7. ПРОВЕРЬТЕ ЖГУТ ПРОВОДОВ (НА ОБРЫВ)

    1. C295812C04

      *1

      Боковой датчик системы SRS в правой двери

      *2

      Правый задний датчик системы SRS

      *3

      Технологический провод

      *a

      Вид спереди разъема со стороны жгута проводов:

      (к правому заднему датчику системы SRS)

      *b

      Вид спереди разъема со стороны жгута проводов:

      (к правому дверному боковому датчику системы SRS)

      Подсоедините разъемы, соединяющие напольный провод и жгут проводов правой передней двери.

    2. С помощью технологического провода соедините контакты 2 (BDR+) и 1 (BDR-) разъема "Е".

      Note:

      Технологический провод следует вставлять в контакты разъема без усилия.

    3. Измерьте сопротивление в соответствии со значениями, приведенными в таблице ниже.

      Номинальное сопротивление

      Подключение диагностического прибора

      Условие

      Заданные условия

      R15-1 (BDR+) - R15-2 (BDR-)

      Всегда

      Менее 1 Ом

    4. Отсоедините технологический провод от разъема E.

    Результат

    Перейти к

    OK

    НЕ СООТВ.

    НЕ СООТВ.

    ПРОВЕРЬТЕ НАПОЛЬНЫЙ ПРОВОД (ОБРЫВ)Click here

    СООТВ
  8. ПРОВЕРЬТЕ ЖГУТ ПРОВОДОВ (НА КОРОТКОЕ ЗАМЫКАНИЕ)

    1. C295813C07

      *1

      Боковой датчик системы SRS в правой двери

      *2

      Правый задний датчик системы SRS

      *a

      Вид спереди разъема со стороны жгута проводов:

      (к правому заднему датчику системы SRS)

      Измерьте сопротивление в соответствии со значениями, приведенными в таблице ниже.

      Номинальное сопротивление

      Подключение диагностического прибора

      Условие

      Заданные условия

      R15-1 (BDR+) - R15-2 (BDR-)

      Всегда

      1 МОм или более

    Результат

    Перейти к

    OK

    НЕ СООТВ.

    НЕ СООТВ.

    ПРОВЕРЬТЕ НАПОЛЬНЫЙ ПРОВОД (КОРОТКОЕ ЗАМЫКАНИЕ)Click here

    СООТВ
  9. ПРОВЕРЬТЕ ЖГУТ ПРОВОДОВ (НА КОРОТКОЕ ЗАМЫКАНИЕ НА B+)

    1. C295813C07

      *1

      Боковой датчик системы SRS в правой двери

      *2

      Правый задний датчик системы SRS

      *a

      Вид спереди разъема со стороны жгута проводов:

      (к правому заднему датчику системы SRS)

      Подсоедините провод к отрицательному (-) выводу аккумуляторной батареи.

    2. Включите зажигание (IG).

    3. Измерьте напряжение в соответствии со значениями, приведенными в таблице.

      Номинальное напряжение

      Подключение диагностического прибора

      Условие

      Заданные условия

      R15-1 (BDR+) - масса

      Зажигание включено (IG)

      Менее 1 В

      R15-2 (BDR-) - масса

      Зажигание включено (IG)

      менее 1 В

    4. Выключите зажигание.

    5. Отсоедините провод от отрицательного (-) вывода аккумуляторной батареи.

      CAUTION:

      После отсоединения провода от отрицательного (-) вывода аккумуляторной батареи подождите не менее 90 с, чтобы предотвратить срабатывание системы SRS.

    Результат

    Перейти к

    OK

    НЕ СООТВ.

    НЕ СООТВ.

    ПРОВЕРЬТЕ НАПОЛЬНЫЙ ПРОВОД (КОРОТКОЕ ЗАМЫКАНИЕ НА B+)Click here

    СООТВ
  10. ПРОВЕРЬТЕ ЖГУТ ПРОВОДОВ (НА КОРОТКОЕ ЗАМЫКАНИЕ НА МАССУ)

    1. C295813C07

      *1

      Боковой датчик системы SRS в правой двери

      *2

      Правый задний датчик системы SRS

      *a

      Вид спереди разъема со стороны жгута проводов:

      (к правому заднему датчику системы SRS)

      Измерьте сопротивление в соответствии со значениями, приведенными в таблице ниже.

      Номинальное сопротивление

      Подключение диагностического прибора

      Условие

      Заданные условия

      R15-1 (BDR+) - масса

      Всегда

      1 МОм или более

      R15-2 (BDR-) - масса

      Всегда

      1 МОм или более

    Результат

    Перейти к

    OK

    НЕ СООТВ.

    НЕ СООТВ.

    ПРОВЕРЬТЕ НАПОЛЬНЫЙ ПРОВОД (КОРОТКОЕ ЗАМЫКАНИЕ НА МАССУ)Click here

    СООТВ
  11. ПРОВЕРЬТЕ ПРАВЫЙ ЗАДНИЙ ДАТЧИК СИСТЕМЫ SRS

    1. C238218C02

      *1

      Левый задний датчик системы SRS

      *2

      Блок управления системы SRS

      Подсоедините разъемы к датчику системы SRS со стороны правой двери и ЭБУ системы SRS в сборе.

    2. Поменяйте местами правый и левый задние датчики системы SRS в сборе и подсоедините к ним разъемы.

    3. Подсоедините провод к отрицательному (-) выводу аккумуляторной батареи.

    4. Удалите коды DTC, сохраненные в памяти.

      Нажмите здесьClick here

      Body Electrical > SRS Airbag > Clear DTCs

    5. Выключите зажигание.

    6. Включите зажигание (IG) и подождите не менее 60 с.

    7. Проверьте наличие кодов DTC.

      Нажмите здесьClick here

      Body Electrical > SRS Airbag > Trouble Codes

      Tip:

      На этом этапе могут выводиться коды, отличные от кодов DTC B1642, B1643, B1647, B1648, 81 и 82, однако они не связаны с данной проверкой.

    8. Выключите питание.

    9. Отсоедините провод от отрицательного (-) вывода аккумуляторной батареи.

      CAUTION:

      После отсоединения провода от отрицательного (-) вывода аккумуляторной батареи подождите не менее 90 с, чтобы предотвратить срабатывание системы SRS.

    10. Установите на место левый и правый задние датчики системы SRS и подсоедините к ним разъемы.

    Результат

    Result

    Перейдите к

    Выводится код DTC B1642, B1643 или 81.

    А

    Выводится код DTC B1647, B1648 или 82.

    B

    Коды DTC B1642, B1643, B1647, B1648, 81 и 82 не выводятся.

    C

    B

    ЗАМЕНИТЕ ПРАВЫЙ ЗАДНИЙ ДАТЧИК СИСТЕМЫ SRS

    Нажмите здесьClick hereClick here

    C

    ВЫПОЛНИТЕ ПРОВЕРКУ С ИМИТАЦИЕЙ УСЛОВИЙ ВОЗНИКНОВЕНИЯ НЕИСПРАВНОСТИ

    Нажмите здесьClick hereClick here

    A
  12. ПРОВЕРЬТЕ БОКОВОЙ ДАТЧИК СИСТЕМЫ SRS СО СТОРОНЫ ПРАВОЙ ДВЕРИ

    1. C238395C02

      *1

      Боковой датчик системы SRS в левой двери

      *2

      Правый задний датчик системы SRS

      Поменяйте местами правый и левый дверные боковые датчики системы SRS и подсоедините к ним разъемы.

    2. Подсоедините провод к отрицательному (-) выводу аккумуляторной батареи.

    3. Удалите коды DTC, сохраненные в памяти.

      Нажмите здесьClick here

      Body Electrical > SRS Airbag > Clear DTCs

    4. Выключите зажигание.

    5. Включите зажигание (IG) и подождите не менее 60 с.

    6. Проверьте наличие кодов DTC.

      Нажмите здесьClick here

      Body Electrical > SRS Airbag > Trouble Codes

      Tip:

      На этом этапе могут выводиться коды, отличные от кодов DTC B1642, B1643, B1647, B1648, 81 и 82, однако они не связаны с данной проверкой.

    7. Выключите питание.

    8. Отсоедините провод от отрицательного (-) вывода аккумуляторной батареи.

      CAUTION:

      После отсоединения провода от отрицательного (-) вывода аккумуляторной батареи подождите не менее 90 с, чтобы предотвратить срабатывание системы SRS.

    9. Установите на место правый и левый дверные боковые датчики системы SRS и подсоедините к ним разъемы.

    Результат

    Result

    Перейдите к

    Выводится код DTC B1642, B1643 или 81.

    А

    Выводится код DTC B1647, B1648 или 82.

    B

    Коды DTC B1642, B1643, B1647, B1648, 81 и 82 не выводятся.

    C

    A

    ЗАМЕНИТЕ ЦЕНТРАЛЬНЫЙ БЛОК УПРАВЛЕНИЯ СИСТЕМЫ SRS

    Нажмите здесьClick hereClick here

    B

    ЗАМЕНИТЕ БОКОВОЙ ДАТЧИК СИСТЕМЫ SRS СО СТОРОНЫ ПРАВОЙ ДВЕРИ

    Нажмите здесьClick hereClick here

    C

    ВЫПОЛНИТЕ ПРОВЕРКУ С ИМИТАЦИЕЙ УСЛОВИЙ ВОЗНИКНОВЕНИЯ НЕИСПРАВНОСТИ

    Нажмите здесьClick hereClick here

  13. ПРОВЕРЬТЕ НАПОЛЬНЫЙ ПРОВОД (КОРОТКОЕ ЗАМЫКАНИЕ НА МАССУ)

    1. C284682C11

      *1

      Боковой датчик системы SRS в правой двери

      *2

      Правый задний датчик системы SRS

      *3

      Жгут проводов правой передней двери

      *4

      Напольный провод

      *a

      Вид спереди разъема со стороны жгута проводов:

      (к жгуту проводов правой передней двери)

      Отсоедините разъем напольного провода от жгута проводов правой передней двери.

    2. Измерьте сопротивление в соответствии со значениями, приведенными в таблице ниже.

      Номинальное сопротивление

      Подключение диагностического прибора

      Условие

      Заданные условия

      MR1-31 (BDR+) - масса

      Всегда

      1 МОм или более

      MR1-13 (BDR-) - масса

      Всегда

      1 МОм или более

    Результат

    Перейти к

    OK

    НЕ СООТВ.

    OK

    ЗАМЕНИТЕ ЖГУТ ПРОВОДОВ ПРАВОЙ ПЕРЕДНЕЙ ДВЕРИ

    NG

    ЗАМЕНИТЕ НАПОЛЬНЫЙ ПРОВОД

  14. ПРОВЕРЬТЕ НАПОЛЬНЫЙ ПРОВОД (КОРОТКОЕ ЗАМЫКАНИЕ НА B+)

    1. C284682C11

      *1

      Боковой датчик системы SRS в правой двери

      *2

      Правый задний датчик системы SRS

      *3

      Жгут проводов правой передней двери

      *4

      Напольный провод

      *a

      Вид спереди разъема со стороны жгута проводов:

      (к жгуту проводов правой передней двери)

      Отсоедините разъем напольного провода от жгута проводов правой передней двери.

    2. Подсоедините провод к отрицательному (-) выводу аккумуляторной батареи.

    3. Включите зажигание (IG).

    4. Измерьте напряжение в соответствии со значениями, приведенными в таблице.

      Номинальное напряжение

      Подключение диагностического прибора

      Условие

      Заданные условия

      MR1-31 (BDR+) - масса

      Зажигание включено (IG)

      Менее 1 В

      MR1-13 (BDR-) - масса

      Зажигание включено (IG)

      Менее 1 В

    Результат

    Перейти к

    OK

    НЕ СООТВ.

    OK

    ЗАМЕНИТЕ ЖГУТ ПРОВОДОВ ПРАВОЙ ПЕРЕДНЕЙ ДВЕРИ

    NG

    ЗАМЕНИТЕ НАПОЛЬНЫЙ ПРОВОД

  15. ПРОВЕРЬТЕ НАПОЛЬНЫЙ ПРОВОД (КОРОТКОЕ ЗАМЫКАНИЕ)

    1. C284682C11

      *1

      Боковой датчик системы SRS в правой двери

      *2

      Правый задний датчик системы SRS

      *3

      Жгут проводов правой передней двери

      *4

      Напольный провод

      *a

      Вид спереди разъема со стороны жгута проводов:

      (к жгуту проводов правой передней двери)

      Отсоедините разъем напольного провода от жгута проводов правой передней двери.

    2. Измерьте сопротивление в соответствии со значениями, приведенными в таблице ниже.

      Номинальное сопротивление

      Подключение диагностического прибора

      Условие

      Заданные условия

      MR1-31 (BDR+) - MR1-13 (BDR-)

      Всегда

      1 МОм или более

    Результат

    Перейти к

    OK

    НЕ СООТВ.

    OK

    ЗАМЕНИТЕ ЖГУТ ПРОВОДОВ ПРАВОЙ ПЕРЕДНЕЙ ДВЕРИ

    NG

    ЗАМЕНИТЕ НАПОЛЬНЫЙ ПРОВОД

  16. ПРОВЕРЬТЕ НАПОЛЬНЫЙ ПРОВОД (ОБРЫВ)

    1. C284681C09

      *1

      Боковой датчик системы SRS в правой двери

      *2

      Правый задний датчик системы SRS

      *3

      Жгут проводов правой передней двери

      *4

      Напольный провод

      *5

      Технологический провод

      *a

      Вид спереди разъема со стороны жгута проводов:

      (к правому заднему датчику системы SRS)

      *b

      Вид спереди разъема со стороны жгута проводов:

      (к жгуту проводов правой передней двери)

      Отсоедините разъем напольного провода от жгута проводов правой передней двери.

    2. С помощью технологического провода соедините контакты 1 (BDR+) и 2 (BDR-) разъема "В".

      Note:

      Технологический провод следует вставлять в контакты разъема без усилия.

    3. Измерьте сопротивление в соответствии со значениями, приведенными в таблице ниже.

      Номинальное сопротивление

      Подключение диагностического прибора

      Условие

      Заданные условия

      MR1-31 (BDR+) - MR1-13 (BDR-)

      Всегда

      Менее 1 Ом

    4. Отсоедините технологический провод от разъема В.

    Результат

    Перейти к

    OK

    НЕ СООТВ.

    OK

    ЗАМЕНИТЕ ЖГУТ ПРОВОДОВ ПРАВОЙ ПЕРЕДНЕЙ ДВЕРИ

    NG

    ЗАМЕНИТЕ НАПОЛЬНЫЙ ПРОВОД

  17. Проверьте архивные коды DTC

    1. Проверьте архивные DTC.

      Нажмите здесьClick here

      Body Electrical > SRS Airbag > Trouble Codes

      Tip:

      На этом этапе могут выводиться коды, отличные от предыдущего кода DTC B1632, однако они не связаны с данной проверкой.

    Result

    Result

    Перейдите к

    Предыдущий код DTC B1632 не выводится.

    А

    Выводится архивный код DTC B1632.

    B

    B

    ПРОВЕРЬТЕ ПРАВЫЙ ЗАДНИЙ ДАТЧИК СИСТЕМЫ SRSClick here

    A
  18. ПРОВЕРЬТЕ РАЗЪЕМЫ

    1. Выключите зажигание.

    2. Отсоедините провод от отрицательного (-) вывода аккумуляторной батареи.

      CAUTION:

      После отсоединения провода от отрицательного (-) вывода аккумуляторной батареи подождите не менее 90 с, чтобы предотвратить срабатывание системы SRS.

    3. Проверьте правильность подключения разъемов к ЭБУ системы SRS в сборе, датчику системы SRS со стороны правой двери и правому заднему датчику системы SRS. Кроме того, убедитесь в надежности подключения разъемов, соединяющих напольный провод и жгут проводов правой передней двери.

      OK

      Разъемы подсоединены должным образом.

      Tip:

      Если разъемы подсоединены ненадежно, подсоедините их и перейдите к следующей проверке.

    4. Отсоедините разъемы от ЭБУ системы SRS в сборе, датчика системы SRS со стороны правой двери и правого заднего датчика системы SRS. Отсоедините разъемы, соединяющие напольный провод и жгут проводов правой передней двери.

    5. Убедитесь, что контакты разъемов не деформированы и не повреждены.

      OK

      Контакты не деформированы и не повреждены.

    Результат

    Перейти к

    OK

    НЕ СООТВ.

    НЕ СООТВ.

    ЗАМЕНИТЕ НАПОЛЬНЫЙ ПРОВОД

    СООТВ
  19. ПРОВЕРЬТЕ НАПОЛЬНЫЙ ПРОВОД (ОБРЫВ)

    1. C238391C16

      *1

      Правый задний датчик системы SRS

      *2

      Центральный блок управления системы SRS

      *3

      Напольный провод

      *4

      Технологический провод

      *a

      Вид спереди разъема со стороны жгута проводов:

      (блок управления системы SRS)

      *b

      Вид спереди разъема со стороны жгута проводов:

      (к правому заднему датчику системы SRS)

      С помощью технологического провода соедините контакты 17 (BBR+) и 18 (BBR-) разъема В.

      Note:

      Технологический провод следует вставлять в контакты разъема без усилия.

    2. Измерьте сопротивление в соответствии со значениями, приведенными в таблице ниже.

      Номинальное сопротивление

      Подключение диагностического прибора

      Условие

      Заданные условия

      R15-4 (BCR+) - R15-3 (BCR-)

      Всегда

      Менее 1 Ом

    3. Отсоедините технологический провод от разъема В.

    Результат

    Перейти к

    OK

    НЕ СООТВ.

    НЕ СООТВ.

    ЗАМЕНИТЕ НАПОЛЬНЫЙ ПРОВОД

    СООТВ
  20. ПРОВЕРЬТЕ НАПОЛЬНЫЙ ПРОВОД (КОРОТКОЕ ЗАМЫКАНИЕ)

    1. C238220C35

      *1

      Правый задний датчик системы SRS

      *2

      Центральный блок управления системы SRS

      *3

      Напольный провод

      *a

      Вид спереди разъема со стороны жгута проводов:

      (к правому заднему датчику системы SRS)

      Измерьте сопротивление в соответствии со значениями, приведенными в таблице ниже.

      Номинальное сопротивление

      Подключение диагностического прибора

      Условие

      Заданные условия

      R15-4 (BCR+) - R15-3 (BCR-)

      Всегда

      1 МОм или более

    Результат

    Перейти к

    OK

    НЕ СООТВ.

    НЕ СООТВ.

    ЗАМЕНИТЕ НАПОЛЬНЫЙ ПРОВОД

    СООТВ
  21. ПРОВЕРЬТЕ НАПОЛЬНЫЙ ПРОВОД (КОРОТКОЕ ЗАМЫКАНИЕ НА B+)

    1. C238220C35

      *1

      Правый задний датчик системы SRS

      *2

      Центральный блок управления системы SRS

      *3

      Напольный провод

      *a

      Вид спереди разъема со стороны жгута проводов:

      (к правому заднему датчику системы SRS)

      Подсоедините провод к отрицательному (-) выводу аккумуляторной батареи.

    2. Включите зажигание (IG).

    3. Измерьте напряжение в соответствии со значениями, приведенными в таблице.

      Номинальное напряжение

      Подключение диагностического прибора

      Условие

      Заданные условия

      R15-4 (BCR+) - масса

      Зажигание включено (IG)

      Менее 1 В

      R15-3 (BCR-) - масса

      Зажигание включено (IG)

      менее 1 В

    4. Выключите зажигание.

    5. Отсоедините провод от отрицательного (-) вывода аккумуляторной батареи.

      CAUTION:

      После отсоединения провода от отрицательного (-) вывода аккумуляторной батареи подождите не менее 90 с, чтобы предотвратить срабатывание системы SRS.

    Результат

    Перейти к

    OK

    НЕ СООТВ.

    НЕ СООТВ.

    ЗАМЕНИТЕ НАПОЛЬНЫЙ ПРОВОД

    СООТВ
  22. ПРОВЕРЬТЕ НАПОЛЬНЫЙ ПРОВОД (КОРОТКОЕ ЗАМЫКАНИЕ НА МАССУ)

    1. C238220C35

      *1

      Правый задний датчик системы SRS

      *2

      Центральный блок управления системы SRS

      *3

      Напольный провод

      *a

      Вид спереди разъема со стороны жгута проводов:

      (к правому заднему датчику системы SRS)

      Измерьте сопротивление в соответствии со значениями, приведенными в таблице ниже.

      Номинальное сопротивление

      Подключение диагностического прибора

      Условие

      Заданные условия

      R15-4 (BCR+) - масса

      Всегда

      1 МОм или более

      R15-3 (BCR-) - масса

      Всегда

      1 МОм или более

    Результат

    Перейти к

    OK

    НЕ СООТВ.

    НЕ СООТВ.

    ЗАМЕНИТЕ НАПОЛЬНЫЙ ПРОВОД

    СООТВ
  23. ПРОВЕРЬТЕ ЖГУТ ПРОВОДОВ (НА ОБРЫВ)

    1. C295812C04

      *1

      Боковой датчик системы SRS в правой двери

      *2

      Правый задний датчик системы SRS

      *3

      Технологический провод

      *a

      Вид спереди разъема со стороны жгута проводов:

      (к правому заднему датчику системы SRS)

      *b

      Вид спереди разъема со стороны жгута проводов:

      (к правому дверному боковому датчику системы SRS)

      Подсоедините разъемы, соединяющие напольный провод и жгут проводов правой передней двери.

    2. С помощью технологического провода соедините контакты 2 (BDR+) и 1 (BDR-) разъема "Е".

      Note:

      Технологический провод следует вставлять в контакты разъема без усилия.

    3. Измерьте сопротивление в соответствии со значениями, приведенными в таблице ниже.

      Номинальное сопротивление

      Подключение диагностического прибора

      Условие

      Заданные условия

      R15-1 (BDR+) - R15-2 (BDR-)

      Всегда

      Менее 1 Ом

    4. Отсоедините технологический провод от разъема E.

    Результат

    Перейти к

    OK

    НЕ СООТВ.

    НЕ СООТВ.

    ПРОВЕРЬТЕ НАПОЛЬНЫЙ ПРОВОД (ОБРЫВ)Click here

    СООТВ
  24. ПРОВЕРЬТЕ ЖГУТ ПРОВОДОВ (НА КОРОТКОЕ ЗАМЫКАНИЕ)

    1. C295813C07

      *1

      Боковой датчик системы SRS в правой двери

      *2

      Правый задний датчик системы SRS

      *a

      Вид спереди разъема со стороны жгута проводов:

      (к правому заднему датчику системы SRS)

      Измерьте сопротивление в соответствии со значениями, приведенными в таблице ниже.

      Номинальное сопротивление

      Подключение диагностического прибора

      Условие

      Заданные условия

      R15-1 (BDR+) - R15-2 (BDR-)

      Всегда

      1 МОм или более

    Результат

    Перейти к

    OK

    НЕ СООТВ.

    НЕ СООТВ.

    ПРОВЕРЬТЕ НАПОЛЬНЫЙ ПРОВОД (КОРОТКОЕ ЗАМЫКАНИЕ)Click here

    СООТВ
  25. ПРОВЕРЬТЕ ЖГУТ ПРОВОДОВ (НА КОРОТКОЕ ЗАМЫКАНИЕ НА B+)

    1. C295813C07

      *1

      Боковой датчик системы SRS в правой двери

      *2

      Правый задний датчик системы SRS

      *a

      Вид спереди разъема со стороны жгута проводов:

      (к правому заднему датчику системы SRS)

      Подсоедините провод к отрицательному (-) выводу аккумуляторной батареи.

    2. Включите зажигание (IG).

    3. Измерьте напряжение в соответствии со значениями, приведенными в таблице.

      Номинальное напряжение

      Подключение диагностического прибора

      Условие

      Заданные условия

      R15-1 (BDR+) - масса

      Зажигание включено (IG)

      Менее 1 В

      R15-2 (BDR-) - масса

      Зажигание включено (IG)

      менее 1 В

    4. Выключите зажигание.

    5. Отсоедините провод от отрицательного (-) вывода аккумуляторной батареи.

      CAUTION:

      После отсоединения провода от отрицательного (-) вывода аккумуляторной батареи подождите не менее 90 с, чтобы предотвратить срабатывание системы SRS.

    Результат

    Перейти к

    OK

    НЕ СООТВ.

    НЕ СООТВ.

    ПРОВЕРЬТЕ НАПОЛЬНЫЙ ПРОВОД (КОРОТКОЕ ЗАМЫКАНИЕ НА B+)Click here

    СООТВ
  26. ПРОВЕРЬТЕ ЖГУТ ПРОВОДОВ (НА КОРОТКОЕ ЗАМЫКАНИЕ НА МАССУ)

    1. C295813C07

      *1

      Боковой датчик системы SRS в правой двери

      *2

      Правый задний датчик системы SRS

      *a

      Вид спереди разъема со стороны жгута проводов:

      (к правому заднему датчику системы SRS)

      Измерьте сопротивление в соответствии со значениями, приведенными в таблице ниже.

      Номинальное сопротивление

      Подключение диагностического прибора

      Условие

      Заданные условия

      R15-1 (BDR+) - масса

      Всегда

      1 МОм или более

      R15-2 (BDR-) - масса

      Всегда

      1 МОм или более

    Результат

    Перейти к

    OK

    НЕ СООТВ.

    НЕ СООТВ.

    ПРОВЕРЬТЕ НАПОЛЬНЫЙ ПРОВОД (КОРОТКОЕ ЗАМЫКАНИЕ НА МАССУ)Click here

    СООТВ
  27. ПРОВЕРЬТЕ ПРАВЫЙ ЗАДНИЙ ДАТЧИК СИСТЕМЫ SRS

    1. C238218C02

      *1

      Левый задний датчик системы SRS

      *2

      Блок управления системы SRS

      Подсоедините разъемы к датчику системы SRS со стороны правой двери и ЭБУ системы SRS в сборе.

    2. Поменяйте местами правый и левый задние датчики системы SRS в сборе и подсоедините к ним разъемы.

    3. Подсоедините провод к отрицательному (-) выводу аккумуляторной батареи.

    4. Удалите коды DTC, сохраненные в памяти.

      Нажмите здесьClick here

      Body Electrical > SRS Airbag > Clear DTCs

    5. Выключите зажигание.

    6. Включите зажигание (IG) и подождите не менее 60 с.

    7. Проверьте наличие кодов DTC.

      Нажмите здесьClick here

      Body Electrical > SRS Airbag > Trouble Codes

      Tip:

      На этом этапе могут выводиться коды, отличные от кодов DTC B1633 и B1638, однако они не связаны с данной проверкой.

    8. Выключите зажигание.

    9. Отсоедините провод от отрицательного (-) вывода аккумуляторной батареи.

      CAUTION:

      После отсоединения провода от отрицательного (-) вывода аккумуляторной батареи подождите не менее 90 с, чтобы предотвратить срабатывание системы SRS.

    10. Установите на место левый и правый задние датчики системы SRS и подсоедините к ним разъемы.

    Результат

    Result

    Перейти К

    Выводится DTC B1633.

    А

    Выводится DTC B1638.

    B

    Коды DTC B1633 и B1638 не выводятся.

    C

    A

    ЗАМЕНИТЕ ЦЕНТРАЛЬНЫЙ БЛОК УПРАВЛЕНИЯ СИСТЕМЫ SRS

    Нажмите здесьClick hereClick here

    B

    ЗАМЕНИТЕ ПРАВЫЙ ЗАДНИЙ ДАТЧИК СИСТЕМЫ SRS

    Нажмите здесьClick hereClick here

    C

    ВЫПОЛНИТЕ ПРОВЕРКУ С ИМИТАЦИЕЙ УСЛОВИЙ ВОЗНИКНОВЕНИЯ НЕИСПРАВНОСТИ

    Нажмите здесьClick hereClick here

  28. ПРОВЕРЬТЕ НАПОЛЬНЫЙ ПРОВОД (КОРОТКОЕ ЗАМЫКАНИЕ НА МАССУ)

    1. C284682C11

      *1

      Боковой датчик системы SRS в правой двери

      *2

      Правый задний датчик системы SRS

      *3

      Жгут проводов правой передней двери

      *4

      Напольный провод

      *a

      Вид спереди разъема со стороны жгута проводов:

      (к жгуту проводов правой передней двери)

      Отсоедините разъем напольного провода от жгута проводов правой передней двери.

    2. Измерьте сопротивление в соответствии со значениями, приведенными в таблице ниже.

      Номинальное сопротивление

      Подключение диагностического прибора

      Условие

      Заданные условия

      MR1-31 (BDR+) - масса

      Всегда

      1 МОм или более

      MR1-13 (BDR-) - масса

      Всегда

      1 МОм или более

    Результат

    Перейти к

    OK

    НЕ СООТВ.

    OK

    ЗАМЕНИТЕ ЖГУТ ПРОВОДОВ ПРАВОЙ ПЕРЕДНЕЙ ДВЕРИ

    NG

    ЗАМЕНИТЕ НАПОЛЬНЫЙ ПРОВОД

  29. ПРОВЕРЬТЕ НАПОЛЬНЫЙ ПРОВОД (КОРОТКОЕ ЗАМЫКАНИЕ НА B+)

    1. C284682C11

      *1

      Боковой датчик системы SRS в правой двери

      *2

      Правый задний датчик системы SRS

      *3

      Жгут проводов правой передней двери

      *4

      Напольный провод

      *a

      Вид спереди разъема со стороны жгута проводов:

      (к жгуту проводов правой передней двери)

      Отсоедините разъем напольного провода от жгута проводов правой передней двери.

    2. Подсоедините провод к отрицательному (-) выводу аккумуляторной батареи.

    3. Включите зажигание (IG).

    4. Измерьте напряжение в соответствии со значениями, приведенными в таблице.

      Номинальное напряжение

      Подключение диагностического прибора

      Условие

      Заданные условия

      MR1-31 (BDR+) - масса

      Зажигание включено (IG)

      Менее 1 В

      MR1-13 (BDR-) - масса

      Зажигание включено (IG)

      Менее 1 В

    Результат

    Перейти к

    OK

    НЕ СООТВ.

    OK

    ЗАМЕНИТЕ ЖГУТ ПРОВОДОВ ПРАВОЙ ПЕРЕДНЕЙ ДВЕРИ

    NG

    ЗАМЕНИТЕ НАПОЛЬНЫЙ ПРОВОД

  30. ПРОВЕРЬТЕ НАПОЛЬНЫЙ ПРОВОД (КОРОТКОЕ ЗАМЫКАНИЕ)

    1. C284682C11

      *1

      Боковой датчик системы SRS в правой двери

      *2

      Правый задний датчик системы SRS

      *3

      Жгут проводов правой передней двери

      *4

      Напольный провод

      *a

      Вид спереди разъема со стороны жгута проводов:

      (к жгуту проводов правой передней двери)

      Отсоедините разъем напольного провода от жгута проводов правой передней двери.

    2. Измерьте сопротивление в соответствии со значениями, приведенными в таблице ниже.

      Номинальное сопротивление

      Подключение диагностического прибора

      Условие

      Заданные условия

      MR1-31 (BDR+) - MR1-13 (BDR-)

      Всегда

      1 МОм или более

    Результат

    Перейти к

    OK

    НЕ СООТВ.

    OK

    ЗАМЕНИТЕ ЖГУТ ПРОВОДОВ ПРАВОЙ ПЕРЕДНЕЙ ДВЕРИ

    NG

    ЗАМЕНИТЕ НАПОЛЬНЫЙ ПРОВОД

  31. ПРОВЕРЬТЕ НАПОЛЬНЫЙ ПРОВОД (ОБРЫВ)

    1. C284681C09

      *1

      Боковой датчик системы SRS в правой двери

      *2

      Правый задний датчик системы SRS

      *3

      Жгут проводов правой передней двери

      *4

      Напольный провод

      *5

      Технологический провод

      *a

      Вид спереди разъема со стороны жгута проводов:

      (к правому заднему датчику системы SRS)

      *b

      Вид спереди разъема со стороны жгута проводов:

      (к жгуту проводов правой передней двери)

      Отсоедините разъем напольного провода от жгута проводов правой передней двери.

    2. С помощью технологического провода соедините контакты 1 (BDR+) и 2 (BDR-) разъема "В".

      Note:

      Технологический провод следует вставлять в контакты разъема без усилия.

    3. Измерьте сопротивление в соответствии со значениями, приведенными в таблице ниже.

      Номинальное сопротивление

      Подключение диагностического прибора

      Условие

      Заданные условия

      MR1-31 (BDR+) - MR1-13 (BDR-)

      Всегда

      Менее 1 Ом

    4. Отсоедините технологический провод от разъема В.

    Результат

    Перейти к

    OK

    НЕ СООТВ.

    OK

    ЗАМЕНИТЕ ЖГУТ ПРОВОДОВ ПРАВОЙ ПЕРЕДНЕЙ ДВЕРИ

    NG

    ЗАМЕНИТЕ НАПОЛЬНЫЙ ПРОВОД

  32. ПРОВЕРЬТЕ ПРАВЫЙ ЗАДНИЙ ДАТЧИК СИСТЕМЫ SRS

    1. C238218C02

      *1

      Левый задний датчик системы SRS

      *2

      Блок управления системы SRS

      Выключите зажигание.

    2. Отсоедините провод от отрицательного (-) вывода аккумуляторной батареи.

      CAUTION:

      После отсоединения провода от отрицательного (-) вывода аккумуляторной батареи подождите не менее 90 с, чтобы предотвратить срабатывание системы SRS.

    3. Поменяйте местами правый и левый задние датчики системы SRS в сборе и подсоедините к ним разъемы.

    4. Подсоедините провод к отрицательному (-) выводу аккумуляторной батареи.

    5. Удалите коды DTC, сохраненные в памяти.

      Нажмите здесьClick here

      Body Electrical > SRS Airbag > Clear DTCs

    6. Выключите зажигание.

    7. Включите зажигание (IG) и подождите не менее 60 с.

    8. Проверьте наличие кодов DTC.

      Нажмите здесьClick here

      Body Electrical > SRS Airbag > Trouble Codes

      Tip:

      На этом этапе могут выводиться коды, отличные от кодов DTC B1632 и B1637, однако они не связаны с данной проверкой.

    9. Выключите зажигание.

    10. Отсоедините провод от отрицательного (-) вывода аккумуляторной батареи.

      CAUTION:

      После отсоединения провода от отрицательного (-) вывода аккумуляторной батареи подождите не менее 90 с, чтобы предотвратить срабатывание системы SRS.

    11. Установите на место левый и правый задние датчики системы SRS и подсоедините к ним разъемы.

    Результат

    Result

    Перейти К

    Выводится DTC B1632.

    А

    Выводится DTC B1637.

    B

    Коды DTC B1632 и B1637 не выводятся.

    C

    A

    ЗАМЕНИТЕ ЦЕНТРАЛЬНЫЙ БЛОК УПРАВЛЕНИЯ СИСТЕМЫ SRS

    Нажмите здесьClick hereClick here

    B

    ЗАМЕНИТЕ ПРАВЫЙ ЗАДНИЙ ДАТЧИК СИСТЕМЫ SRS

    Нажмите здесьClick hereClick here

    C

    ВЫПОЛНИТЕ ПРОВЕРКУ С ИМИТАЦИЕЙ УСЛОВИЙ ВОЗНИКНОВЕНИЯ НЕИСПРАВНОСТИ

    Нажмите здесьClick hereClick here

  33. ПРОВЕРЬТЕ РАЗЪЕМЫ

    1. Выключите зажигание.

    2. Отсоедините провод от отрицательного (-) вывода аккумуляторной батареи.

      CAUTION:

      После отсоединения провода от отрицательного (-) вывода аккумуляторной батареи подождите не менее 90 с, чтобы предотвратить срабатывание системы SRS.

    3. Проверьте правильность подключения разъемов к правому дверному боковому датчику системы SRS и правому заднему датчику системы SRS. Кроме того, убедитесь в надежности подключения разъемов, соединяющих напольный провод и жгут проводов правой передней двери.

      OK

      Разъемы подсоединены должным образом.

      Tip:

      Если разъемы подсоединены ненадежно, подсоедините их и перейдите к следующей проверке.

    4. Отсоедините разъемы от правого дверного бокового датчика системы SRS и правого заднего датчика системы SRS. Отсоедините разъемы, соединяющие напольный провод и жгут проводов правой передней двери.

    5. Убедитесь, что контакты разъемов не деформированы и не повреждены.

      OK

      Контакты не деформированы и не повреждены.

    Результат

    Перейти к

    OK

    НЕ СООТВ.

    НЕ СООТВ.

    ЗАМЕНИТЕ ЖГУТ ПРОВОДОВ

    СООТВ
  34. ПРОВЕРЬТЕ ЖГУТ ПРОВОДОВ (НА ОБРЫВ)

    1. C295812C04

      *1

      Боковой датчик системы SRS в правой двери

      *2

      Правый задний датчик системы SRS

      *3

      Технологический провод

      *a

      Вид спереди разъема со стороны жгута проводов:

      (к правому заднему датчику системы SRS)

      *b

      Вид спереди разъема со стороны жгута проводов:

      (к правому дверному боковому датчику системы SRS)

      Подсоедините разъемы, соединяющие напольный провод и жгут проводов правой передней двери.

    2. С помощью технологического провода соедините контакты 2 (BDR+) и 1 (BDR-) разъема "Е".

      Note:

      Технологический провод следует вставлять в контакты разъема без усилия.

    3. Измерьте сопротивление в соответствии со значениями, приведенными в таблице ниже.

      Номинальное сопротивление

      Подключение диагностического прибора

      Условие

      Заданные условия

      R15-1 (BDR+) - R15-2 (BDR-)

      Всегда

      Менее 1 Ом

    4. Отсоедините технологический провод от разъема E.

    Результат

    Перейти к

    OK

    НЕ СООТВ.

    НЕ СООТВ.

    ПРОВЕРЬТЕ НАПОЛЬНЫЙ ПРОВОД (ОБРЫВ)Click here

    СООТВ
  35. ПРОВЕРЬТЕ ЖГУТ ПРОВОДОВ (НА КОРОТКОЕ ЗАМЫКАНИЕ)

    1. C295813C07

      *1

      Боковой датчик системы SRS в правой двери

      *2

      Правый задний датчик системы SRS

      *a

      Вид спереди разъема со стороны жгута проводов:

      (к правому заднему датчику системы SRS)

      Измерьте сопротивление в соответствии со значениями, приведенными в таблице ниже.

      Номинальное сопротивление

      Подключение диагностического прибора

      Условие

      Заданные условия

      R15-1 (BDR+) - R15-2 (BDR-)

      Всегда

      1 МОм или более

    Результат

    Перейти к

    OK

    НЕ СООТВ.

    НЕ СООТВ.

    ПРОВЕРЬТЕ НАПОЛЬНЫЙ ПРОВОД (КОРОТКОЕ ЗАМЫКАНИЕ)Click here

    СООТВ
  36. ПРОВЕРЬТЕ ЖГУТ ПРОВОДОВ (НА КОРОТКОЕ ЗАМЫКАНИЕ НА B+)

    1. C295813C07

      *1

      Боковой датчик системы SRS в правой двери

      *2

      Правый задний датчик системы SRS

      *a

      Вид спереди разъема со стороны жгута проводов:

      (к правому заднему датчику системы SRS)

      Подсоедините провод к отрицательному (-) выводу аккумуляторной батареи.

    2. Включите зажигание (IG).

    3. Измерьте напряжение в соответствии со значениями, приведенными в таблице.

      Номинальное напряжение

      Подключение диагностического прибора

      Условие

      Заданные условия

      R15-1 (BDR+) - масса

      Зажигание включено (IG)

      Менее 1 В

      R15-2 (BDR-) - масса

      Зажигание включено (IG)

      менее 1 В

    4. Выключите зажигание.

    5. Отсоедините провод от отрицательного (-) вывода аккумуляторной батареи.

      CAUTION:

      После отсоединения провода от отрицательного (-) вывода аккумуляторной батареи подождите не менее 90 с, чтобы предотвратить срабатывание системы SRS.

    Результат

    Перейти к

    OK

    НЕ СООТВ.

    НЕ СООТВ.

    ПРОВЕРЬТЕ НАПОЛЬНЫЙ ПРОВОД (КОРОТКОЕ ЗАМЫКАНИЕ НА B+)Click here

    СООТВ
  37. ПРОВЕРЬТЕ ЖГУТ ПРОВОДОВ (НА КОРОТКОЕ ЗАМЫКАНИЕ НА МАССУ)

    1. C295813C07

      *1

      Боковой датчик системы SRS в правой двери

      *2

      Правый задний датчик системы SRS

      *a

      Вид спереди разъема со стороны жгута проводов:

      (к правому заднему датчику системы SRS)

      Измерьте сопротивление в соответствии со значениями, приведенными в таблице ниже.

      Номинальное сопротивление

      Подключение диагностического прибора

      Условие

      Заданные условия

      R15-1 (BDR+) - масса

      Всегда

      1 МОм или более

      R15-2 (BDR-) - масса

      Всегда

      1 МОм или более

    Результат

    Перейти к

    OK

    НЕ СООТВ.

    НЕ СООТВ.

    ПРОВЕРЬТЕ НАПОЛЬНЫЙ ПРОВОД (КОРОТКОЕ ЗАМЫКАНИЕ НА МАССУ)Click here

    СООТВ
  38. ПРОВЕРЬТЕ ПРАВЫЙ ЗАДНИЙ ДАТЧИК СИСТЕМЫ SRS

    1. C238218C02

      *1

      Левый задний датчик системы SRS

      *2

      Блок управления системы SRS

      Подсоедините разъем к правому боковому дверному датчику системы SRS.

    2. Поменяйте местами правый и левый задние датчики системы SRS в сборе и подсоедините к ним разъемы.

    3. Подсоедините провод к отрицательному (-) выводу аккумуляторной батареи.

    4. Удалите коды DTC, сохраненные в памяти.

      Нажмите здесьClick here

      Body Electrical > SRS Airbag > Clear DTCs

    5. Выключите зажигание.

    6. Включите зажигание (IG) и подождите не менее 60 с.

    7. Проверьте наличие кодов DTC.

      Нажмите здесьClick here

      Body Electrical > SRS Airbag > Trouble Codes

      Tip:

      На этом этапе могут выводиться коды, отличные от кодов B166D, B166E, B167B и B167C, однако они не связаны с данной проверкой.

    8. Выключите питание.

    9. Отсоедините провод от отрицательного (-) вывода аккумуляторной батареи.

      CAUTION:

      После отсоединения провода от отрицательного (-) вывода аккумуляторной батареи подождите не менее 90 с, чтобы предотвратить срабатывание системы SRS.

    10. Установите на место левый и правый задние датчики системы SRS и подсоедините к ним разъемы.

    Результат

    Result

    Перейдите к

    DTC B166D или B166E выводится.

    А

    DTC B167B или B167C выводится.

    B

    DTCs B166D, B166E, B167B и B167C не выводятся.

    C

    B

    ЗАМЕНИТЕ ПРАВЫЙ ЗАДНИЙ ДАТЧИК СИСТЕМЫ SRS

    Нажмите здесьClick hereClick here

    C

    ВЫПОЛНИТЕ ПРОВЕРКУ С ИМИТАЦИЕЙ УСЛОВИЙ ВОЗНИКНОВЕНИЯ НЕИСПРАВНОСТИ

    Нажмите здесьClick hereClick here

    A
  39. ПРОВЕРЬТЕ БОКОВОЙ ДАТЧИК СИСТЕМЫ SRS СО СТОРОНЫ ПРАВОЙ ДВЕРИ

    1. C238395C02

      *1

      Боковой датчик системы SRS в левой двери

      *2

      Правый задний датчик системы SRS

      Поменяйте местами правый и левый дверные боковые датчики системы SRS и подсоедините к ним разъемы.

    2. Подсоедините провод к отрицательному (-) выводу аккумуляторной батареи.

    3. Удалите коды DTC, сохраненные в памяти.

      Нажмите здесьClick here

      Body Electrical > SRS Airbag > Clear DTCs

    4. Выключите зажигание.

    5. Включите зажигание (IG) и подождите не менее 60 с.

    6. Проверьте наличие кодов DTC.

      Нажмите здесьClick here

      Body Electrical > SRS Airbag > Trouble Codes

      Tip:

      На этом этапе могут выводиться коды, отличные от кодов B166D, B166E, B167B и B167C, однако они не связаны с данной проверкой.

    7. Выключите питание.

    8. Отсоедините провод от отрицательного (-) вывода аккумуляторной батареи.

      CAUTION:

      После отсоединения провода от отрицательного (-) вывода аккумуляторной батареи подождите не менее 90 с, чтобы предотвратить срабатывание системы SRS.

    9. Установите на место правый и левый дверные боковые датчики системы SRS и подсоедините к ним разъемы.

    Результат

    Result

    Перейдите к

    DTC B166D или B166E выводится.

    А

    DTC B167B или B167C выводится.

    B

    DTCs B166D, B166E, B167B и B167C не выводятся.

    C

    A

    ЗАМЕНИТЕ ЦЕНТРАЛЬНЫЙ БЛОК УПРАВЛЕНИЯ СИСТЕМЫ SRS

    Нажмите здесьClick hereClick here

    B

    ЗАМЕНИТЕ БОКОВОЙ ДАТЧИК СИСТЕМЫ SRS СО СТОРОНЫ ПРАВОЙ ДВЕРИ

    Нажмите здесьClick hereClick here

    C

    ВЫПОЛНИТЕ ПРОВЕРКУ С ИМИТАЦИЕЙ УСЛОВИЙ ВОЗНИКНОВЕНИЯ НЕИСПРАВНОСТИ

    Нажмите здесьClick hereClick here

  40. ПРОВЕРЬТЕ НАПОЛЬНЫЙ ПРОВОД (КОРОТКОЕ ЗАМЫКАНИЕ НА МАССУ)

    1. C284682C11

      *1

      Боковой датчик системы SRS в правой двери

      *2

      Правый задний датчик системы SRS

      *3

      Жгут проводов правой передней двери

      *4

      Напольный провод

      *a

      Вид спереди разъема со стороны жгута проводов:

      (к жгуту проводов правой передней двери)

      Отсоедините разъем напольного провода от жгута проводов правой передней двери.

    2. Измерьте сопротивление в соответствии со значениями, приведенными в таблице ниже.

      Номинальное сопротивление

      Подключение диагностического прибора

      Условие

      Заданные условия

      MR1-31 (BDR+) - масса

      Всегда

      1 МОм или более

      MR1-13 (BDR-) - масса

      Всегда

      1 МОм или более

    Результат

    Перейти к

    OK

    НЕ СООТВ.

    OK

    ЗАМЕНИТЕ ЖГУТ ПРОВОДОВ ПРАВОЙ ПЕРЕДНЕЙ ДВЕРИ

    NG

    ЗАМЕНИТЕ НАПОЛЬНЫЙ ПРОВОД

  41. ПРОВЕРЬТЕ НАПОЛЬНЫЙ ПРОВОД (КОРОТКОЕ ЗАМЫКАНИЕ НА B+)

    1. C284682C11

      *1

      Боковой датчик системы SRS в правой двери

      *2

      Правый задний датчик системы SRS

      *3

      Жгут проводов правой передней двери

      *4

      Напольный провод

      *a

      Вид спереди разъема со стороны жгута проводов:

      (к жгуту проводов правой передней двери)

      Отсоедините разъем напольного провода от жгута проводов правой передней двери.

    2. Подсоедините провод к отрицательному (-) выводу аккумуляторной батареи.

    3. Включите зажигание (IG).

    4. Измерьте напряжение в соответствии со значениями, приведенными в таблице.

      Номинальное напряжение

      Подключение диагностического прибора

      Условие

      Заданные условия

      MR1-31 (BDR+) - масса

      Зажигание включено (IG)

      Менее 1 В

      MR1-13 (BDR-) - масса

      Зажигание включено (IG)

      Менее 1 В

    Результат

    Перейти к

    OK

    НЕ СООТВ.

    OK

    ЗАМЕНИТЕ ЖГУТ ПРОВОДОВ ПРАВОЙ ПЕРЕДНЕЙ ДВЕРИ

    NG

    ЗАМЕНИТЕ НАПОЛЬНЫЙ ПРОВОД

  42. ПРОВЕРЬТЕ НАПОЛЬНЫЙ ПРОВОД (КОРОТКОЕ ЗАМЫКАНИЕ)

    1. C284682C11

      *1

      Боковой датчик системы SRS в правой двери

      *2

      Правый задний датчик системы SRS

      *3

      Жгут проводов правой передней двери

      *4

      Напольный провод

      *a

      Вид спереди разъема со стороны жгута проводов:

      (к жгуту проводов правой передней двери)

      Отсоедините разъем напольного провода от жгута проводов правой передней двери.

    2. Измерьте сопротивление в соответствии со значениями, приведенными в таблице ниже.

      Номинальное сопротивление

      Подключение диагностического прибора

      Условие

      Заданные условия

      MR1-31 (BDR+) - MR1-13 (BDR-)

      Всегда

      1 МОм или более

    Результат

    Перейти к

    OK

    НЕ СООТВ.

    OK

    ЗАМЕНИТЕ ЖГУТ ПРОВОДОВ ПРАВОЙ ПЕРЕДНЕЙ ДВЕРИ

    NG

    ЗАМЕНИТЕ НАПОЛЬНЫЙ ПРОВОД

  43. ПРОВЕРЬТЕ НАПОЛЬНЫЙ ПРОВОД (ОБРЫВ)

    1. C284681C09

      *1

      Боковой датчик системы SRS в правой двери

      *2

      Правый задний датчик системы SRS

      *3

      Жгут проводов правой передней двери

      *4

      Напольный провод

      *5

      Технологический провод

      *a

      Вид спереди разъема со стороны жгута проводов:

      (к правому заднему датчику системы SRS)

      *b

      Вид спереди разъема со стороны жгута проводов:

      (к жгуту проводов правой передней двери)

      Отсоедините разъем напольного провода от жгута проводов правой передней двери.

    2. С помощью технологического провода соедините контакты 1 (BDR+) и 2 (BDR-) разъема "В".

      Note:

      Технологический провод следует вставлять в контакты разъема без усилия.

    3. Измерьте сопротивление в соответствии со значениями, приведенными в таблице ниже.

      Номинальное сопротивление

      Подключение диагностического прибора

      Условие

      Заданные условия

      MR1-31 (BDR+) - MR1-13 (BDR-)

      Всегда

      Менее 1 Ом

    4. Отсоедините технологический провод от разъема В.

    Результат

    Перейти к

    OK

    НЕ СООТВ.

    OK

    ЗАМЕНИТЕ ЖГУТ ПРОВОДОВ ПРАВОЙ ПЕРЕДНЕЙ ДВЕРИ

    NG

    ЗАМЕНИТЕ НАПОЛЬНЫЙ ПРОВОД

  44. ПРОВЕРЬТЕ ПРАВЫЙ ЗАДНИЙ ДАТЧИК СИСТЕМЫ SRS

    1. C238218C02

      *1

      Левый задний датчик системы SRS

      *2

      Блок управления системы SRS

      Выключите зажигание.

    2. Отсоедините провод от отрицательного (-) вывода аккумуляторной батареи.

      CAUTION:

      После отсоединения провода от отрицательного (-) вывода аккумуляторной батареи подождите не менее 90 с, чтобы предотвратить срабатывание системы SRS.

    3. Поменяйте местами правый и левый задние датчики системы SRS в сборе и подсоедините к ним разъемы.

    4. Подсоедините провод к отрицательному (-) выводу аккумуляторной батареи.

    5. Удалите коды DTC, сохраненные в памяти.

      Нажмите здесьClick here

      Body Electrical > SRS Airbag > Clear DTCs

    6. Выключите зажигание.

    7. Включите зажигание (IG) и подождите не менее 60 с.

    8. Проверьте наличие кодов DTC.

      Нажмите здесьClick here

      Body Electrical > SRS Airbag > Trouble Codes

      Tip:

      На этом этапе могут выводиться коды, отличные от кодов DTC B1632 и B1637, однако они не связаны с данной проверкой.

    9. Выключите зажигание.

    10. Отсоедините провод от отрицательного (-) вывода аккумуляторной батареи.

      CAUTION:

      После отсоединения провода от отрицательного (-) вывода аккумуляторной батареи подождите не менее 90 с, чтобы предотвратить срабатывание системы SRS.

    11. Установите на место левый и правый задние датчики системы SRS и подсоедините к ним разъемы.

    Результат

    Result

    Перейти К

    Выводится DTC B1632.

    А

    Выводится DTC B1637.

    B

    Коды DTC B1632 и B1637 не выводятся.

    C

    A

    ЗАМЕНИТЕ ЦЕНТРАЛЬНЫЙ БЛОК УПРАВЛЕНИЯ СИСТЕМЫ SRS

    Нажмите здесьClick hereClick here

    B

    ЗАМЕНИТЕ ПРАВЫЙ ЗАДНИЙ ДАТЧИК СИСТЕМЫ SRS

    Нажмите здесьClick hereClick here

    C

    ВЫПОЛНИТЕ ПРОВЕРКУ С ИМИТАЦИЕЙ УСЛОВИЙ ВОЗНИКНОВЕНИЯ НЕИСПРАВНОСТИ

    Нажмите здесьClick hereClick here