RADIATOR ON-VEHICLE INSPECTION

PROCEDURE

  1. INSPECT RESERVOIR CAP

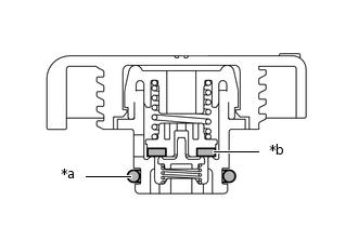
    1. A287226C09

      *a

      O-Ring

      *b

      Rubber Packing

      Measure the valve opening pressure.

      1. If there are water stains or foreign matter on the O-ring, clean it with water and finger scouring.

      2. Check that the O-ring is not deformed, cracked or swollen.

      3. Apply engine coolant to the O-ring and rubber packing before using a radiator cap tester.

      4. A110393C20

        *1

        Reservoir Cap

        *a

        Radiator Cap Tester

        *b

        30° or more

        When using the radiator cap tester, tilt it more than 30° degrees.

      5. Pump the radiator cap tester several times and check the maximum pressure*.

        Pump speed

        1 pump per second

        *: Even if the cap cannot maintain the maximum pressure, it is not a defect.

        Standard Judgment Criterion

        Item

        Specified Condition

        Standard value

        (for brand-new cap)

        93 to 123 kPa (1.0 to 1.3 kgf/cm2, 13.5 to 18 psi)

        Minimum standard value

        (for used cap)

        79 kPa (0.8 kgf/cm2, 11.4 psi)

        If the maximum pressure is less than the minimum standard value, replace the reservoir cap.

  2. INSPECT FINS FOR BLOCKAGE

    1. If the fins are clogged, wash them with water or a steam cleaner and dry them with compressed air.

      Note:
      • To avoid damaging the fins, the injection direction should be at right angles to the core surface.

      • If the steam cleaner is too close to the core, there is a possibility of damaging the fins, so maintain the following injection distances.

        Standard Injection Distance

        Injection Pressure

        Specified Condition

        2942 to 4903 kPa (30.0 to 50.0 kgf/cm2, 427 to 711 psi)

        300 mm (11.8 in.)

        4903 to 7845 kPa (50.0 to 80.0 kgf/cm2, 711 to 1138 psi)

        500 mm (19.7 in.)

      • If the fins are bent, straighten them with a screwdriver or pliers.

      • Do not expose electronic components to water.

    2. Dry the fins with compressed air.