ПЕРЕКЛЮЧАТЕЛЬ TRIP ПРОВЕРКА

ПОРЯДОК ВЫПОЛНЕНИЯ

  1. ПРОВЕРЬТЕ ПЕРЕКЛЮЧАТЕЛЬ TRIP

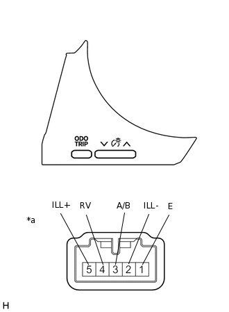
    1. E366900C05

      *a

      Устройство с отсоединенным жгутом проводов

      (переключатель TRIP)

      Измерьте сопротивление в соответствии со значениями, приведенными в таблице.

      Номинальное сопротивление

      Подключение диагностического прибора

      Условие

      Заданные условия

      4 (RV) - 1 (E)

      Переключатель-реостат увеличения освещенности нажат

      Менее 50 Ом

      Переключатель-реостат увеличения освещенности не нажат

      10 кОм или более

      4 (RV) - 1 (E)

      Переключатель-реостат уменьшения освещенности нажат

      1,71 - 1,94 кОм

      Переключатель-реостат уменьшения освещенности не нажат

      10 кОм или более

      3 (A/B) - 1 (E)

      Переключатель ODO/TRIP нажат

      Менее 50 Ом

      Переключатель ODO/TRIP не нажат

      10 кОм или более

      Если результат не соответствует требованиям, замените переключатель TRIP.

    2. Подайте напряжение аккумуляторной батареи на переключатель счетчика пути и убедитесь, что включается его подсветка.

      OK

      Условие

      Заданные условия

      Положительный (+) вывод аккумуляторной батареи → контакт 5 (ILL+)

      Отрицательный (-) вывод аккумуляторной батареи → контакт 2 (ILL-)

      Светится

      Если результат не соответствует требованиям, замените переключатель TRIP.