HYBRID CONTROL SYSTEM


  1. CONSTRUCTION


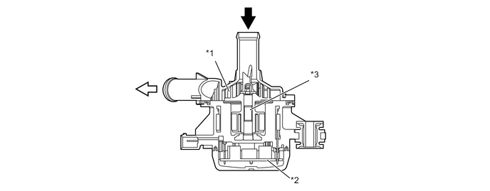
    1. A compact and high output type electric water pump is used.

    2. A high output DC motor (brushless type) is used for the pump motor. Furthermore, bearings that support the motor shaft at both ends are employed, suppressing noise and vibration.

    3. The inverter water pump with motor assembly is controlled to 3 stages by the hybrid vehicle control ECU in accordance with inverter coolant temperature in order to cool the hybrid system.

      A01RXQYC01
      *1 Impeller *2 Motor Controller
      *3 Motor Shaft - -
      B00208D Coolant Inlet B00209S Coolant Outlet