СИСТЕМА ПОДУШЕК БЕЗОПАСНОСТИ SRS, диагностические DTC:B163B/86 и B163C/86

Код DTC Наименование DTC
B163B/86 Отсутствие связи с левым боковым датчиком системы SRS № 2
B163C/86 Ошибка инициализации левого бокового датчика системы SRS № 2

ОПИСАНИЕ

Цепь левого бокового датчика системы SRS (шина 2) включает в себя ЭБУ системы SRS в сборе и левый боковой датчик системы SRS в сборе.

Левый боковой датчик системы SRS обнаруживает удар автомобиля при столкновении и посылает сигналы в центральный блок управления системы SRS, который определяет необходимость развертывания подушек безопасности и преднатяжителей.

Эти коды DTC регистрируются при обнаружении неисправности в цепи левого бокового датчика системы SRS (шина 2).

№ DTC

Неисправность

Условие обнаружения DTC

Неисправный участок

Режим диагностики / режим проверки

B163B/86

Отсутствие связи с левым боковым датчиком системы SRS № 2

  • ЭБУ системы SRS в сборе обнаруживает сигнал короткого замыкания в линии, короткого замыкания на массу или B+, или обрыва в цепи левого бокового датчика системы SRS (шина 2).

  • Неисправность левого бокового датчика системы SRS в сборе

  • Неисправность блока управления системы SRS

  • Напольный провод № 2

  • Левый боковой датчик системы SRS в сборе

  • Блок управления системы SRS

Не относится к режиму диагностики/проверки

B163C/86

Ошибка инициализации левого бокового датчика системы SRS № 2

  • ЭБУ системы SRS в сборе обнаруживает сигнал короткого замыкания в линии, короткого замыкания на массу или B+, или обрыва в цепи левого бокового датчика системы SRS (шина 2).

  • Неисправность левого бокового датчика системы SRS в сборе

  • Неисправность блока управления системы SRS

  • Напольный провод № 2

  • Левый боковой датчик системы SRS в сборе

  • Блок управления системы SRS

Не относится к режиму диагностики/проверки

СХЕМА ЭЛЕКТРИЧЕСКИХ СОЕДИНЕНИЙ

C303969E18

ПРЕДОСТЕРЕЖЕНИЕ / ПРИМЕЧАНИЕ / УКАЗАНИЕ

Note:

После выключения зажигания следует подождать некоторое время, прежде чем отсоединять провод от отрицательного (-) вывода аккумуляторной батареи. Поэтому, прежде чем приступать к этой работе, обязательно ознакомьтесь с примечанием относительно отсоединения провода от отрицательного (-) вывода аккумуляторной батареи.

Нажмите здесьClick hereClick hereClick here

ПОРЯДОК ВЫПОЛНЕНИЯ

  1. ПРОВЕРЬТЕ РАЗЪЕМЫ

    1. Выключите зажигание.

    2. Отсоедините провод от отрицательного (-) вывода аккумуляторной батареи.

      CAUTION:

      После отсоединения провода от отрицательного (-) вывода аккумуляторной батареи подождите не менее 90 с, чтобы предотвратить срабатывание системы SRS.

    3. Проверьте правильность подключения разъемов к центральному блоку управления системы SRS и левому боковому датчику системы SRS.

      OK

      Разъемы подсоединены должным образом.

      Tip:

      Если разъемы подсоединены ненадежно, подсоедините их и перейдите к следующей проверке.

    4. Отсоедините разъемы от левого бокового датчика системы SRS и центрального блока управления системы SRS.

    5. Убедитесь, что контакты разъемов не деформированы и не повреждены.

      OK

      Контакты не деформированы и не повреждены.

    Результат

    Перейти к

    OK

    НЕ СООТВ.

    НЕ СООТВ.

    ЗАМЕНИТЕ НАПОЛЬНЫЙ ПРОВОД № 2

    СООТВ
  2. ПРОВЕРЬТЕ НАПОЛЬНЫЙ ПРОВОД № 2 (ОБРЫВ)

    1. C341627C02

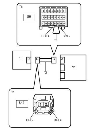
      *1

      Левый боковой датчик системы SRS в сборе

      *2

      Центральный блок управления системы SRS

      *3

      Напольный провод № 2

      *4

      Технологический провод

      *a

      Вид спереди разъема со стороны жгута проводов:

      (блок управления системы SRS)

      *b

      Вид спереди разъема со стороны жгута проводов:

      (к левому боковому датчику системы SRS)

      С помощью технологического провода соедините контакты 21 (BCL+) и 22 (BCL-) разъема "B".

      Note:

      Технологический провод следует вставлять в контакты разъема без усилия.

    2. Измерьте сопротивление в соответствии со значениями, приведенными в таблице ниже.

      Номинальное сопротивление

      Подключение диагностического прибора

      Условие

      Заданные условия

      S45-2 (BFL+) - S45-1 (BFL-)

      Всегда

      Менее 1 Ом

    3. Отсоедините технологический провод от разъема В.

    Результат

    Перейти к

    OK

    НЕ СООТВ.

    НЕ СООТВ.

    ЗАМЕНИТЕ НАПОЛЬНЫЙ ПРОВОД № 2

    СООТВ
  3. ПРОВЕРЬТЕ НАПОЛЬНЫЙ ПРОВОД № 2 (НА КОРОТКОЕ ЗАМЫКАНИЕ)

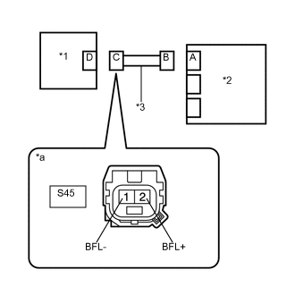
    1. C341629C02

      *1

      Левый боковой датчик системы SRS в сборе

      *2

      Центральный блок управления системы SRS

      *3

      Напольный провод № 2

      *a

      Вид спереди разъема со стороны жгута проводов:

      (к левому боковому датчику системы SRS)

      Измерьте сопротивление в соответствии со значениями, приведенными в таблице ниже.

      Номинальное сопротивление

      Подключение диагностического прибора

      Условие

      Заданные условия

      S45-2 (BFL+) - S45-1 (BFL-)

      Всегда

      1 МОм или более

    Результат

    Перейти к

    OK

    НЕ СООТВ.

    НЕ СООТВ.

    ЗАМЕНИТЕ НАПОЛЬНЫЙ ПРОВОД № 2

    СООТВ
  4. ПРОВЕРЬТЕ НАПОЛЬНЫЙ ПРОВОД № 2 (НА КОРОТКОЕ ЗАМЫКАНИЕ НА B+)

    1. C341629C02

      *1

      Левый боковой датчик системы SRS в сборе

      *2

      Центральный блок управления системы SRS

      *3

      Напольный провод № 2

      *a

      Вид спереди разъема со стороны жгута проводов:

      (к левому боковому датчику системы SRS)

      Подсоедините провод к отрицательному (-) выводу аккумуляторной батареи.

    2. Включите питание (IG).

    3. Измерьте напряжение в соответствии со значениями, приведенными в таблице.

      Номинальное напряжение

      Подключение диагностического прибора

      Условие

      Заданные условия

      S45-2 (BFL+) - масса

      Зажигание включено (IG)

      Менее 1 В

      S45-1 (BFL-) - масса

      Зажигание включено (IG)

      менее 1 В

    4. Выключите зажигание.

    5. Отсоедините провод от отрицательного (-) вывода аккумуляторной батареи.

      CAUTION:

      После отсоединения провода от отрицательного (-) вывода аккумуляторной батареи подождите не менее 90 с, чтобы предотвратить срабатывание системы SRS.

    Результат

    Перейти к

    OK

    НЕ СООТВ.

    НЕ СООТВ.

    ЗАМЕНИТЕ НАПОЛЬНЫЙ ПРОВОД № 2

    СООТВ
  5. ПРОВЕРЬТЕ НАПОЛЬНЫЙ ПРОВОД № 2 (НА КОРОТКОЕ ЗАМЫКАНИЕ НА МАССУ)

    1. C341629C02

      *1

      Левый боковой датчик системы SRS в сборе

      *2

      Центральный блок управления системы SRS

      *3

      Напольный провод № 2

      *a

      Вид спереди разъема со стороны жгута проводов:

      (к левому боковому датчику системы SRS)

      Измерьте сопротивление в соответствии со значениями, приведенными в таблице ниже.

      Номинальное сопротивление

      Подключение диагностического прибора

      Условие

      Заданные условия

      S45-2 (BFL+) - масса

      Всегда

      1 МОм или более

      S45-1 (BFL-) - масса

      Всегда

      1 МОм или более

    Результат

    Перейти к

    OK

    НЕ СООТВ.

    НЕ СООТВ.

    ЗАМЕНИТЕ НАПОЛЬНЫЙ ПРОВОД № 2

    СООТВ
  6. ПРОВЕРЬТЕ ЛЕВЫЙ БОКОВОЙ ДАТЧИК СИСТЕМЫ SRS

    1. C238328C01

      *1

      Правый боковой датчик системы SRS в сборе

      *2

      Блок управления системы SRS

      Подсоедините разъем к блоку управления системы SRS.

    2. Поменяйте местами левый и правый боковые датчики системы SRS и подсоедините к ним разъемы.

    3. Подсоедините провод к отрицательному (-) выводу аккумуляторной батареи.

    4. Удалите коды DTC, сохраненные в памяти.

      Нажмите здесьClick here

      Body Electrical > SRS Airbag > Clear DTCs

    5. Выключите зажигание.

    6. Включите зажигание (IG) и подождите не менее 60 с.

    7. Проверьте наличие кодов DTC.

      Нажмите здесьClick here

      Body Electrical > SRS Airbag > Trouble Codes

      Tip:

      На этом этапе могут выводиться коды, отличные от кодов DTC B162B/85, B162C/85, B163B/86 и B163C/86, однако они не связаны с данной проверкой.

    8. Выключите питание.

    9. Отсоедините провод от отрицательного (-) вывода аккумуляторной батареи.

      CAUTION:

      После отсоединения провода от отрицательного (-) вывода аккумуляторной батареи подождите не менее 90 с, чтобы предотвратить срабатывание системы SRS.

    10. Установите на место левый и правый боковые датчики системы SRS и подсоедините к ним разъемы.

    Результат

    Result

    Перейти К

    DTC B163B/86 или B163C/86 выводится.

    А

    DTC B162B/85 или B162C/85 выводится.

    B

    DTCs B162B/85, B162C/85, B163B/86 и B163C/86 не выводятся.

    C

    A

    ЗАМЕНИТЕ ЦЕНТРАЛЬНЫЙ БЛОК УПРАВЛЕНИЯ СИСТЕМЫ SRS

    Нажмите здесьClick hereClick here

    B

    ЗАМЕНИТЕ ЛЕВЫЙ БОКОВОЙ ДАТЧИК СИСТЕМЫ SRS

    Нажмите здесьClick hereClick hereClick here

    C

    ВЫПОЛНИТЕ ПРОВЕРКУ С ИМИТАЦИЕЙ УСЛОВИЙ ВОЗНИКНОВЕНИЯ НЕИСПРАВНОСТИ

    Нажмите здесьClick hereClick hereClick hereClick here