АУДИОВИЗУАЛЬНАЯ СИСТЕМА (для моделей с 8-дюймовым дисплеем) Цепь микрофона

Код DTC Наименование DTC
Цепь микрофона

ОПИСАНИЕ

Для моделей с приемопередатчиком системы обработки и передачи информации с поддержкой G-BOOK:

  • Радиоприемник и микрофон телефона соединены между собой линиями сигнала обнаружения подключения микрофона.

  • По этой цепи DCM (приемопередатчик системы обработки и передачи информации) подает питание на микрофон телефона, а микрофон телефона передает сигналы микрофона в радиоприемник.

Для моделей без приемопередатчика системы обработки и передачи информации, или с приемопередатчиком системы обработки и передачи информации без поддержки G-BOOK:

  • Радиоприемник и микрофон телефона соединены между собой линиями сигнала обнаружения подключения микрофона.

  • По этой цепи радиоприемник в сборе подает питание на микрофон телефона в сборе, а микрофон телефона в сборе передает сигналы микрофона в радиоприемник в сборе.

СХЕМА ЭЛЕКТРИЧЕСКИХ СОЕДИНЕНИЙ

E385741E01
E382848E04

ПРЕДОСТЕРЕЖЕНИЕ / ПРИМЕЧАНИЕ / УКАЗАНИЕ

Note:
  • Радиоприемник в сборе следует заменять исключительно новым узлом.

    Если для замены будет использован радиоприемник в сборе с другого автомобиля, может произойти следующее:

    • Может быть сохранен DTC нарушения обмена данными.

    • Работа радиоприемника в сборе может быть нарушена.

  • DCM (приемопередатчик системы обработки и передачи информации) следует заменять исключительно новым блоком (для моделей с приемопередатчиком системы обработки и передачи информации с поддержкой системы G-BOOK).

Tip:

В зависимости от замененных деталей или операций, которые были выполнены при проверке или обслуживании автомобиля, может потребоваться инициализация, регистрация или калибровка. См. раздел "Меры предосторожности при работе с аудиовизуальной системой".

Нажмите здесьClick here

ПОРЯДОК ВЫПОЛНЕНИЯ

  1. ПРОВЕРЬТЕ ТИП АВТОМОБИЛЯ

    1. Проверьте тип автомобиля. См. операцию "Проверьте микрофон" в разделе "Проверка работы".

      Нажмите здесьClick here

    Result

    Result

    Перейти К

    Для моделей без функции записи

    A

    для моделей с функцией записи

    B

    B

    ПРОВЕРЬТЕ МИКРОФОН И РАСПОЗНАВАНИЕ ГОЛОСАClick here

    A
  2. ПРОВЕРЬТЕ МИКРОФОН И РАСПОЗНАВАНИЕ ГОЛОСА

    1. E277821

      Войдите в экран "Microphone Check" (проверка микрофона). См. операцию "Проверьте микрофон" в разделе "Проверка работы".

      Нажмите здесьClick here

    2. Говоря в микрофон, убедитесь в том, что индикатор входного уровня микрофона изменяется в соответствии с поступающим голосом.

      Tip:

      Когда отображается экран "Microphone Check" (проверка микрофона), микрофон постоянно включен.

      СООТВ

      Состояние индикатора уровня сигнала микрофона изменяется в соответствии с голосом.

    Результат

    Перейти к

    OK

    НЕ СООТВ.

    OK

    ПЕРЕЙДИТЕ К СЛЕДУЮЩЕЙ ПРЕДПОЛАГАЕМОЙ ЗОНЕ, УКАЗАННОЙ В ТАБЛИЦЕ ПРИЗНАКОВ НЕИСПРАВНОСТЕЙ

    Нажмите здесьClick hereClick here

    NG
  3. ПРОВЕРЬТЕ ТИП АВТОМОБИЛЯ

    1. Проверьте тип автомобиля.

    Result

    Result

    Перейти к

    для моделей с приемопередатчиком системы обработки и передачи информации с поддержкой G-BOOK

    А

    для моделей без приемопередатчика системы обработки и передачи информации, или с приемопередатчиком системы обработки и передачи информации без поддержки G-BOOK

    B

    B

    ПРОВЕРЬТЕ ЖГУТ ПРОВОДОВ И РАЗЪЕМ (РАДИОПРИЕМНИК - МИКРОФОН ТЕЛЕФОНА)Click here

    A
  4. ПРОВЕРЬТЕ ЖГУТ ПРОВОДОВ И РАЗЪЕМ (РАДИОПРИЕМНИК - МИКРОФОН ТЕЛЕФОНА)

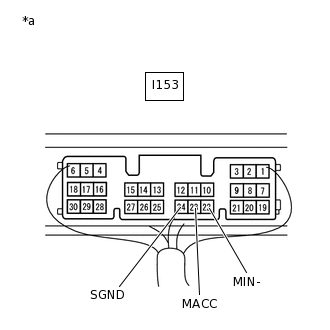
    1. Отсоедините разъем I153 радиоприемника в сборе.

    2. Отсоедините разъем T20 микрофона телефона в сборе.

    3. Измерьте сопротивление в соответствии со значениями, приведенными в таблице ниже.

      Номинальное сопротивление

      Подключение диагностического прибора

      Условие

      Заданные условия

      I153-25 (SNS2) - T20-3 (SNS2)

      Всегда

      Менее 1 Ом

      I153-25 (SNS2) - масса

      Всегда

      10 кОм или более

    Результат

    Перейти к

    OK

    НЕ СООТВ.

    НЕ СООТВ.

    ОТРЕМОНТИРУЙТЕ ИЛИ ЗАМЕНИТЕ ЖГУТ ПРОВОДОВ ИЛИ РАЗЪЕМ

    СООТВ
  5. ПРОВЕРЬТЕ ЖГУТ ПРОВОДОВ И РАЗЪЕМ (РАДИОПРИЕМНИК В СБОРЕ - DCM (ПРИЕМОПЕРЕДАТЧИК СИСТЕМЫ ОБРАБОТКИ И ПЕРЕДАЧИ ИНФОРМАЦИИ))

    1. Отсоедините разъем I153 радиоприемника в сборе.

    2. Отсоедините разъем I40 блока DCM (приемопередатчика системы обработки и передачи информации).

    3. Измерьте сопротивление в соответствии со значениями, приведенными в таблице.

      Номинальное сопротивление

      Подключение диагностического прибора

      Условие

      Заданные условия

      I153-21 (MIN+) - I40-18 (MCO+)

      Всегда

      Менее 1 Ом

      I153-22 (MIN-) - I40-19 (MCO-)

      Всегда

      Менее 1 Ом

      I153-21 (MIN+) - масса

      Всегда

      10 кОм или более

      I153-22 (MIN-) - масса

      Всегда

      10 кОм или более

      I153-24 (SGND) - масса

      Всегда

      10 кОм или более

    Результат

    Перейти к

    OK

    НЕ СООТВ.

    НЕ СООТВ.

    ОТРЕМОНТИРУЙТЕ ИЛИ ЗАМЕНИТЕ ЖГУТ ПРОВОДОВ ИЛИ РАЗЪЕМ

    СООТВ
  6. ПРОВЕРЬТЕ ЖГУТ ПРОВОДОВ И РАЗЪЕМ (DCM (ПРИЕМОПЕРЕДАТЧИК СИСТЕМЫ ОБРАБОТКИ И ПЕРЕДАЧИ ИНФОРМАЦИИ) - МИКРОФОН ТЕЛЕФОНА)

    1. Отсоедините разъем I40 блока DCM (приемопередатчика системы обработки и передачи информации).

    2. Отсоедините разъем T20 микрофона телефона в сборе.

    3. Измерьте сопротивление в соответствии со значениями, приведенными в таблице ниже.

      Номинальное сопротивление

      Подключение диагностического прибора

      Условие

      Заданные условия

      I40-33 (MCVD) - T20-1 (MACC)

      Всегда

      Менее 1 Ом

      I40-34 (MCI+) - T20-2 (MCO+)

      Всегда

      Менее 1 Ом

      I40-35 (MCI-) - T20-4 (MCO-)

      Всегда

      Менее 1 Ом

      I40-33 (MCVD) - масса

      Всегда

      10 кОм или более

      I40-34 (MCI+) - масса

      Всегда

      10 кОм или более

      I40-35 (MCI-) - масса

      Всегда

      10 кОм или более

      I40-32 (SGND) - масса

      Всегда

      10 кОм или более

    Результат

    Перейти к

    OK

    НЕ СООТВ.

    НЕ СООТВ.

    ОТРЕМОНТИРУЙТЕ ИЛИ ЗАМЕНИТЕ ЖГУТ ПРОВОДОВ ИЛИ РАЗЪЕМ

    СООТВ
  7. ПРОВЕРЬТЕ DCM (ПРИЕМОПЕРЕДАТЧИК СИСТЕМЫ ОБРАБОТКИ И ПЕРЕДАЧИ ИНФОРМАЦИИ)

    1. E283057C37

      *a

      Устройство с подсоединенным жгутом проводов

      (DCM (приемопередатчик системы обработки и передачи информации))

      Снимите DCM (приемопередатчик системы обработки и передачи информации), не отсоединяя разъемов.

    2. Измерьте напряжение в соответствии со значениями, приведенными в таблице.

      Номинальное напряжение

      Контакты для подключения диагностического прибора

      Положение переключателя

      Номинальное значение

      I40-33 (MCVD) - масса

      Выключатель зажигания в положении ACC

      4-6 В

    3. Измерьте сопротивление в соответствии со значениями, приведенными в таблице.

      Номинальное сопротивление

      Подключение диагностического прибора

      Условие

      Номинальное значение

      I40-32 (SGND) - масса

      Всегда

      Менее 1 Ом

      I40-35 (MCI-) - масса

      Всегда

      Менее 1 Ом

    Результат

    Перейти к

    OK

    НЕ СООТВ.

    НЕ СООТВ.

    ЗАМЕНИТЕ DCM (ПРИЕМОПЕРЕДАТЧИК СИСТЕМЫ ОБРАБОТКИ И ПЕРЕДАЧИ ИНФОРМАЦИИ)

    Нажмите здесьClick here

    СООТВ
  8. ПРОВЕРЬТЕ МИКРОФОН ТЕЛЕФОНА В СБОРЕ (ВЫВОД СИГНАЛА В DCM [ПРИЕМОПЕРЕДАТЧИК СИСТЕМЫ ОБРАБОТКИ И ПЕРЕДАЧИ ИНФОРМАЦИИ])

    E364295C10

    *a

    Устройство с подсоединенным жгутом проводов

    (микрофон телефона в сборе)

    1. Проверьте форму выходного сигнала.

      1. Снимите микрофон телефона в сборе, не отсоединяя его разъемов.

        Нажмите здесьClick here

      2. Подключите осциллограф к контактам T20-2 (MCO+) и T20-4 (MCO-).

      3. Включите зажигание (ACC).

      4. Когда пользователь располагается на расстоянии менее 125 мм от отверстий микрофона телефона в крышке держателя обивки крыши, звук поступает в микрофон телефона.

      5. Проверьте форму сигнала в соответствии с условиями, указанными в таблице ниже.

        Параметр / Устройство

        Условие

        Контакты, на которых выполняются измерения

        T20-2 (MCO+) - T20-4 (MCO-)

        Настройки прибора

        50 мВ/дел., 500 мс/дел.

        Состояние автомобиля

        1. Питание включено (АСС)

        2. Когда пользователь располагается на расстоянии менее 125 мм от отверстий микрофона телефона в крышке держателя обивки крыши, звук поступает в микрофон телефона.

        СООТВ

        Форма сигнала похожа на показанную на рисунке.

        Tip:

        Осциллограмма в примере на рисунке приведена только для справки.

    Результат

    Перейти к

    OK

    НЕ СООТВ.

    НЕ СООТВ.

    ЗАМЕНИТЕ МИКРОФОН ТЕЛЕФОНА В СБОРЕ

    Нажмите здесьClick here

    СООТВ
  9. ПРОВЕРЬТЕ DCM (ПРИЕМОПЕРЕДАТЧИК СИСТЕМЫ ОБРАБОТКИ И ПЕРЕДАЧИ ИНФОРМАЦИИ) (ВЫВОД СИГНАЛА В РАДИОПРИЕМНИК)

    E364296C07

    *a

    Устройство с подсоединенным жгутом проводов

    (DCM (приемопередатчик системы обработки и передачи информации))

    1. Проверьте форму выходного сигнала.

      1. Снимите DCM (приемопередатчик системы обработки и передачи информации), не отсоединяя разъемов.

        Нажмите здесьClick here

      2. Подключите осциллограф к контактам I40-18 (MCO+) и I40-19 (MCO-).

      3. Включите зажигание (ACC).

      4. Когда пользователь располагается на расстоянии менее 125 мм от отверстий микрофона телефона в крышке держателя обивки крыши, звук поступает в микрофон телефона.

      5. Проверьте форму сигнала в соответствии с условиями, указанными в таблице ниже.

        Параметр / Устройство

        Условие

        Контакты, на которых выполняются измерения

        I40-18 (MCO+) - I40-19 (MCO-)

        Настройки прибора

        50 мВ/дел., 500 мс/дел.

        Состояние автомобиля

        1. Питание включено (АСС)

        2. Когда пользователь располагается на расстоянии менее 125 мм от отверстий микрофона телефона в крышке держателя обивки крыши, звук поступает в микрофон телефона.

        СООТВ

        Форма сигнала похожа на показанную на рисунке.

        Tip:

        Осциллограмма в примере на рисунке приведена только для справки.

    Результат

    Перейти к

    OK

    НЕ СООТВ.

    OK

    ЗАМЕНИТЕ РАДИОПРИЕМНИК В СБОРЕ

    Нажмите здесьClick here

    НЕ СООТВ.

    ЗАМЕНИТЕ DCM (ПРИЕМОПЕРЕДАТЧИК СИСТЕМЫ ОБРАБОТКИ И ПЕРЕДАЧИ ИНФОРМАЦИИ)

    Нажмите здесьClick here

  10. ПРОВЕРЬТЕ МИКРОФОН И РАСПОЗНАВАНИЕ ГОЛОСА

    1. E268457

      Войдите в экран "Microphone Check" (проверка микрофона). См. операцию "Проверьте микрофон" в разделе "Проверка работы".

      Нажмите здесьClick here

    2. Говоря в микрофон, убедитесь в том, что индикатор входного уровня микрофона изменяется в соответствии с поступающим голосом.

      Tip:

      Когда отображается экран "Microphone Check" (проверка микрофона), микрофон постоянно включен.

    3. Нажмите на переключатель записи и запишите голосовую информацию.

      Tip:
      • Выберите переключатель записи, когда электродвигатель вентилятора системы кондиционирования выключен. Если выходной дефлектор системы кондиционирования направлен на микрофон, в записи может присутствовать шум.

      • Голос может записываться в течение 5 с.

    4. Убедитесь в том, что индикатор записи остается включенным во время записи, и записанный голос воспроизводится нормально, без шумов и искажений.

      OK

      Все результаты проверки в норме.

    Result

    Перейти к

    OK

    НЕ СООТВ.

    OK

    ПЕРЕЙДИТЕ К СЛЕДУЮЩЕЙ ПРЕДПОЛАГАЕМОЙ ЗОНЕ, УКАЗАННОЙ В ТАБЛИЦЕ ПРИЗНАКОВ НЕИСПРАВНОСТЕЙ

    Нажмите здесьClick hereClick here

    NG

    ПРОВЕРЬТЕ ТИП АВТОМОБИЛЯClick here

  11. ПРОВЕРЬТЕ ЖГУТ ПРОВОДОВ И РАЗЪЕМ (РАДИОПРИЕМНИК - МИКРОФОН ТЕЛЕФОНА)

    1. Отсоедините разъем I153 радиоприемника в сборе.

    2. Отсоедините разъем T20 микрофона телефона в сборе.

    3. Измерьте сопротивление в соответствии со значениями, приведенными в таблице ниже.

      Номинальное сопротивление

      Подключение диагностического прибора

      Условие

      Заданные условия

      I153-25 (SNS2) - T20-3 (SNS2)

      Всегда

      Менее 1 Ом

      I153-23 (MACC) - T20-1 (MACC)

      Всегда

      Менее 1 Ом

      I153-21 (MIN+) - T20-2 (MCO+)

      Всегда

      Менее 1 Ом

      I153-22 (MIN-) - T20-4 (MCO-)

      Всегда

      Менее 1 Ом

      I153-25 (SNS2) - масса

      Всегда

      10 кОм или более

      I153-23 (MACC) - масса

      Всегда

      10 кОм или более

      I153-21 (MIN+) - масса

      Всегда

      10 кОм или более

      I153-22 (MIN-) - масса

      Всегда

      10 кОм или более

      I153-24 (SGND) - масса

      Всегда

      10 кОм или более

    Результат

    Перейти к

    OK

    НЕ СООТВ.

    НЕ СООТВ.

    ОТРЕМОНТИРУЙТЕ ИЛИ ЗАМЕНИТЕ ЖГУТ ПРОВОДОВ ИЛИ РАЗЪЕМ

    СООТВ
  12. ПРОВЕРЬТЕ РАДИОПРИЕМНИК В СБОРЕ

    1. E362172C07

      *a

      Устройство с подсоединенным жгутом проводов

      (Радиоприемник в сборе)

      Снимите радиоприемник в сборе с подсоединенным разъемом (разъемами).

    2. Измерьте напряжение в соответствии со значениями, приведенными в таблице.

      Номинальное напряжение

      Контакты для подключения диагностического прибора

      Положение переключателя

      Заданные условия

      I153-23 (MACC) - масса

      Выключатель питания в положении ACC

      4-6 В

    3. Измерьте сопротивление в соответствии со значениями, приведенными в таблице.

      Номинальное сопротивление

      Подключение диагностического прибора

      Условие

      Заданные условия

      I153-22 (MIN-) - масса

      Всегда

      Менее 1 Ом

      I153-24 (SGND) - масса

      Всегда

      Менее 1 Ом

    Результат

    Перейти к

    OK

    НЕ СООТВ.

    НЕ СООТВ.

    ЗАМЕНИТЕ РАДИОПРИЕМНИК В СБОРЕ

    Нажмите здесьClick here

    СООТВ
  13. ПРОВЕРЬТЕ МИКРОФОН ТЕЛЕФОНА В СБОРЕ (ВЫВОД СИГНАЛА В РАДИОПРИЕМНИК)

    E364295C10

    *a

    Устройство с подсоединенным жгутом проводов

    (микрофон телефона в сборе)

    1. Проверьте форму выходного сигнала.

      1. Снимите микрофон телефона в сборе, не отсоединяя его разъемов.

        Нажмите здесьClick here

      2. Подключите осциллограф к контактам T20-2 (MCO+) и T20-4 (MCO-).

      3. Включите зажигание (ACC).

      4. Когда пользователь располагается на расстоянии менее 125 мм от отверстий микрофона телефона в крышке держателя обивки крыши, звук поступает в микрофон телефона.

      5. Проверьте форму сигнала в соответствии с условиями, указанными в таблице ниже.

        Параметр / Устройство

        Условие

        Контакты, на которых выполняются измерения

        T20-2 (MCO+) - T20-4 (MCO-)

        Настройки прибора

        50 мВ/дел., 500 мс/дел.

        Состояние автомобиля

        1. Питание включено (АСС)

        2. Когда пользователь располагается на расстоянии менее 125 мм от отверстий микрофона телефона в крышке держателя обивки крыши, звук поступает в микрофон телефона.

        СООТВ

        Форма сигнала похожа на показанную на рисунке.

        Tip:

        Осциллограмма в примере на рисунке приведена только для справки.

    Результат

    Перейти к

    OK

    НЕ СООТВ.

    OK

    ЗАМЕНИТЕ РАДИОПРИЕМНИК В СБОРЕ

    Нажмите здесьClick here

    NG

    ЗАМЕНИТЕ МИКРОФОН ТЕЛЕФОНА В СБОРЕ

    Нажмите здесьClick here