CYLINDER HEAD REPAIR

PROCEDURE

  1. REPAIR INTAKE VALVE SEAT

    Note:
    • Repair the seat while checking the seating position.

    • Release the cutter gradually to make the valve seat smooth.

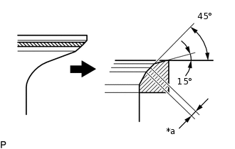
    1. A319794C01

      *a

      Width

      If the seating is too high on the intake valve face, use 45° and 15° cutters to correct the intake valve seat.

    2. A319795C01

      *a

      Width

      If the seating is too low on the intake valve face, use 72° and 45° cutters to correct the intake valve seat.

    3. Check that the intake valve seat contacts in the middle of the intake valve face and has the following width.

      Standard Width

      1.2 mm (0.0472 in.)

  2. REPAIR EXHAUST VALVE SEAT

    Note:
    • Repair the seat while checking the seating position.

    • Release the cutter gradually to make the valve seat smooth.

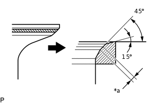
    1. A319794C03

      *a

      Width

      If the seating is too high on the exhaust valve face, use 45° and 15° cutters to correct the exhaust valve seat.

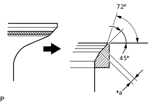
    2. A101382C05

      *a

      Width

      If the seating is too low on the exhaust valve face, use 60° and 45° cutters to correct the exhaust valve seat.

    3. Check that the exhaust valve seat contacts in the middle of the exhaust valve face and has the following width.

      Standard Width

      1.4 mm (0.0551 in.)