LUMBAR SWITCH INSPECTION

PROCEDURE

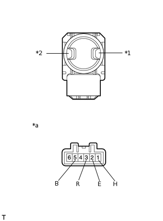
  1. INSPECT POWER SEAT SWITCH ASSEMBLY (for LHD)

    B239575C10

    *1

    Hold Switch

    *2

    Release Switch

    *a

    Component without harness connected

    (Power Seat Switch Assembly)

    1. Check the resistance.

      1. Measure the resistance according to the value(s) in the table below.

        Standard Resistance

        Tester Connection

        Switch Condition

        Specified Condition

        5 (B) - 3 (H)

        Hold switch on

        Below 1 Ω

        2 (E) - 1 (R)

        2 (E) - 3 (H)

        Neutral

        Below 1 Ω

        2 (E) - 1 (R)

        2 (E) - 3 (H)

        Release switch on

        Below 1 Ω

        5 (B) - 1 (R)

        If the result is not as specified, replace the power seat switch assembly.

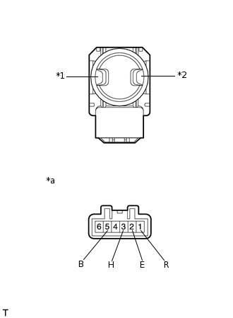
  2. INSPECT POWER SEAT SWITCH ASSEMBLY (for RHD)

    B239575C40

    *1

    Hold Switch

    *2

    Release Switch

    *a

    Component without harness connected

    (Power Seat Switch Assembly)

    1. Check the resistance.

      1. Measure the resistance according to the value(s) in the table below.

        Standard Resistance

        Tester Connection

        Switch Condition

        Specified Condition

        5 (B) - 1 (H)

        Hold switch on

        Below 1 Ω

        2 (E) - 3 (R)

        2 (E) - 1 (H)

        Neutral

        Below 1 Ω

        2 (E) - 3 (R)

        2 (E) - 1 (H)

        Release switch on

        Below 1 Ω

        5 (B) - 3 (R)

        If the result is not as specified, replace the power seat switch assembly.