СИСТЕМА КУРСОВОЙ УСТОЙЧИВОСТИ, Diagnostic DTC:C1281, C1422

Код DTC Наименование DTC
C1281 Недопустимый сигнал на выходе датчика давления в главном цилиндре (DTC режима активной диагностики)
C1422 Ошибка "нуля" датчика давления в главном цилиндре (высокий уровень)

ОПИСАНИЕ

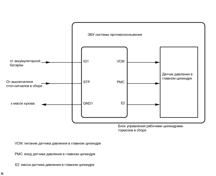
Датчик давления в главном тормозном цилиндре подсоединен к ЭБУ системы противоскольжения в блоке управления рабочими цилиндрами тормозов в сборе.

При выходе из режима активной диагностики и передаче датчиком давления в главном цилиндре сигнала давления в главном цилиндре DTC C1281 удаляется. DTC C1281 выводится только в режиме активной диагностики.

B0065OBE40
№ DTC Неисправность Условие обнаружения DTC Неисправный участок
C1281 Недопустимый сигнал на выходе датчика давления в главном цилиндре (DTC режима активной диагностики) Регистрируется только в режиме активной диагностики.
  • Выключатель стоп-сигналов в сборе

  • Датчик давления в главном цилиндре (блок управления рабочими цилиндрами тормозов в сборе)

  • Реле нагрузки на педаль тормоза (кронштейн педали тормоза в сборе)

C1422 Ошибка "нуля" датчика давления в главном цилиндре (высокий уровень) При движении со скоростью не менее 3 км/час (2 мили в час) в состоянии OFF (ВЫКЛ) выключателя стоп-сигналов напряжение на контакте PMC в течение не менее 5 с превышает 0,86 В.
  • Цепь выключателя стоп-сигналов

  • Цепь датчика давления в главном цилиндре

  • Датчик давления в главном цилиндре (блок управления рабочими цилиндрами тормозов в сборе)

Tech Tips

Для моделей с C1422: Даже после устранения неисправностей контрольная лампа ABS выключается только после выполнения следующих операций:


  1. Включите зажигание (IG).

  2. Остановите автомобиль на 5 с или более и слегка нажмите педаль тормоза 2–3 раза.

  3. Разгоните автомобиль до скорости 50 км/час (31 миля в час), а затем нажмите педаль тормоза и твердо удерживайте ее нажатой примерно в течение 3 с.

  4. Повторите указанную операцию не менее 3 раз и убедитесь, что контрольная лампа ABS погасла.

  5. Удалите коды DTC.

СХЕМА СОЕДИНЕНИЙ

См. DTC C1425 и C1429.

Для моделей с C1425: Нажмите здесь Click here

Для моделей с C1429: Нажмите здесь Click here

ПРЕДОСТЕРЕЖЕНИЕ / ПРИМЕЧАНИЕ / УКАЗАНИЕ

Note


  • В случае замены ЭБУ системы противоскольжения (блока управления рабочими цилиндрами тормозов в сборе) выполните калибровку "нуля" датчика и сохраните системную информацию.

    Нажмите здесь Click here

  • Перед выполнением последующей процедуры проверки проверьте плавкие предохранители цепей, относящихся к данной системе.

Tech Tips

Если вместе с C1422 выводится код C1425, сначала следует проверить и отремонтировать неисправные участки, на которые указывает код C1425.

Нажмите здесь Click here

ПОРЯДОК ВЫПОЛНЕНИЯ


  1. ПРОВЕРЬТЕ РАБОТУ СТОП-СИГНАЛОВ


    1. Убедитесь, что при нажатии педали тормоза стоп-сигналы включаются, а при отпускании – гаснут.

      OK
      Условие Состояние освещения
      Педаль тормоза нажата. Вкл
      Педаль тормоза отпущена. Выкл
      Результат
      Перейти к
      OK
      NG

    NG
    OK
  2. СНИМИТЕ ПОКАЗАНИЯ GTS (ВЫКЛЮЧАТЕЛЬ СТОП-СИГНАЛОВ И РЕЛЕ НАГРУЗКИ НА ПЕДАЛЬ ТОРМОЗА)


    1. Подключите GTS к DLC3.

    2. Запустите двигатель.

    3. Выберите Data List на дисплее GTS.

      Нажмите здесь Click here


      Chassis > ABS/VSC/TRC > Data List
      Информация на дисплее прибора Измеряемая величина Диапазон Нормальное состояние Замечание по диагностике
      Stop Light SW Выключатель стоп-сигналов в сборе ON (ВКЛ) или OFF (ВЫКЛ)

      ON (ВКЛ): педаль тормоза нажата

      OFF (ВЫКЛ): педаль тормоза отпущена

      -
      Brake Pedal Load Sensing SW Реле нагрузки на педаль тормоза. ON (ВКЛ) или OFF (ВЫКЛ)

      ON (ВКЛ): педаль тормоза нажата далее заданной точки

      OFF (ВЫКЛ): педаль тормоза не нажата далее заданной точки

      -

      Chassis > ABS/VSC/TRC > Data List
      Информация на дисплее прибора
      Stop Light SW
      Brake Pedal Load Sensing SW
    4. Убедитесь, что состояние выключателя стоп-сигналов и реле нагрузки на педали тормоза на экране GTS изменяется в соответствии с нажатием на педаль тормоза.

      OK
      На экране GTS отображается значение ON (ВКЛ) или OFF (ВЫКЛ) в соответствии с состоянием педали тормоза.
    5. Медленно нажмите педаль тормоза и удостоверьтесь, что выключатель стоп-сигналов и реле нагрузки на педаль тормоза включаются.

      OK
      Вначале включается выключатель стоп-сигналов, а затем – реле нагрузки на педаль тормоза.
      Результат
      Перейти к
      OK А
      NG (выключатель стоп-сигналов не включается.) B
      NG (включение реле нагрузки на педаль тормоза не подтверждено.) C
      NG (первым включается реле нагрузки на педаль тормоза.) D

    B
    C
    D
    А
  3. СНИМИТЕ ПОКАЗАНИЯ GTS (MASTER CYLINDER PRESSURE SENSOR)


    1. Выберите Data List на дисплее GTS.

      Нажмите здесь Click here


      Chassis > ABS/VSC/TRC > Data List
      Информация на дисплее прибора Измеряемая величина Диапазон Нормальное состояние Замечание по диагностике
      Master Cylinder Sensor Показания датчика давления в главном тормозном цилиндре Мин.: 0,00 В, макс.: 5,00 В Педаль тормоза отпущена: 0,30 - 0,80 В Показания увеличиваются при нажатии педали тормоза

      Chassis > ABS/VSC/TRC > Data List
      Информация на дисплее прибора
      Master Cylinder Sensor
    2. Убедитесь, что давление тормозной жидкости, измеряемое датчиком давления в главном цилиндре и отображаемое на GTS, изменяется при нажатии педали тормоза.

      OK
      При нажатой педали напряжение, отображаемое на экране GTS, возрастает.
      Результат
      Следующий шаг
      OK
      NG

    NG
    OK
  4. СНОВА ПРОВЕРЬТЕ DTC


    1. Сбросьте коды DTC.

      Нажмите здесь Click here


      Chassis > ABS/VSC/TRC > Clear DTCs
    2. Выключите зажигание.

    3. Запустите двигатель.

    4. Совершите поездку на автомобиле и выполните испытание тормозной системы (замедлите движение автомобиля, нажав на педаль тормоза).

    5. Проверьте, выводится ли такой же DTC.

      Нажмите здесь Click here


      Chassis > ABS/VSC/TRC > Trouble Codes
      Результат
      Результат Следующий шаг
      DTC C1422 не выводится. А
      Выводится DTC C1422. B

    А
    B
  5. ПРОВЕРЬТЕ ЖГУТ ПРОВОДОВ И РАЗЪЕМ (КОНТАКТ STP)


    1. B0066KWC41
      *a

      Вид спереди разъема со стороны жгута проводов:

      (к ЭБУ системы противоскольжения (блоку управления рабочими цилиндрами тормозов))

      Выключите зажигание.

    2. Проверьте, не ослаблены ли фиксирующая и соединительная части разъема.

    3. Отсоедините разъем A15 ЭБУ системы противоскольжения (блока управления рабочими цилиндрами тормозов в сборе).

    4. Измерьте напряжение в соответствии со значениями, приведенными в таблице.

      Номинальное напряжение
      Подключение диагностического прибора Условие Заданные условия
      A15-2 (STP) - масса Выключатель стоп-сигналов включен (педаль тормоза нажата) 8–14 В
      A15-2 (STP) - масса Выключатель стоп-сигналов в положении OFF (ВЫКЛ) (педаль тормоза отпущена) Менее 1,5 В
      Результат
      Следующий шаг
      OK
      NG

    OK
    NG
  6. ПРОВЕРЬТЕ КРОНШТЕЙН ПЕДАЛИ ТОРМОЗА В СБОРЕ


    1. B0065SNC01
      *a

      Устройство с неподсоединенным жгутом проводов

      (Реле нагрузки на педаль тормоза (кронштейн педали тормоза в сборе))

      Выключите зажигание.

    2. Проверьте, не ослаблены ли фиксирующая и соединительная части разъема.

    3. Отсоедините разъем A51 реле нагрузки на педаль тормоза (кронштейна педали тормоза в сборе).

      Note


      • Не снимайте реле нагрузки на педаль тормоза с кронштейна педали тормоза в сборе.

      • При неисправности реле нагрузки на педаль тормоза замените кронштейн педали тормоза в сборе.

    4. Измерьте сопротивление в соответствии со значениями, приведенными в таблице ниже.

      Номинальное сопротивление
      Контакты для подключения диагностического прибора Условие Заданные условия
      2 (FSW+) - 1 (FSW-) Реле нагрузки на педаль тормоза выключено (педаль тормоза нажата) 950 - 1050 Ом
      2 (FSW+) - 1 (FSW-) Реле нагрузки на педаль тормоза включено (педаль тормоза отпущена) 203-223 Ом
      Результат
      Перейти к
      OK
      NG

    NG
    OK
  7. ПРОВЕРЬТЕ ЖГУТ ПРОВОДОВ И РАЗЪЕМ (БЛОК УПРАВЛЕНИЯ РАБОЧИМИ ЦИЛИНДРАМИ ТОРМОЗОВ - КРОНШТЕЙН ПЕДАЛИ ТОРМОЗА)


    1. Проверьте, не ослаблены ли фиксирующая и соединительная части разъема.

    2. Отсоедините разъем A15 ЭБУ системы противоскольжения (блока управления рабочими цилиндрами тормозов в сборе).

    3. Измерьте сопротивление в соответствии со значениями, приведенными в таблице ниже.

      Номинальное сопротивление
      Подключение диагностического прибора Условие Заданные условия
      A15-27 (FSW+) - A51-2 (FSW+) Всегда Менее 1 Ом
      A15-27 (FSW+) или A51-2 (FSW+) - масса Всегда 10 кОм или более
      A51-1 (FSW-) - масса Всегда Менее 1 Ом
      Результат
      Следующий шаг
      OK
      NG

    OK
    NG
  8. ПРОВЕРЬТЕ ВЫСОТУ УСТАНОВКИ ПЕДАЛИ ТОРМОЗА И ВЫКЛЮЧАТЕЛЬ СТОП-СИГНАЛОВ В СБОРЕ


    1. Выключите зажигание.

    2. Проверьте высоту педали тормоза и установку выключателя стоп-сигналов.

      Для моделей с левосторонним рулевым управлением: Нажмите здесь Click here

      Для моделей с правосторонним рулевым управлением: Нажмите здесь Click here

      OK
      Высота педали тормоза и установка выключателя стоп-сигналов в сборе в норме.
      Результат
      Следующий шаг
      OK
      NG

    OK
    NG