RADIATOR UPPER SUPPORT ASSEMBLY REPLACEMENT

A0050JB

  1. REMOVAL


      REMOVAL POINT

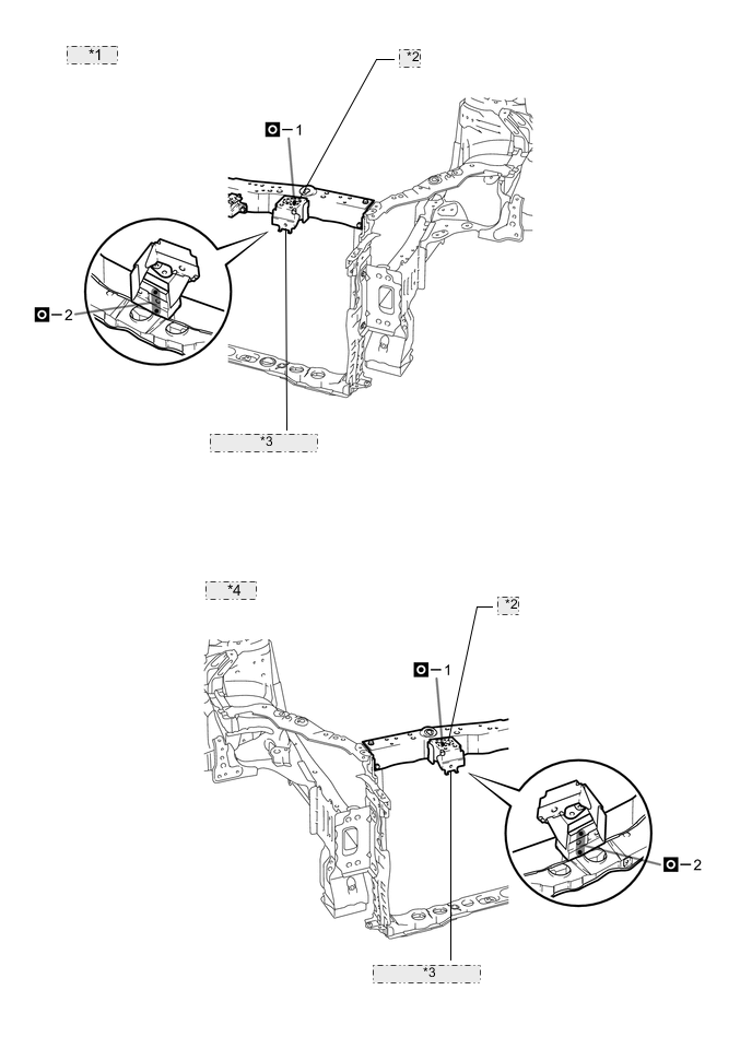
    1. *1: Bolts.

    A0050M8E01
  2. INSTALLATION

    Symbol meaning
    A0050CS Plug Weld

      INSTALLATION POINT

    1. Inspect the fitting of the related parts around the new parts before welding. This affects the appearance of the finish.

    2. Temporarily install the new parts and measure each part of the new parts in accordance with the body dimension diagram. (See the body dimensions)

    3. *1: Bolts.

    4. After applying the top coat, apply anti-rust agent to the internal panel portion of the closed section structural weld points.

    A0050FHE01
    A0050FJE01
    *1 LH Side:
    *2 FRONT BUMPER SIDE BRACKET
    *3 FRONT BUMPER STAY
    *4 RH Side: