TIRE PRESSURE WARNING VALVE REMOVAL

PROCEDURE

  1. REMOVE FRONT WHEEL

  2. REMOVE REAR WHEEL

  3. REMOVE FULL SIZE SPARE TIRE (w/ Full Size Spare Tire)

  4. REMOVE TIRE PRESSURE WARNING VALVE AND TRANSMITTER

    1. Remove the valve cap and valve core to release the air from the tire.

      Note:

      Keep the removed valve cap.

    2. After ensuring that a sufficient amount of air has been released, remove the nut and washer used to secure the tire pressure warning valve and transmitter. Then drop the tire pressure warning valve and transmitter with the grommet into the tire.

      Tip:

      The grommet may remain attached to the rim.

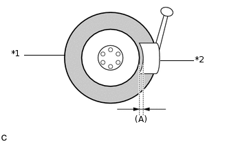
    3. C180021C05

      *1

      Tire

      *2

      Shoe

      After dropping the tire pressure warning valve and transmitter into the tire, disengage the bead using the shoe of a tire remover.

      Note:
      • Be careful as the tire pressure warning valve and transmitter may become damaged due to interference between the sensor and tire bead.

      • Set the tire remover shoe as shown in the illustration.

        Width (A)

        10 to 20 mm (0.394 to 0.787 in.)

    4. Separate the upper bead.

    5. Take out the tire pressure warning valve and transmitter with the grommet from the tire and separate the lower bead.

    6. Remove the grommet from the tire pressure warning valve and transmitter.