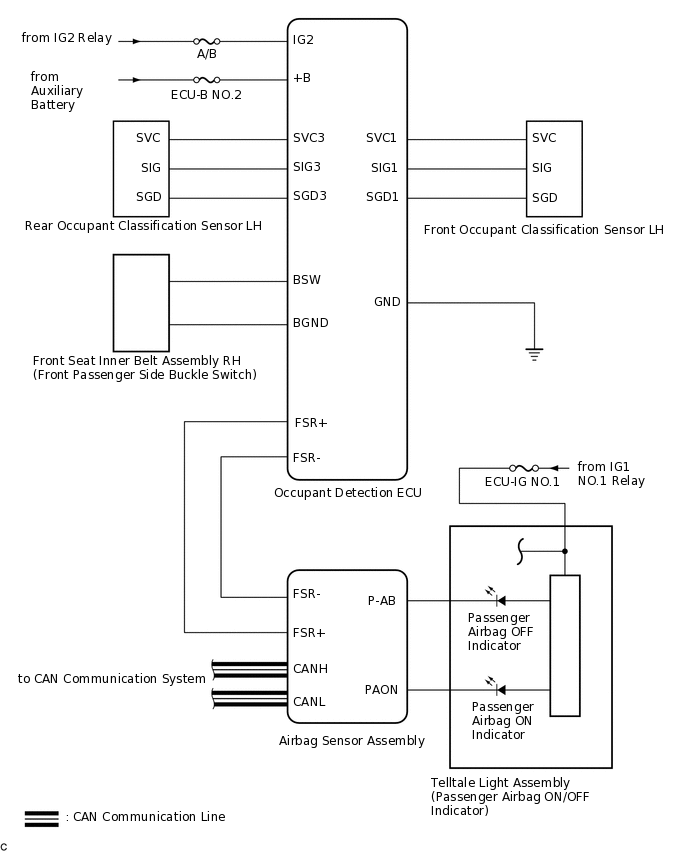
OCCUPANT CLASSIFICATION SYSTEM SYSTEM DIAGRAM

C265021E10