NAVIGATION SYSTEM Navigation Voice Circuit

DTC Code DTC Name
Navigation Voice Circuit

DESCRIPTION

This circuit is used when the voice guidance in the navigation system is on or an incoming cellular phone voice in the "Bluetooth" hands-free system is heard.

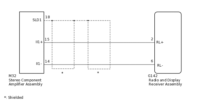
Using this circuit, the radio and display receiver assembly sends the signals to the stereo component amplifier assembly.

WIRING DIAGRAM

E307296E01

CAUTION / NOTICE / HINT

Note:

Check that the wire harness is properly installed and does not have any sharp bends, pinching or loose connections.

Click hereClick hereClick here

PROCEDURE

  1. CHECK HARNESS AND CONNECTOR (RADIO AND DISPLAY RECEIVER ASSEMBLY - STEREO COMPONENT AMPLIFIER ASSEMBLY)

    1. Disconnect the G142 radio and display receiver assembly connector.

    2. Disconnect the M32 stereo component amplifier connector.

    3. Measure the resistance according to the value(s) in the table below.

      Standard Resistance

      Tester Connection

      Condition

      Specified Condition

      M32-15 (II1+) - G142-2 (RL+)

      Always

      Below 1 Ω

      M32-14 (II1-) - G142-6 (RL-)

      Always

      Below 1 Ω

      M32-15 (II1+) - Body ground

      Always

      10 kΩ or higher

      M32-14 (II1-) - Body ground

      Always

      10 kΩ or higher

      M32-18 (SLD1) - Body ground

      Always

      10 kΩ or higher

    Result

    Proceed to

    OK

    NG

    OK

    PROCEED TO NEXT SUSPECTED AREA SHOWN IN PROBLEM SYMPTOMS TABLE

    NG

    REPAIR OR REPLACE HARNESS OR CONNECTOR