THERMOSTAT INSPECTION

PROCEDURE

  1. INSPECT THERMOSTAT

    A315420
    Tip:

    The valve opening temperature is inscribed on the thermostat.

    1. Immerse the thermostat in water, and then gradually heat the water.

    2. Check that the valve of the thermostat opens at the specified temperature.

      Standard valve opening temperature

      78 to 82°C (172 to 180°F)

      If the valve does not open as specified, replace the thermostat.

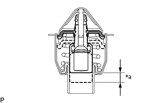
    3. A315421C01

      *a

      Valve Lift

      Check the valve lift.

      Standard valve lift

      10 mm (0.394 in.) or more at 93°C (199°F)

      If the valve lift is not as specified, replace the thermostat.

    4. Check that the valve is fully closed when the thermostat is at a low temperature (below 75°C (167°F)).

      If the valve is not fully closed, replace the thermostat.