WIPER SWITCH INSPECTION

PROCEDURE


  1. INSPECT WINDSHIELD WIPER SWITCH ASSEMBLY (for LHD)


    1. A01SIPDC03
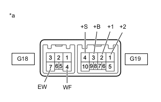
      *a

      Component without harness connected

      (Windshield Wiper Switch Assembly)

      Measure the resistance according to the value(s) in the table below.

      Standard Resistance
      Front Wiper Switch (w/ Intermittent Function)
      Tester Connection Condition Specified Condition
      G19-2 (+B) - G19-3 (+1) MIST Below 1 Ω
      G19-1 (+S) - G19-3 (+1) OFF
      G19-1 (+S) - G19-3 (+1) INT
      G19-2 (+B) - G19-3 (+1) LO
      G19-2 (+B) - G19-4 (+2) HI
      Front Wiper Switch (w/o Intermittent Function)
      Tester Connection Condition Specified Condition
      G19-2 (+B) - G19-3 (+1) MIST Below 1 Ω
      G19-1 (+S) - G19-3 (+1) OFF
      G19-2 (+B) - G19-3 (+1) LO
      G19-2 (+B) - G19-4 (+2) HI
      Front Washer Switch
      Tester Connection Condition Specified Condition
      G18-4 (EW) - G18-7 (WF) ON Below 1 Ω
      OFF 10 kΩ or higher

      If the result is not as specified, replace the windshield wiper switch assembly.

  2. INSPECT WINDSHIELD WIPER SWITCH ASSEMBLY (for RHD)


    1. A01SGE9C20
      *a

      Component without harness connected

      (Windshield Wiper Switch Assembly)

      Measure the resistance according to the value(s) in the table below.

      Standard Resistance
      Front Wiper Switch
      Tester Connection Condition Specified Condition
      G19-3 (+B) - G19-2 (+1) MIST Below 1 Ω
      G19-4 (+S) - G19-2 (+1) OFF
      G19-4 (+S) - G19-2 (+1) INT
      G19-3 (+B) - G19-2 (+1) LO
      G19-3 (+B) - G19-1 (+2) HI
      Front Washer Switch
      Tester Connection Condition Specified Condition
      G18-7 (EW) - G18-4 (WF) ON Below 1 Ω
      OFF 10 kΩ or higher

      If the result is not as specified, replace the windshield wiper switch assembly.