СИСТЕМА ОСВЕЩЕНИЯ Цепь лампы подсветки внутренней ручки

Код DTC Наименование DTC
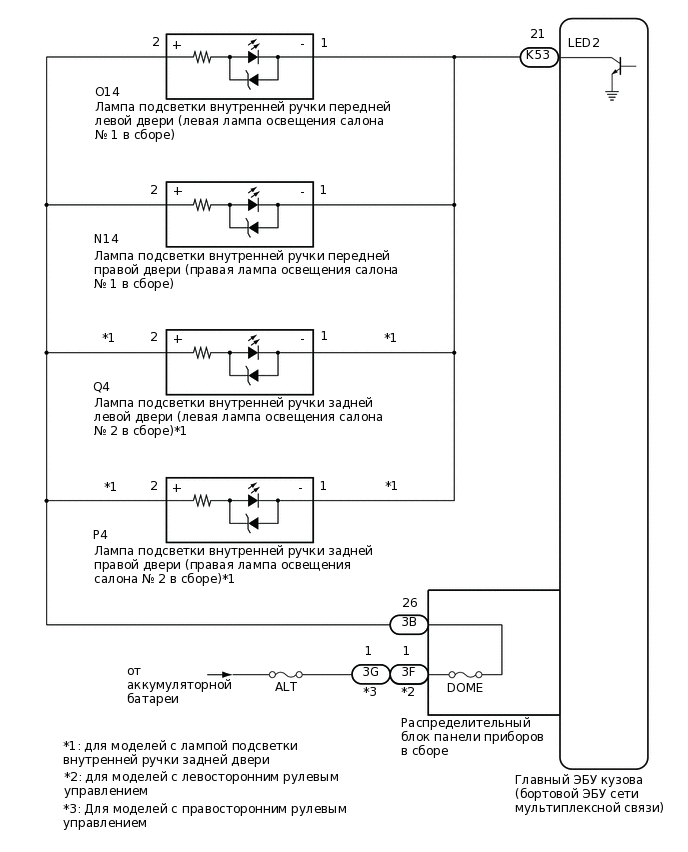
Цепь лампы подсветки внутренней ручки

ОПИСАНИЕ

Главный ЭБУ кузова (бортовой ЭБУ сети мультиплексной связи) управляет работой следующих световых устройств:

  • Лампа подсветки внутренней ручки передней левой двери (левая лампа освещения салона № 1 в сборе)

  • Лампа подсветки внутренней ручки передней правой двери (правая лампа освещения салона № 1 в сборе)

  • Лампа подсветки внутренней ручки задней левой двери (левая лампа освещения салона № 2 в сборе)*

  • Лампа подсветки внутренней ручки задней правой двери (правая лампа освещения салона № 2 в сборе)*

  • *: Для моделей с лампой подсветки внутренней ручки задней двери

СХЕМА ЭЛЕКТРИЧЕСКИХ СОЕДИНЕНИЙ

E377462E01

ПРЕДОСТЕРЕЖЕНИЕ / ПРИМЕЧАНИЕ / УКАЗАНИЕ

Note:
  • Перед выполнением последующей процедуры проверки проверьте плавкие предохранители цепей, относящихся к данной системе.

  • Перед заменой главного ЭБУ кузова (бортового ЭБУ сети мультиплексной связи) обратитесь к бюллетеню технического обслуживания.*1

  • Главный ЭБУ кузова (бортовой ЭБУ сети мультиплексной связи) получает питание аккумуляторной батареи автомобиля через аккумуляторную батарею системы блокировки дверей. По этой причине перед процедурой диагностики выполните проверку без снятия с автомобиля и убедитесь, что цепь питания главного ЭБУ кузова (бортового ЭБУ сети мультиплексной связи) исправна.*2

    Нажмите здесьЩелкните по следующей ссылке

    • *1: для моделей с интеллектуальной системой посадки и запуска

    • *2: для моделей с батареей системы блокировки дверей

ПОРЯДОК ВЫПОЛНЕНИЯ

  1. ВЫПОЛНИТЕ АКТИВНУЮ ДИАГНОСТИКУ С ПОМОЩЬЮ GTS

    1. Подключите GTS к DLC3.

    2. Установите замок зажигания в положение ON (ВКЛ).

    3. Включите GTS.

    4. Войдите в следующие меню: Body Electrical / Main Body / Active Test.

    5. Выполните диагностику в режиме ACTIVE TEST в соответствии с указаниями на дисплее GTS.

      Body Electrical > Main Body > Active Test

      Информация на дисплее прибора

      Измеряемая величина

      Диапазон регулирования

      Замечание по диагностике

      Interior Illumination Light2

      • Лампа подсветки внутренней ручки передней двери (лампа освещения салона № 1 в сборе)

      • Лампа подсветки внутренней ручки задней двери (лампа освещения салона № 2 в сборе)*

      OFF (ВЫКЛ) или ON (ВКЛ)

      Меры предосторожности в отношении использования испытаний Active Test для проверки управления яркостью свечения:

      • Зажигание включено

      • Рычаг переключения передач находится в любом положении, кроме P

      • *: Для моделей с лампой подсветки внутренней ручки задней двери

      Body Electrical > Main Body > Active Test

      Информация на дисплее прибора

      Interior Illumination Light2

      СООТВ

      Лампы подсветки внутренних ручек включаются.

    Результат

    Result

    Перейти к

    OK

    A

    NG (левая лампа подсветки внутренней ручки передней двери не загорается)

    B

    NG (правая лампа подсветки внутренней ручки передней двери не загорается)

    C

    NG (левая лампа подсветки внутренней ручки задней двери не загорается)*

    D

    NG (правая лампа подсветки внутренней ручки задней двери не загорается)*

    E

    NG (никакие лампы подсветки внутренних ручек дверей не загораются)

    F

    • *: Для моделей с лампой подсветки внутренней ручки задней двери

    A

    ВЫПОЛНИТЕ ПРОВЕРКУ С ИМИТАЦИЕЙ УСЛОВИЙ ВОЗНИКНОВЕНИЯ НЕИСПРАВНОСТИ

    C

    ПРОВЕРЬТЕ НЕТ. ПРАВАЯ ЛАМПА ОСВЕЩЕНИЯ САЛОНА 1 В СБОРЕЩелкните по следующей ссылке

    D

    ПРОВЕРЬТЕ НЕТ. ЛЕВАЯ ЛАМПА ОСВЕЩЕНИЯ САЛОНА 2 В СБОРЕЩелкните по следующей ссылке

    E

    ПРОВЕРЬТЕ НЕТ. ПРАВАЯ ЛАМПА ОСВЕЩЕНИЯ САЛОНА 2 В СБОРЕЩелкните по следующей ссылке

    F

    ПРОВЕРЬТЕ ЖГУТ ПРОВОДОВ И РАЗЪЕМ (ИСТОЧНИК ПИТАНИЯ – РАСПРЕДЕЛИТЕЛЬНЫЙ БЛОК ПАНЕЛИ ПРИБОРОВ В СБОРЕ)Щелкните по следующей ссылке

    B
  2. ПРОВЕРЬТЕ ЛЕВУЮ ЛАМПУ ОСВЕЩЕНИЯ САЛОНА № 1 В СБОРЕ

    1. Снимите лампу подсветки внутренней ручки передней левой двери (левая лампа освещения салона № 1 в сборе).

      Нажмите здесьЩелкните по следующей ссылке

    2. Осмотрите лампу подсветки внутренней ручки передней левой двери (левая лампа освещения салона № 1 в сборе).

      Нажмите здесьЩелкните по следующей ссылке

    Результат

    Перейти к

    OK

    НЕ СООТВ.

    НЕ СООТВ.

    ЗАМЕНИТЕ ЛАМПУ ПОДСВЕТКИ ВНУТРЕННЕЙ РУЧКИ ЛЕВОЙ ПЕРЕДНЕЙ ДВЕРИ (ЛЕВАЯ ЛАМПА ОСВЕЩЕНИЯ САЛОНА № 1 В СБОРЕ)

    СООТВ
  3. ПРОВЕРЬТЕ ЖГУТ ПРОВОДОВ И РАЗЪЕМ (РАСПРЕДЕЛИТЕЛЬНЫЙ БЛОК ПАНЕЛИ ПРИБОРОВ - ЛЕВАЯ ЛАМПА ОСВЕЩЕНИЯ САЛОНА № 1 В СБОРЕ)

    1. Отсоедините разъем 3B распределительного блока панели приборов.

    2. Измерьте сопротивление в соответствии со значениями, приведенными в таблице ниже.

      Номинальное сопротивление

      Подключение диагностического прибора

      Условие

      Заданные условия

      3B-26 - O14-2 (+)

      Всегда

      Менее 1 Ом

    Результат

    Перейти к

    OK

    НЕ СООТВ.

    НЕ СООТВ.

    ОТРЕМОНТИРУЙТЕ ИЛИ ЗАМЕНИТЕ ЖГУТ ПРОВОДОВ ИЛИ РАЗЪЕМ

    СООТВ
  4. ПРОВЕРЬТЕ ЖГУТ ПРОВОДОВ И РАЗЪЕМ (№ 1, ЛЕВАЯ ЛАМПА ОСВЕЩЕНИЯ САЛОНА В СБОРЕ – ГЛАВНЫЙ ЭБУ КУЗОВА (БОРТОВОЙ ЭБУ СЕТИ МУЛЬТИПЛЕКСНОЙ СВЯЗИ))

    1. Отсоедините разъем K53 главного ЭБУ кузова (бортового ЭБУ сети мультиплексной связи).

    2. Измерьте сопротивление в соответствии со значениями, приведенными в таблице ниже.

      Номинальное сопротивление

      Подключение диагностического прибора

      Условие

      Заданные условия

      O14-1 (-) - K53-21 (LED2)

      Всегда

      Менее 1 Ом

    Результат

    Перейти к

    OK

    НЕ СООТВ.

    OK

    ВЫПОЛНИТЕ ПРОВЕРКУ С ИМИТАЦИЕЙ УСЛОВИЙ ВОЗНИКНОВЕНИЯ НЕИСПРАВНОСТИ

    NG

    ОТРЕМОНТИРУЙТЕ ИЛИ ЗАМЕНИТЕ ЖГУТ ПРОВОДОВ ИЛИ РАЗЪЕМ

  5. ПРОВЕРЬТЕ ПРАВУЮ ЛАМПУ ОСВЕЩЕНИЯ САЛОНА № 1 В СБОРЕ

    1. Снимите лампу подсветки внутренней ручки передней правой двери (правая лампа освещения салона № 1 в сборе).

      Нажмите здесьЩелкните по следующей ссылке

    2. Осмотрите лампу подсветки внутренней ручки передней правой двери (правая лампа освещения салона № 1 в сборе).

      Нажмите здесьЩелкните по следующей ссылке

    Результат

    Перейти к

    OK

    НЕ СООТВ.

    НЕ СООТВ.

    ЗАМЕНИТЕ ЛАМПУ ПОДСВЕТКИ ВНУТРЕННЕЙ РУЧКИ ПРАВОЙ ПЕРЕДНЕЙ ДВЕРИ (ПРАВАЯ ЛАМПА ОСВЕЩЕНИЯ САЛОНА № 1 В СБОРЕ)

    СООТВ
  6. ПРОВЕРЬТЕ ЖГУТ ПРОВОДОВ И РАЗЪЕМ (РАСПРЕДЕЛИТЕЛЬНЫЙ БЛОК ПАНЕЛИ ПРИБОРОВ - ПРАВАЯ ЛАМПА ОСВЕЩЕНИЯ САЛОНА № 1 В СБОРЕ)

    1. Отсоедините разъем 3B распределительного блока панели приборов.

    2. Измерьте сопротивление в соответствии со значениями, приведенными в таблице ниже.

      Номинальное сопротивление

      Подключение диагностического прибора

      Условие

      Заданные условия

      3B-26 - N14-2 (+)

      Всегда

      Менее 1 Ом

    Результат

    Перейти к

    OK

    НЕ СООТВ.

    НЕ СООТВ.

    ОТРЕМОНТИРУЙТЕ ИЛИ ЗАМЕНИТЕ ЖГУТ ПРОВОДОВ ИЛИ РАЗЪЕМ

    СООТВ
  7. ПРОВЕРЬТЕ ЖГУТ ПРОВОДОВ И РАЗЪЕМ (ПРАВАЯ ЛАМПА ОСВЕЩЕНИЯ САЛОНА № 1 В СБОРЕ – ГЛАВНЫЙ ЭБУ КУЗОВА (БОРТОВОЙ ЭБУ СЕТИ МУЛЬТИПЛЕКСНОЙ СВЯЗИ))

    1. Отсоедините разъем K53 главного ЭБУ кузова (бортового ЭБУ сети мультиплексной связи).

    2. Измерьте сопротивление в соответствии со значениями, приведенными в таблице ниже.

      Номинальное сопротивление

      Подключение диагностического прибора

      Условие

      Заданные условия

      N14-1 (-) - K53-21 (LED2)

      Всегда

      Менее 1 Ом

    Результат

    Перейти к

    OK

    НЕ СООТВ.

    OK

    ВЫПОЛНИТЕ ПРОВЕРКУ С ИМИТАЦИЕЙ УСЛОВИЙ ВОЗНИКНОВЕНИЯ НЕИСПРАВНОСТИ

    NG

    ОТРЕМОНТИРУЙТЕ ИЛИ ЗАМЕНИТЕ ЖГУТ ПРОВОДОВ ИЛИ РАЗЪЕМ

  8. ПРОВЕРЬТЕ ЛЕВУЮ ЛАМПУ ОСВЕЩЕНИЯ САЛОНА № 2 В СБОРЕ

    1. Снимите лампу подсветки внутренней ручки задней левой двери (левая лампа освещения салона № 2 в сборе).

      Нажмите здесьЩелкните по следующей ссылке

    2. Осмотрите лампу подсветки внутренней ручки задней левой двери (левая лампа освещения салона № 2 в сборе).

      Нажмите здесьЩелкните по следующей ссылке

    Результат

    Перейти к

    OK

    НЕ СООТВ.

    НЕ СООТВ.

    ЗАМЕНИТЕ ЛАМПУ ПОДСВЕТКИ ВНУТРЕННЕЙ РУЧКИ ЛЕВОЙ ЗАДНЕЙ ДВЕРИ (ЛЕВАЯ ЛАМПА ОСВЕЩЕНИЯ САЛОНА № 2 В СБОРЕ)

    СООТВ
  9. ПРОВЕРЬТЕ ЖГУТ ПРОВОДОВ И РАЗЪЕМ (РАСПРЕДЕЛИТЕЛЬНЫЙ БЛОК ПАНЕЛИ ПРИБОРОВ - ЛЕВАЯ ЛАМПА ОСВЕЩЕНИЯ САЛОНА № 2 В СБОРЕ)

    1. Отсоедините разъем 3B распределительного блока панели приборов.

    2. Измерьте сопротивление в соответствии со значениями, приведенными в таблице ниже.

      Номинальное сопротивление

      Подключение диагностического прибора

      Условие

      Заданные условия

      3B-26 - Q4-2 (+)

      Всегда

      Менее 1 Ом

    Результат

    Перейти к

    OK

    НЕ СООТВ.

    НЕ СООТВ.

    ОТРЕМОНТИРУЙТЕ ИЛИ ЗАМЕНИТЕ ЖГУТ ПРОВОДОВ ИЛИ РАЗЪЕМ

    СООТВ
  10. ПРОВЕРЬТЕ ЖГУТ ПРОВОДОВ И РАЗЪЕМ (ЛЕВАЯ ЛАМПА ОСВЕЩЕНИЯ САЛОНА № 2 В СБОРЕ – ГЛАВНЫЙ ЭБУ КУЗОВА (БОРТОВОЙ ЭБУ СЕТИ МУЛЬТИПЛЕКСНОЙ СВЯЗИ))

    1. Отсоедините разъем K53 главного ЭБУ кузова (бортового ЭБУ сети мультиплексной связи).

    2. Измерьте сопротивление в соответствии со значениями, приведенными в таблице ниже.

      Номинальное сопротивление

      Подключение диагностического прибора

      Условие

      Заданные условия

      Q4-1 (-) - K53-21 (LED2)

      Всегда

      Менее 1 Ом

    Результат

    Перейти к

    OK

    НЕ СООТВ.

    OK

    ВЫПОЛНИТЕ ПРОВЕРКУ С ИМИТАЦИЕЙ УСЛОВИЙ ВОЗНИКНОВЕНИЯ НЕИСПРАВНОСТИ

    NG

    ОТРЕМОНТИРУЙТЕ ИЛИ ЗАМЕНИТЕ ЖГУТ ПРОВОДОВ ИЛИ РАЗЪЕМ

  11. ПРОВЕРЬТЕ ПРАВУЮ ЛАМПУ ОСВЕЩЕНИЯ САЛОНА № 2 В СБОРЕ

    1. Снимите лампу подсветки внутренней ручки задней правой двери (правая лампа освещения салона № 2 в сборе).

      Нажмите здесьЩелкните по следующей ссылке

    2. Осмотрите лампу подсветки внутренней ручки задней правой двери (правая лампа освещения салона № 2 в сборе).

      Нажмите здесьЩелкните по следующей ссылке

    Результат

    Перейти к

    OK

    НЕ СООТВ.

    НЕ СООТВ.

    ЗАМЕНИТЕ ЛАМПУ ПОДСВЕТКИ ВНУТРЕННЕЙ РУЧКИ ПРАВОЙ ЗАДНЕЙ ДВЕРИ (ПРАВАЯ ЛАМПА ОСВЕЩЕНИЯ САЛОНА № 2 В СБОРЕ)

    СООТВ
  12. ПРОВЕРЬТЕ ЖГУТ ПРОВОДОВ И РАЗЪЕМ (РАСПРЕДЕЛИТЕЛЬНЫЙ БЛОК ПАНЕЛИ ПРИБОРОВ - ПРАВАЯ ЛАМПА ОСВЕЩЕНИЯ САЛОНА № 2 В СБОРЕ)

    1. Отсоедините разъем 3B распределительного блока панели приборов.

    2. Измерьте сопротивление в соответствии со значениями, приведенными в таблице ниже.

      Номинальное сопротивление

      Подключение диагностического прибора

      Условие

      Заданные условия

      3B-26 - P4-2 (+)

      Всегда

      Менее 1 Ом

    Результат

    Перейти к

    OK

    НЕ СООТВ.

    НЕ СООТВ.

    ОТРЕМОНТИРУЙТЕ ИЛИ ЗАМЕНИТЕ ЖГУТ ПРОВОДОВ ИЛИ РАЗЪЕМ

    СООТВ
  13. ПРОВЕРЬТЕ ЖГУТ ПРОВОДОВ И РАЗЪЕМ (ПРАВАЯ ЛАМПА ОСВЕЩЕНИЯ САЛОНА № 2 В СБОРЕ – ГЛАВНЫЙ ЭБУ КУЗОВА (БОРТОВОЙ ЭБУ СЕТИ МУЛЬТИПЛЕКСНОЙ СВЯЗИ))

    1. Отсоедините разъем K53 главного ЭБУ кузова (бортового ЭБУ сети мультиплексной связи).

    2. Измерьте сопротивление в соответствии со значениями, приведенными в таблице ниже.

      Номинальное сопротивление

      Подключение диагностического прибора

      Условие

      Заданные условия

      P4-1 (-) - K53-21 (LED2)

      Всегда

      Менее 1 Ом

    Результат

    Перейти к

    OK

    НЕ СООТВ.

    OK

    ВЫПОЛНИТЕ ПРОВЕРКУ С ИМИТАЦИЕЙ УСЛОВИЙ ВОЗНИКНОВЕНИЯ НЕИСПРАВНОСТИ

    NG

    ОТРЕМОНТИРУЙТЕ ИЛИ ЗАМЕНИТЕ ЖГУТ ПРОВОДОВ ИЛИ РАЗЪЕМ

  14. ПРОВЕРЬТЕ ЖГУТ ПРОВОДОВ И РАЗЪЕМ (ИСТОЧНИК ПИТАНИЯ – РАСПРЕДЕЛИТЕЛЬНЫЙ БЛОК ПАНЕЛИ ПРИБОРОВ В СБОРЕ)

    1. Отсоедините разъем 3F*1 или 3G*2 распределительного блока панели приборов.

    2. Измерьте напряжение в соответствии со значениями, приведенными в таблице.

      Номинальное напряжение

      Подключение диагностического прибора

      Условие

      Заданные условия

      3F-1 - масса*1

      Всегда

      11-14 В

      3G-1 - масса*2

      Всегда

      11-14 В

      • *1: для моделей с левосторонним рулевым управлением

      • *2: для моделей с правосторонним рулевым управлением

    Результат

    Перейти к

    OK

    НЕ СООТВ.

    НЕ СООТВ.

    ОТРЕМОНТИРУЙТЕ ИЛИ ЗАМЕНИТЕ ЖГУТ ПРОВОДОВ ИЛИ РАЗЪЕМ

    СООТВ
  15. ПРОВЕРЬТЕ РАСПРЕДЕЛИТЕЛЬНЫЙ БЛОК ПАНЕЛИ ПРИБОРОВ В СБОРЕ

    E341598C17

    *A

    Для моделей с левосторонним рулевым управлением

    *B

    Для моделей с правосторонним рулевым управлением

    *a

    Устройство с неподсоединенным жгутом проводов

    (Распределительный блок панели приборов в сборе)

    -

    -

    1. Отсоедините разъем 3B распределительного блока панели приборов.

    2. Измерьте сопротивление в соответствии со значениями, приведенными в таблице ниже.

      Номинальное сопротивление

      Подключение диагностического прибора

      Условие

      Заданные условия

      3B-26 - 3F-1*1

      Всегда

      Менее 1 Ом

      3B-26 - 3G-1*2

      Всегда

      Менее 1 Ом

      • *1: для моделей с левосторонним рулевым управлением

      • *2: для моделей с правосторонним рулевым управлением

    Результат

    Перейти к

    OK

    НЕ СООТВ.

    НЕ СООТВ.

    ЗАМЕНИТЕ РАСПРЕДЕЛИТЕЛЬНЫЙ БЛОК ПАНЕЛИ ПРИБОРОВ В СБОРЕ

    СООТВ
  16. ПРОВЕРЬТЕ ЖГУТ ПРОВОДОВ И РАЗЪЕМ (РАСПРЕДЕЛИТЕЛЬНЫЙ БЛОК ПАНЕЛИ ПРИБОРОВ – ЛАМПА ОСВЕЩЕНИЯ САЛОНА В СБОРЕ)

    1. Отсоедините разъем О14 лампы подсветки внутренней ручки передней левой двери (левая лампа освещения салона № 1 в сборе).

    2. Отсоедините разъем N14 лампы подсветки внутренней ручки передней правой двери (правая лампа освещения салона № 1 в сборе).

    3. Отсоедините разъем Q4 лампа подсветки внутренней ручки левой задней двери (№ ЛЕВАЯ ЛАМПА ОСВЕЩЕНИЯ САЛОНА 2 разъем. *

    4. Отсоедините разъем Р4 лампа подсветки внутренней ручки правой задней двери (№ ПРАВАЯ ЛАМПА ОСВЕЩЕНИЯ САЛОНА 2 разъем. *

    5. Измерьте сопротивление в соответствии со значениями, приведенными в таблице ниже.

      Номинальное сопротивление

      Подключение диагностического прибора

      Условие

      Заданные условия

      3B-26 - O14-2 (+)

      Всегда

      Менее 1 Ом

      3B-26 - N14-2 (+)

      Всегда

      Менее 1 Ом

      3B-26 - Q4-2 (+)*

      Всегда

      Менее 1 Ом

      3B-26 - P4-2 (+)*

      Всегда

      Менее 1 Ом

      3B-26, O14-2 (+), N14-2 (+), Q4-2 (+)* или P4-2 (+)* - масса

      Всегда

      10 кОм или более

    • *: Для моделей с лампой подсветки внутренней ручки задней двери

    Результат

    Перейти к

    OK

    НЕ СООТВ.

    НЕ СООТВ.

    ОТРЕМОНТИРУЙТЕ ИЛИ ЗАМЕНИТЕ ЖГУТ ПРОВОДОВ ИЛИ РАЗЪЕМ

    СООТВ
  17. ПРОВЕРЬТЕ ЖГУТ ПРОВОДОВ И РАЗЪЕМ (ЛАМПА ОСВЕЩЕНИЯ САЛОНА В СБОРЕ – ГЛАВНЫЙ ЭБУ КУЗОВА (БОРТОВОЙ ЭБУ СЕТИ МУЛЬТИПЛЕКСНОЙ СВЯЗИ))

    1. Отсоедините разъем K53 главного ЭБУ кузова (бортового ЭБУ сети мультиплексной связи).

    2. Измерьте сопротивление в соответствии со значениями, приведенными в таблице ниже.

      Номинальное сопротивление

      Подключение диагностического прибора

      Условие

      Заданные условия

      O14-1 (-) - K53-21 (LED2)

      Всегда

      Менее 1 Ом

      N14-1 (-) - K53-21 (LED2)

      Всегда

      Менее 1 Ом

      Q4-1 (-) - K53-21 (LED2)*

      Всегда

      Менее 1 Ом

      P4-1 (-) - K53-21 (LED2)*

      Всегда

      Менее 1 Ом

      O14-1 (-), N14-1 (-), Q4-1 (-)*, P4-1 (-)* или K53-21 (LED2) - масса

      Всегда

      10 кОм или более

    • *: Для моделей с лампой подсветки внутренней ручки задней двери

    Результат

    Перейти к

    OK

    НЕ СООТВ.

    OK

    ЗАМЕНИТЕ ГЛАВНЫЙ ЭБУ КУЗОВА (БОРТОВОЙ ЭБУ СЕТИ МУЛЬТИПЛЕКСНОЙ СВЯЗИ)

    NG

    ОТРЕМОНТИРУЙТЕ ИЛИ ЗАМЕНИТЕ ЖГУТ ПРОВОДОВ ИЛИ РАЗЪЕМ