WIPER SWITCH INSPECTION

PROCEDURE

  1. INSPECT WINDSHIELD WIPER SWITCH ASSEMBLY (for LHD)

    1. w/o Auto Wiper System:

      1. E257039C12

        *a

        Component without harness connected

        (Windshield Wiper Switch Assembly)

        Measure the resistance according to the value(s) in the table below.

        Standard Resistance

        Table 1. Front Wiper Switch

        Tester Connection

        Condition

        Specified Condition

        G11-2 (+B) - G11-3 (+1)

        MIST

        Below 1 Ω

        G11-3 (+1) - G11-1 (+S)

        OFF

        G11-3 (+1) - G11-1 (+S)

        INT

        G11-2 (+B) - G11-3 (+1)

        LO

        G11-2 (+B) - G11-4 (+2)

        HI

        Table 2. Front Washer Switch

        Tester Connection

        Condition

        Specified Condition

        G10-4 (EW) - G10-7 (WF)

        ON

        Below 1 Ω

        G11-5 (WR) - G11-10 (+B2)

        G10-4 (EW) - G10-7 (WF)

        OFF

        10 kΩ or higher

        G11-5 (WR) - G11-10 (+B2)

        Table 3. Rear Wiper Switch

        Tester Connection

        Condition

        Specified Condition

        G10-2 (C1R) - G10-4 (EW)

        OFF

        10 kΩ or higher

        G10-3 (+1R) - G10-4 (EW)

        G10-2 (C1R) - G10-4 (EW)

        INT

        Below 1 Ω

        G10-3 (+1R) - G10-4 (EW)

        ON

        Table 4. Rear Washer Switch

        Tester Connection

        Condition

        Specified Condition

        G10-4 (EW) - G11-5 (WR)

        ON

        Below 1 Ω

        G10-7 (WF) - G11-10 (+B2)

        G10-4 (EW) - G11-5 (WR)

        OFF

        10 kΩ or higher

        G10-7 (WF) - G11-10 (+B2)

        If the result is not as specified, replace the windshield wiper switch assembly.

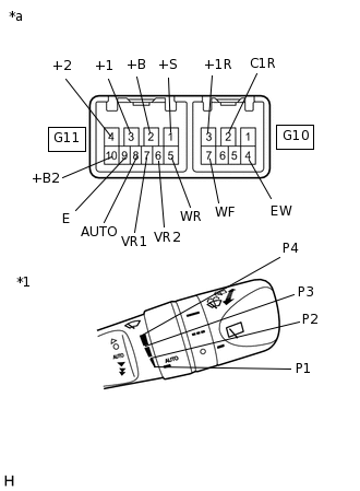
    2. w/ Auto Wiper System:

      1. E265178C02

        *1

        Windshield Wiper Switch Assembly

        (Adjusting Ring Position)

        *a

        Component without harness connected

        (Windshield Wiper Switch Assembly)

        Measure the resistance according to the value(s) in the table below.

        If the result is not as specified, replace the windshield wiper switch assembly.

        Standard Resistance

        Table 5. Front Wiper Switch

        Tester Connection

        Condition

        Specified Condition

        G11-2 (+B) - G11-3 (+1)

        MIST

        Below 1 Ω

        G11-3 (+1) - G11-1 (+S)

        OFF

        G11-3 (+1) - G11-1 (+S)

        AUTO

        G11-8 (AUTO) - G11-9 (E)

        G11-2 (+B) - G11-3 (+1)

        LO

        G11-2 (+B) - G11-4 (+2)

        HI

        Table 6. Front Washer Switch

        Tester Connection

        Condition

        Specified Condition

        G10-4 (EW) - G10-7 (WF)

        ON

        Below 1 Ω

        G11-5 (WR) - G11-10 (+B2)

        G10-4 (EW) - G10-7 (WF)

        OFF

        10 kΩ or higher

        G11-5 (WR) - G11-10 (+B2)

        Table 7. Rear Wiper Switch

        Tester Connection

        Condition

        Specified Condition

        G10-2 (C1R) - G10-4 (EW)

        OFF

        10 kΩ or higher

        G10-3 (+1R) - G10-4 (EW)

        G10-2 (C1R) - G10-4 (EW)

        INT

        Below 1 Ω

        G10-3 (+1R) - G10-4 (EW)

        ON

        Table 8. Rear Washer Switch

        Tester Connection

        Condition

        Specified Condition

        G10-4 (EW) - G11-5 (WR)

        ON

        Below 1 Ω

        G10-7 (WF) - G11-10 (+B2)

        G10-4 (EW) - G11-5 (WR)

        OFF

        10 kΩ or higher

        G10-7 (WF) - G11-10 (+B2)

        Table 9. Adjusting Ring

        Tester Connection

        Condition

        Specified Condition

        G11-6 (VR2) - G11-7 (VR1)

        P1

        209 to 231 Ω

        P2

        114 to 126 Ω

        P3

        58.9 to 65.1 Ω

        P4

        Below 1 Ω

  2. INSPECT WINDSHIELD WIPER SWITCH ASSEMBLY (for RHD)

    1. for LH Side:

      1. E265178C02

        *1

        Windshield Wiper Switch Assembly

        (Adjusting Ring Position)

        *a

        Component without harness connected

        (Windshield Wiper Switch Assembly)

        Measure the resistance according to the value(s) in the table below.

        Standard Resistance

        Table 10. Front Wiper Switch

        Tester Connection

        Condition

        Specified Condition

        G11-2 (+B) - G11-3 (+1)

        MIST

        Below 1 Ω

        G11-1 (+S) - G11-3 (+1)

        OFF

        G11-3 (+1) - G11-1 (+S)

        AUTO

        G11-8 (AUTO) - G11-9 (E)

        G11-2 (+B) - G11-3 (+1)

        LO

        G11-2 (+B) - G11-4 (+2)

        HI

        Table 11. Front Washer Switch

        Tester Connection

        Condition

        Specified Condition

        G10-7 (WF) - G10-4 (EW)

        ON

        Below 1 Ω

        G11-5 (WR) - G11-10 (+B2)

        G10-7 (WF) - G10-4 (EW)

        OFF

        10 kΩ or higher

        G11-5 (WR) - G11-10 (+B2)

        Table 12. Rear Wiper Switch

        Tester Connection

        Condition

        Specified Condition

        G10-3 (+1R) - G10-4 (EW)

        OFF

        10 kΩ or higher

        G10-2 (C1R) - G10-4 (EW)

        G10-2 (C1R) - G10-4 (EW)

        INT

        Below 1 Ω

        G10-3 (+1R) - G10-4 (EW)

        ON

        Table 13. Rear Washer Switch

        Tester Connection

        Condition

        Specified Condition

        G11-5 (WR) - G10-4 (EW)

        ON

        Below 1 Ω

        G10-7 (WF) - G11-10 (+B2)

        G11-5 (WR) - G10-4 (EW)

        OFF

        10 kΩ or higher

        G10-7 (WF) - G11-10 (+B2)

        Table 14. Adjusting Ring

        Tester Connection

        Condition

        Specified Condition

        G11-6 (VR2) - G11-7 (VR1)

        P1

        209 to 231 Ω

        P2

        114 to 126 Ω

        P3

        58.9 to 65.1 Ω

        P4

        Below 1 Ω

        If the result is not as specified, replace the windshield wiper switch assembly.

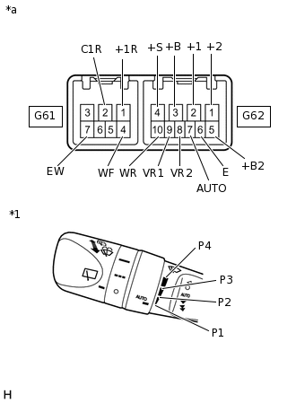
    2. for RH Side:

      1. E270672C01

        *1

        Windshield Wiper Switch Assembly

        (Adjusting Ring Position)

        *a

        Component without harness connected

        (Windshield Wiper Switch Assembly)

        Measure the resistance according to the value(s) in the table below.

        If the result is not as specified, replace the windshield wiper switch assembly.

        Standard Resistance

        Table 15. Front Wiper Switch

        Tester Connection

        Condition

        Specified Condition

        G62-3 (+B) - G62-2 (+1)

        MIST

        Below 1 Ω

        G62-2 (+1) - G62-4 (+S)

        OFF

        G62-2 (+1) - G62-4 (+S)

        AUTO

        G62-7 (AUTO) - G62-6 (E)

        G62-3 (+B) - G62-2 (+1)

        LO

        G62-3 (+B) - G62-1 (+2)

        HI

        Table 16. Front Washer Switch

        Tester Connection

        Condition

        Specified Condition

        G61-7 (EW) - G61-4 (WF)

        ON

        Below 1 Ω

        G62-10 (WR) - G62-5 (+B2)

        G61-7 (EW) - G61-4 (WF)

        OFF

        10 kΩ or higher

        G62-10 (WR) - G62-5 (+B2)

        Table 17. Rear Wiper Switch

        Tester Connection

        Condition

        Specified Condition

        G61-2 (C1R) - G61-7 (EW)

        OFF

        10 kΩ or higher

        G61-1 (+1R) - G61-7 (EW)

        G61-2 (C1R) - G61-7 (EW)

        INT

        Below 1 Ω

        G61-1 (+1R) - G61-7 (EW)

        ON

        Table 18. Rear Washer Switch

        Tester Connection

        Condition

        Specified Condition

        G61-7 (EW) - G62-10 (WR)

        ON

        Below 1 Ω

        G61-4 (WF) - G62-5 (+B2)

        G61-7 (EW) - G62-10 (WR)

        OFF

        10 kΩ or higher

        G61-4 (WF) - G62-5 (+B2)

        Table 19. Adjusting Ring

        Tester Connection

        Condition

        Specified Condition

        G62-8 (VR2) - G62-9 (VR1)

        P1

        209 to 231 Ω

        P2

        114 to 126 Ω

        P3

        58.9 to 65.1 Ω

        P4

        Below 1 Ω