LIGHTING SYSTEM Daytime Running Light Relay Circuit

DESCRIPTION

The main body ECU (multiplex network body ECU) controls the daytime running lights.

WIRING DIAGRAM

A005CT2E10
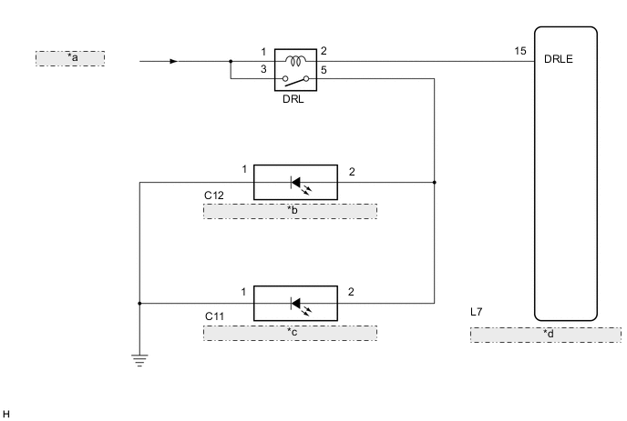
*a from DRL Fuse
*b Daytime Running Light Assembly LH
*c Daytime Running Light Assembly RH
*d Main Body ECU (Multiplex Network Body ECU)

CAUTION / NOTICE / HINT

Note

Inspect the fuses for circuits related to this system before performing the following inspection procedure.

PROCEDURE


  1. PERFORM ACTIVE TEST USING GTS


    1. Connect the GTS to the DLC3.

    2. Turn the power switch on (IG).

    3. Turn the GTS on.

    4. Enter the following menus: Body Electrical / Main Body / Active Test.

    5. Check that the daytime running lights operate.

      Main Body
      Tester Display Test Part Control Range Diagnostic Note
      Daytime Running Light Daytime running lights ON/OFF -
      OK
      Daytime running lights illuminate.

    OK
    NG
  2. INSPECT DRL RELAY


    1. A005ABOE03

      Remove the DRL relay from the engine room relay block and junction block assembly.

    2. Measure the resistance according to the value(s) in the table below.

      Standard Resistance
      Tester Connection Condition Specified Condition
      3 - 5 Voltage is not applied between terminals 1 and 2 10 kΩ or higher
      3 - 5 Voltage is applied between terminals 1 and 2 Below 1 Ω

    NG
    OK
  3. CHECK HARNESS AND CONNECTOR (AUXILIARY BATTERY - DRL RELAY)


    1. Measure the voltage according to the value(s) in the table below.

      Standard Voltage
      Tester Connection Condition Specified Condition
      Relay terminal 1 - Body ground Power switch off 11 to 14 V
      Relay terminal 3 - Body ground Power switch off 11 to 14 V

    NG
    OK
  4. CHECK HARNESS AND CONNECTOR (DRL RELAY - MAIN BODY ECU)


    1. Disconnect the L7 main body ECU (multiplex network body ECU) connector.

    2. Measure the resistance according to the value(s) in the table below.

      Standard Resistance
      Tester Connection Condition Specified Condition
      Relay terminal 2 - L7-15 (DRLE) Always Below 1 Ω
      L7-15 (DRLE) - Body ground Always 10 kΩ or higher

    NG
    OK
  5. CHECK HARNESS AND CONNECTOR (DRL RELAY - DAYTIME RUNNING LIGHT ASSEMBLY AND BODY GROUND)


    1. Disconnect the C11 daytime running light assembly RH connector.

    2. Disconnect the C12 daytime running light assembly LH connector.

    3. Measure the resistance according to the value(s) in the table below.

      Standard Resistance
      Tester Connection Condition Specified Condition
      Relay terminal 5 - C11-2 Always Below 1 Ω
      Relay terminal 5 - C12-2 Always Below 1 Ω
      Relay terminal 5 - Body ground Always 10 kΩ or higher
      C11-1 - Body ground Always Below 1 Ω
      C12-1 - Body ground Always Below 1 Ω

    OK
    NG