СИСТЕМА МЕХАНИЧЕСКОЙ ТРАНСМИССИИ


  1. КОНСТРУКЦИЯ


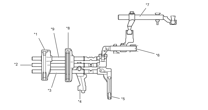
    1. Механизм выбора и переключения передач состоит из 3 стержней вилки переключения передач, 3 вилок переключения передач, вилки задней передачи, рычага включения задней передачи и рычага переключения и выбора.

    2. Вилки переключения № 1 и 2 изготавливаются из литого алюминия с превосходными антифрикционными характеристиками.

    3. На наконечнике вилки переключения передач № 3 предусматривается подушка вилки переключения передач для снижения сопротивления при перемещении.

    4. Для повышения надежности применены механизм предупреждения случайного включения задней передачи и односторонний механизм задней передачи.

      B002NE7C01
      *1 Вилка переключения передач № 2 *2 Стержень вилки переключения передач № 1
      *3 Стержень вилки переключения передач № 3 *4 Вилка включения передачи заднего хода
      *5 Вилка переключения передач № 3 *6 Рычаг выбора и переключения передач
      *7 Приводной вал *8 Вилка переключения передач № 1
      *9 Стержень вилки переключения передач № 2 - -