IMMOBILISER SYSTEM(w/ Entry and Start System), Diagnostic DTC:B278A

DTC Code DTC Name
B278A Short to GND in Immobiliser System Power Source Circuit

DESCRIPTION

When there is a short to GND in the power supply for the transponder key amplifier of the power switch, the certification ECU (smart key ECU assembly) stores this DTC.

DTC No.

Detection Item

DTC Detection Condition

Trouble Area

Note

B278A

Short to GND in Immobiliser System Power Source Circuit

A short to GND in the power supply of the transponder key amplifier of the power switch (VC5 - VC5) (1 trip detection logic*).

  • Harness or connector

  • Power switch

  • Certification ECU (smart key ECU assembly)

DTC Output Confirmation Operation:

With the shift lever in P, the key is held near the power switch and a hybrid control system start operation is performed by pressing and holding the power switch when the key battery is depleted.

*: Only output while a malfunction is present.

Table 1. Vehicle Condition and Fail-safe Operation when Malfunction Detected

Vehicle Condition when Malfunction Detected

Fail-safe Operation when Malfunction Detected

Hybrid control system cannot be started when key battery is depleted by holding key near power switch and pressing and holding power switch with shift lever in P

-

Table 2. Related Data List and Active Test

DTC No.

Data List and Active Test

B278A

-

WIRING DIAGRAM

B271005E38

CAUTION / NOTICE / HINT

Note:
  • Before replacing the certification ECU (smart key ECU assembly), refer to the Service Bulletin.

  • After performing repairs, perform the DTC output confirmation operation, and then confirm that no DTCs are output again.

PROCEDURE

  1. CHECK HARNESS AND CONNECTOR (CERTIFICATION ECU [SMART KEY ECU ASSEMBLY] - POWER SWITCH)

    1. Disconnect the G84 certification ECU (smart key ECU assembly) connector.

    2. Disconnect the G24 power switch connector.

    3. Measure the resistance according to the value(s) in the table below.

      Standard Resistance

      Tester Connection

      Condition

      Specified Condition

      G84-1 (VC5) - G24-10 (VC5)

      Always

      Below 1 Ω

      G84-24 (AGND) - G24-6 (AGND)

      Always

      Below 1 Ω

      G84-1 (VC5) - Body ground

      Always

      10 kΩ or higher

      G24-10 (VC5) - Body ground

      Always

      10 kΩ or higher

      G84-24 (AGND) - Body ground

      Always

      10 kΩ or higher

      G24-6 (AGND) - Body ground

      Always

      10 kΩ or higher

    Result

    Proceed to

    OK

    NG

    NG

    REPAIR OR REPLACE HARNESS OR CONNECTOR

    OK
  2. CHECK CERTIFICATION ECU (SMART KEY ECU ASSEMBLY)

    1. Reconnect the G24 power switch and G84 certification ECU (smart key ECU assembly) connector.

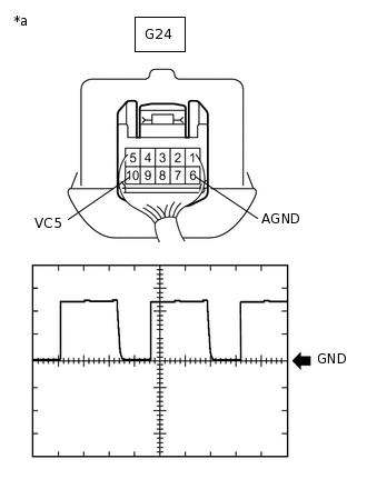
    2. B271009C06

      *a

      Component with harness connected

      (Power Switch)

      Using an oscilloscope, check the waveform.

      Tip:

      Perform this inspection on the power switch side.

      Table 3. Measurement Condition

      Item

      Content

      Tester Connection

      G24-10 (VC5) - G24-6 (AGND)

      Tool Setting

      2 V/DIV., 200 ms./DIV.

      Condition

      Power switch off, key not in cabin, within 30 seconds after power switch pressed

      OK

      Waveform is output normally (refer to illustration).

    Result

    Proceed to

    OK

    NG

    OK

    REPLACE POWER SWITCH

    NG

    REPLACE CERTIFICATION ECU (SMART KEY ECU ASSEMBLY)