CRUISE CONTROL SYSTEM

B005KTQC01
*A LHD Models *B RHD Models
*1 ECM *2

BRAKE BOOSTER WITH MASTER CYLINDER ASSEMBLY


  • SKID CONTROL ECU

*3

INVERTER WITH CONVERTER ASSEMBLY


  • MG ECU

*4

THROTTLE BODY ASSEMBLY


  • THROTTLE POSITION SENSOR

  • THROTTLE CONTROL MOTOR

*5

HYBRID VEHICLE TRANSAXLE ASSEMBLY


  • MG2

*6 SPEED SENSOR

Figure 1. LHD Models

B005KZAC01
*1 COMBINATION METER SUB-ASSEMBLY *2 CRUISE CONTROL SWITCH
*3 STOP LIGHT SWITCH ASSEMBLY *4 HYBRID VEHICLE CONTROL ECU
*5

SHIFT LOCK CONTROL UNIT ASSEMBLY


  • SHIFT LEVER POSITION SENSOR

*6 ACCELERATOR PEDAL SENSOR ASSEMBLY
*a Cruise Control Indicator Light *b Cruise SET Indicator Light
*c Multi-information Display - -

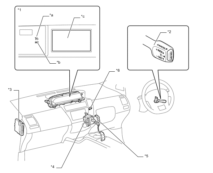
Figure 2. RHD Models

B005KT2C01
*1 COMBINATION METER SUB-ASSEMBLY *2 CRUISE CONTROL SWITCH
*3 HYBRID VEHICLE CONTROL ECU *4

SHIFT LOCK CONTROL UNIT ASSEMBLY


  • SHIFT LEVER POSITION SENSOR

*5 ACCELERATOR PEDAL SENSOR ASSEMBLY *6 STOP LIGHT SWITCH ASSEMBLY
*a Cruise Control Indicator Light *b Cruise SET Indicator Light
*c Multi-information Display - -