СИСТЕМА КОНТРОЛЯ СЛЕПЫХ ЗОН


  1. КОНСТРУКЦИЯ


    1. Датчик системы контроля слепых зон содержит схему радара миллиметрового диапазона и схему обработки сигналов.

    2. Датчик радара миллиметрового диапазона использует частоты диапазона 24 ГГц.

      A01FJ5QC01
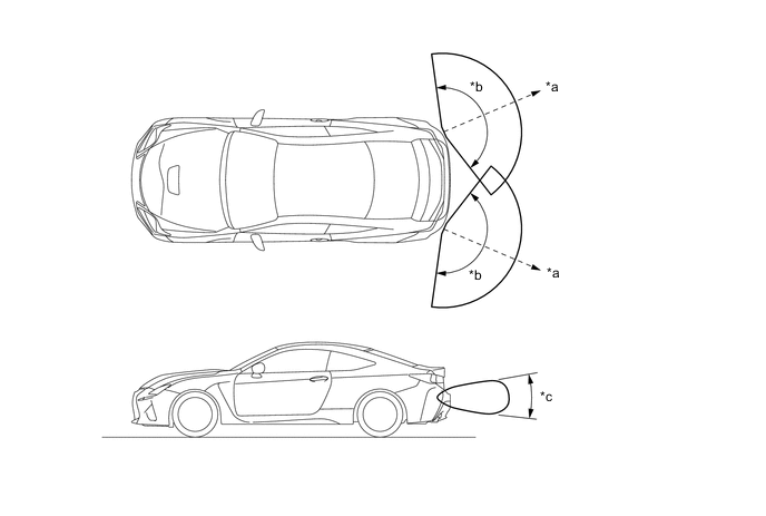
      *a Расстояние: Приблизительно 70 м (230 футов) *b Горизонтальный угол: Приблизительно 150°
      *c Вертикальный угол: Приблизительно 20° - -

      1. По информации, обеспечиваемой радаром миллиметрового диапазона, рассчитываются расстояние до объекта, азимут и относительная скорость, как рассмотрено ниже.

        Позиция Метод расчета
        Расстояние Рассчитывается по времени, прошедшему с момента излучения волн радаром миллиметрового диапазона до момента приема отраженных волн. Дистанция приблизительно 70 м (230 футов).
        Азимут Рассчитывается в зависимости от угла приема волн миллиметрового диапазона, излученных радаром. Диапазоны угла обнаружения составляют примерно 150° по горизонтали и 20° по вертикали.
        Относительная скорость Рассчитывается по изменениям частот отраженных волн радара миллиметрового диапазона (вследствие эффекта Доплера*).

        Tech Tips

        *: Эффект Доплера заключается в том, что при приближении объекта к наблюдателю воспринимаемая частота излучаемых объектом радиоволн увеличивается, а при удалении – уменьшается. Для подтверждения диаграммы направленности радара применяется SST. Более подробную информацию см. в Руководстве по ремонту.