CRUISE CONTROL SYSTEM

A00510JE02
Text in Illustration
*A LHD Models *B RHD Models
*1 ECM *2

Brake Booster with Master Cylinder Assembly

- Skid Control ECU

*3

Inverter with Converter Assembly

- MG ECU

*4

Throttle Body Assembly

- Throttle Control Motor

- Throttle Position Sensor

*5

Hybrid Vehicle Transaxle Assembly

- MG2

*6 Speed Sensor
A005155E03
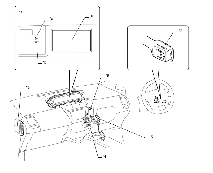
Text in Illustration (LHD Models:)
*A Models without Multi-information Display *B Models with Multi-information Display
*1 Combination Meter Sub-assembly *2 Cruise Control Switch
*3 Stop Light Switch Assembly *4 Hybrid Vehicle Control ECU
*5

Shift Lock Control Unit Assembly

- Shift Lever Position Sensor (Shift Sensor)

- Shift Lever Position Sensor (Select Sensor)

*6 Accelerator Pedal Sensor Assembly
*a Cruise Control Indicator Light *b Cruise Control SET Indicator Light
*c Multi-information Display - -
A0050QGE02
Text in Illustration (RHD Models:)
*1 Combination Meter Sub-assembly *2 Cruise Control Switch
*3 Hybrid Vehicle Control ECU *4

Shift Lock Control Unit Assembly

- Shift Lever Position Sensor (Shift Sensor)

- Shift Lever Position Sensor (Select Sensor)

*5 Accelerator Pedal Sensor Assembly *6 Stop Light Switch Assembly
*a Cruise Control Indicator Light *b Cruise Control SET Indicator Light
*c Multi-information Display - -