СИСТЕМА ОСВЕЩЕНИЯ Цепь лампы рассеянного освещения

Код DTC Наименование DTC
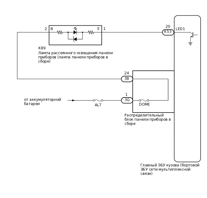
Цепь лампы рассеянного освещения

ОПИСАНИЕ

Главный ЭБУ кузова (бортовой ЭБУ сети мультиплексной связи) управляет лампой рассеянного освещения панели приборов (лампой панели приборов в сборе).

СХЕМА ЭЛЕКТРИЧЕСКИХ СОЕДИНЕНИЙ

E369606E05

ПРЕДОСТЕРЕЖЕНИЕ / ПРИМЕЧАНИЕ / УКАЗАНИЕ

Note:
  • Перед выполнением последующей процедуры проверки проверьте плавкие предохранители цепей, относящихся к данной системе.

  • Перед заменой главного ЭБУ кузова (бортового ЭБУ сети мультиплексной связи) обратитесь к бюллетеню технического обслуживания.*1

  • Главный ЭБУ кузова (бортовой ЭБУ сети мультиплексной связи) получает питание аккумуляторной батареи автомобиля через аккумуляторную батарею системы блокировки дверей. По этой причине перед процедурой диагностики выполните проверку без снятия с автомобиля и убедитесь, что цепь питания главного ЭБУ кузова (бортового ЭБУ сети мультиплексной связи) исправна.*2

    Нажмите здесьЩелкните по следующей ссылке

    • *1: для моделей с интеллектуальной системой посадки и запуска

    • *2: для моделей с батареей системы блокировки дверей

ПОРЯДОК ВЫПОЛНЕНИЯ

  1. ВЫПОЛНИТЕ АКТИВНУЮ ДИАГНОСТИКУ С ПОМОЩЬЮ GTS

    1. Подключите GTS к DLC3.

    2. Установите замок зажигания в положение ON (ВКЛ).

    3. Включите GTS.

    4. Войдите в следующие меню: Body Electrical / Main Body / Active Test.

    5. Выполните диагностику в режиме ACTIVE TEST в соответствии с указаниями на дисплее GTS.

      Body Electrical > Main Body > Active Test

      Информация на дисплее прибора

      Измеряемая величина

      Диапазон регулирования

      Замечание по диагностике

      Interior Illumination Light1

      Лампа рассеянного освещения панели приборов (лампа панели приборов в сборе)

      OFF (ВЫКЛ) или ON (ВКЛ)

      Меры предосторожности в отношении использования испытаний Active Test для проверки управления яркостью свечения:

      • Зажигание включено

      • Рычаг переключения передач находится в любом положении, кроме P

      Body Electrical > Main Body > Active Test

      Информация на дисплее прибора

      Interior Illumination Light1

      СООТВ

      Лампа рассеянного освещения панели приборов включается.

    Результат

    Перейти к

    OK

    НЕ СООТВ.

    OK

    ВЫПОЛНИТЕ ПРОВЕРКУ С ИМИТАЦИЕЙ УСЛОВИЙ ВОЗНИКНОВЕНИЯ НЕИСПРАВНОСТИ

    НЕ СООТВ.
  2. ПРОВЕРЬТЕ ЛАМПУ ПАНЕЛИ ПРИБОРОВ В СБОРЕ

    1. Снимите лампу рассеянного освещения панели приборов (лампа панели приборов в сборе).

      Нажмите здесьЩелкните по следующей ссылке

    2. Осмотрите лампу рассеянного освещения панели приборов (лампа панели приборов в сборе).

      Нажмите здесьЩелкните по следующей ссылке

    Результат

    Перейти к

    OK

    НЕ СООТВ.

    НЕ СООТВ.

    ЗАМЕНИТЕ ЛАМПУ РАССЕЯННОГО ОСВЕЩЕНИЯ ПАНЕЛИ ПРИБОРОВ (ЛАМПА ПАНЕЛИ ПРИБОРОВ В СБОРЕ)

    СООТВ
  3. ПРОВЕРЬТЕ ЖГУТ ПРОВОДОВ И РАЗЪЕМ (ИСТОЧНИК ПИТАНИЯ – РАСПРЕДЕЛИТЕЛЬНЫЙ БЛОК ПАНЕЛИ ПРИБОРОВ В СБОРЕ)

    1. Отсоедините разъем 3G распределительного блока панели приборов.

    2. Измерьте напряжение в соответствии со значениями, приведенными в таблице.

      Номинальное напряжение

      Подключение диагностического прибора

      Условие

      Заданные условия

      3G-1 - масса

      Всегда

      11-14 В

    Результат

    Перейти к

    OK

    НЕ СООТВ.

    НЕ СООТВ.

    ОТРЕМОНТИРУЙТЕ ИЛИ ЗАМЕНИТЕ ЖГУТ ПРОВОДОВ ИЛИ РАЗЪЕМ

    СООТВ
  4. ПРОВЕРЬТЕ РАСПРЕДЕЛИТЕЛЬНЫЙ БЛОК ПАНЕЛИ ПРИБОРОВ В СБОРЕ

    E341598C18

    *a

    Устройство с неподсоединенным жгутом проводов

    (Распределительный блок панели приборов в сборе)

    -

    -

    1. Отсоедините разъем 3B распределительного блока панели приборов.

    2. Измерьте сопротивление в соответствии со значениями, приведенными в таблице ниже.

      Номинальное сопротивление

      Подключение диагностического прибора

      Условие

      Заданные условия

      3B-24 - 3G-1

      Всегда

      Менее 1 Ом

    Результат

    Перейти к

    OK

    НЕ СООТВ.

    НЕ СООТВ.

    ЗАМЕНИТЕ РАСПРЕДЕЛИТЕЛЬНЫЙ БЛОК ПАНЕЛИ ПРИБОРОВ В СБОРЕ

    СООТВ
  5. ПРОВЕРЬТЕ ЖГУТ ПРОВОДОВ И РАЗЪЕМ (РАСПРЕДЕЛИТЕЛЬНЫЙ БЛОК ПАНЕЛИ ПРИБОРОВ – ЛАМПА ПАНЕЛИ ПРИБОРОВ В СБОРЕ)

    1. Измерьте сопротивление в соответствии со значениями, приведенными в таблице ниже.

      Номинальное сопротивление

      Подключение диагностического прибора

      Условие

      Заданные условия

      3B-24 - K89-2 (B)

      Всегда

      Менее 1 Ом

      3B-24 или K89-2 (B) - масса

      Всегда

      10 кОм или более

    Результат

    Перейти к

    OK

    НЕ СООТВ.

    НЕ СООТВ.

    ОТРЕМОНТИРУЙТЕ ИЛИ ЗАМЕНИТЕ ЖГУТ ПРОВОДОВ ИЛИ РАЗЪЕМ

    СООТВ
  6. ПРОВЕРЬТЕ ЖГУТ ПРОВОДОВ И РАЗЪЕМ (ЛАМПА ПАНЕЛИ ПРИБОРОВ В СБОРЕ – ГЛАВНЫЙ ЭБУ КУЗОВА (БОРТОВОЙ ЭБУ СЕТИ МУЛЬТИПЛЕКСНОЙ СВЯЗИ))

    1. Отсоедините разъем K53 главного ЭБУ кузова (бортового ЭБУ сети мультиплексной связи).

    2. Измерьте сопротивление в соответствии со значениями, приведенными в таблице ниже.

      Номинальное сопротивление

      Подключение диагностического прибора

      Условие

      Заданные условия

      K89-1 (E) - K53-20 (LED1)

      Всегда

      Менее 1 Ом

      K89-1 (E) или K53-20 (LED1) - масса

      Всегда

      10 кОм или более

    Результат

    Перейти к

    OK

    НЕ СООТВ.

    OK

    ЗАМЕНИТЕ ГЛАВНЫЙ ЭБУ КУЗОВА (БОРТОВОЙ ЭБУ СЕТИ МУЛЬТИПЛЕКСНОЙ СВЯЗИ)

    NG

    ОТРЕМОНТИРУЙТЕ ИЛИ ЗАМЕНИТЕ ЖГУТ ПРОВОДОВ ИЛИ РАЗЪЕМ