СИСТЕМА ПРЕДУПРЕЖДЕНИЯ О НЕПРИСТЕГНУТОМ РЕМНЕ БЕЗОПАСНОСТИ (для моделей с системой классификации пассажиров) Контрольная лампа предупреждения о непристегнутом ремне безопасности водителя не работает

Код DTC Наименование DTC
Контрольная лампа предупреждения о непристегнутом ремне безопасности водителя не работает

ОПИСАНИЕ

Щиток приборов в сборе включает, выключает или заставляет мигать контрольную лампу ремня безопасности левого переднего сиденья на щитке приборов в сборе в соответствии с состоянием замка ремня безопасности левого переднего сиденья в сборе.

Tip:

Контрольная лампа ремня безопасности переднего сиденья на щитке приборов отвечает за сиденья как водителя, так и переднего пассажира.

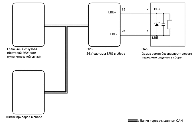
СХЕМА СОЕДИНЕНИЙ

B289103E31

ПРЕДОСТЕРЕЖЕНИЕ / ПРИМЕЧАНИЕ / УКАЗАНИЕ

Note:
  • Система предупреждения о непристегнутом ремне безопасности использует систему передачи данных CAN. Сначала убедитесь в отсутствии неисправностей системы передачи данных CAN. См. раздел "Порядок поиска неисправностей".

    Нажмите здесьClick hereClick here

  • Перед заменой главного ЭБУ кузова (бортового ЭБУ сети мультиплексной связи) обратитесь к бюллетеню технического обслуживания.

  • Поскольку аккумуляторная батарея системы блокировки дверей устанавливается между аккумуляторной батареей автомобиля и главным ЭБУ кузова (бортовым ЭБУ сети мультиплексной связи), перед выполнением данной процедуры диагностики сначала выполните проверку без снятия с автомобиля, чтобы убедиться в отсутствии неисправностей в цепи питания главного ЭБУ кузова (бортового ЭБУ сети мультиплексной связи).*

    *: для моделей с батареей системы блокировки дверей

    Нажмите здесьClick here

  • Заменяйте щиток приборов в сборе только новым узлом.

  • После замены ЭБУ системы SRS в сборе см. раздел "Инициализация".

    Нажмите здесьClick hereClick hereClick hereClick here

ПОРЯДОК ВЫПОЛНЕНИЯ

  1. ПРОВЕРЬТЕ НАЛИЧИЕ DTC (ПОДУШЕК БЕЗОПАСНОСТИ)

    1. Сбросьте коды DTC.

      Нажмите здесьClick here

      Body Electrical > SRS Airbag > Clear DTCs

    2. Проверьте наличие кодов DTC.

      Нажмите здесьClick here

      Body Electrical > SRS Airbag > Trouble Codes

      OK

      DTC не выводятся.

    Результат

    Перейти к

    OK

    НЕ СООТВ.

    НЕ СООТВ.

    ПЕРЕЙДИТЕ К РАЗДЕЛУ "ПОДУШКИ БЕЗОПАСНОСТИ"

    Нажмите здесьClick here

    СООТВ
  2. СНИМИТЕ ПОКАЗАНИЯ GTS (LEFT SIDE BUCKLE SW)

    1. Подключите GTS к DLC3.

    2. Включите зажигание (IG).

    3. Включите GTS.

    4. Войдите в следующие меню: Body Electrical / SRS Airbag / Data List.

    5. Снимите показания с дисплея GTS в режиме DATA LIST.

      Body Electrical > SRS Airbag > Data List

      Информация на дисплее прибора

      Измеряемая величина

      Диапазон

      Нормальное состояние

      Замечание по диагностике

      Left side Buckle SW

      Выключатель пряжки со стороны водителя

      Unset, Set или NG

      Unset (не установлено): Ремень безопасности не пристегнут

      Set (установлено): Ремень безопасности пристегнут

      NG: Данные не определены

      -

      Body Electrical > SRS Airbag > Data List

      Информация на дисплее прибора

      Left side Buckle SW

    Result

    Result

    Перейти К

    На дисплее GTS в зависимости от состояния ремня безопасности сиденья водителя отображается "Unset" или "Set"

    A

    На дисплее GTS в зависимости от состояния ремня безопасности сиденья водителя обычно не отображается "Unset" или "Set"

    B

    На дисплее GTS отображается "NG"

    C

    B

    ЗАМЕНИТЕ ЗАМОК РЕМНЯ БЕЗОПАСНОСТИ ЛЕВОГО ПЕРЕДНЕГО СИДЕНЬЯ В СБОРЕ

    Нажмите здесьClick here

    C

    ЗАМЕНИТЕ ЭБУ СИСТЕМЫ SRS В СБОРЕ

    Нажмите здесьClick here

    A
  3. ЗАМЕНИТЕ ГЛАВНЫЙ ЭБУ КУЗОВА (БОРТОВОЙ ЭБУ СЕТИ МУЛЬТИПЛЕКСНОЙ СВЯЗИ)

    1. Замените главный ЭБУ кузова (бортовой ЭБУ сети мультиплексной связи) новым.

      Нажмите здесьClick here

    Результат

    Перейти к

    СЛЕДУЮЩЕЕ -

    СЛЕДУЮЩЕЕ -
  4. ПРОВЕРЬТЕ КОНТРОЛЬНУЮ ЛАМПУ РЕМНЯ БЕЗОПАСНОСТИ

    1. Проверьте работу контрольной лампы ремня безопасности.

      Нажмите здесьClick here

      OK

      Контрольная лампа ремня безопасности работает нормально.

    Result

    Перейти к

    OK

    НЕ СООТВ.

    OK

    КОНЕЦ (ГЛАВНЫЙ ЭБУ КУЗОВА [БОРТОВОЙ ЭБУ СЕТИ МУЛЬТИПЛЕКСНОЙ СВЯЗИ] НЕИСПРАВЕН)

    NG

    ЗАМЕНИТЕ ЩИТОК ПРИБОРОВ В СБОРЕ

    Нажмите здесьClick hereClick here