СИСТЕМА ПОДУШЕК БЕЗОПАСНОСТИ Цепь контактов TC и CG

Код DTC Наименование DTC
Цепь контактов TC и CG

ОПИСАНИЕ

Для входа в режим вывода кодов DTC необходимо соединить контакты TC и CG диагностического разъема DLC3.

На коды DTC указывает мигание контрольной лампы аварийного состояния SRS.

Tip:
  • Если несколько контрольных ламп аварийного состояния в щитке приборов постоянно мигают, можно предположить короткое замыкание на массу в жгуте проводов или в ЭБУ, соединенном с контактом TC разъема DLC3.

  • Сигнал режима вывода кодов DTC передается по шине СAN во все ЭБУ, в том числе в датчик системы SRS. Таким образом, если несколько систем не входят в режим вывода кодов DTC, возможно, неисправен ЭБУ гибридной системы.

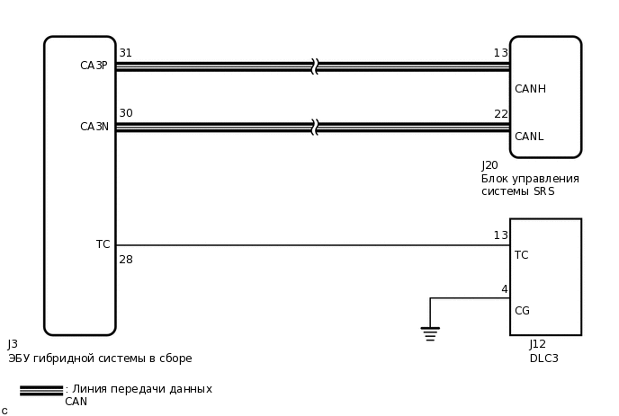
СХЕМА ЭЛЕКТРИЧЕСКИХ СОЕДИНЕНИЙ

C248718E58

ПОРЯДОК ВЫПОЛНЕНИЯ

  1. ПРОВЕРЬТЕ ЖГУТ ПРОВОДОВ (КОНТАКТ ТС НА DLC3 - КОНТАКТ ТС ЭБУ ГИБРИДНОЙ СИСТЕМЫ В СБОРЕ)

    1. C286199C11

      *1

      DLC3

      *a

      Вид спереди разъема со стороны жгута проводов:

      (к ЭБУ гибридной системы в сборе)

      Выключите питание.

    2. Отсоедините разъем от ЭБУ гибридной системы.

    3. Измерьте сопротивление в соответствии со значениями, приведенными в таблице ниже.

      Номинальное сопротивление

      Подключение диагностического прибора

      Условие

      Заданные условия

      J12-13 (TC) - J3-28 (TC)

      Всегда

      Менее 1 Ом

    Результат

    Перейти к

    OK

    НЕ СООТВ.

    НЕ СООТВ.

    ОТРЕМОНТИРУЙТЕ ИЛИ ЗАМЕНИТЕ ЖГУТ ПРОВОДОВ

    СООТВ
  2. ПРОВЕРЬТЕ ЖГУТ ПРОВОДОВ (КОНТАКТ CG РАЗЪЕМА DLC3 - МАССА)

    1. C204945C59

      *1

      DLC3

      Измерьте сопротивление в соответствии со значениями, приведенными в таблице ниже.

      Номинальное сопротивление

      Подключение диагностического прибора

      Условие

      Заданные условия

      J12-4 (CG) - масса

      Всегда

      Менее 1 Ом

    Результат

    Перейти к

    OK

    НЕ СООТВ.

    НЕ СООТВ.

    ОТРЕМОНТИРУЙТЕ ИЛИ ЗАМЕНИТЕ ЖГУТ ПРОВОДОВ

    СООТВ
  3. ПРОВЕРЬТЕ ЖГУТ ПРОВОДОВ (КОНТАКТ ТС НА DLC3 - МАССА)

    1. C204945C60

      *1

      DLC3

      Измерьте сопротивление в соответствии со значениями, приведенными в таблице ниже.

      Номинальное сопротивление

      Подключение диагностического прибора

      Условие

      Заданные условия

      J12-13 (TC) - масса

      Всегда

      1 МОм или более

    Результат

    Перейти к

    OK

    НЕ СООТВ.

    OK

    ЗАМЕНИТЕ ЦЕНТРАЛЬНЫЙ БЛОК УПРАВЛЕНИЯ СИСТЕМЫ SRS

    Нажмите здесьClick hereClick hereClick here

    NG

    ОТРЕМОНТИРУЙТЕ ИЛИ ЗАМЕНИТЕ ЖГУТ ПРОВОДОВ, ЛИБО ЗАМЕНИТЕ ВСЕ ЭБУ