РАСПРЕДВАЛ УСТАНОВКА

ПРЕДОСТЕРЕЖЕНИЕ / ПРИМЕЧАНИЕ / УКАЗАНИЕ

Tip:

Выполните "Проверку после ремонта" после замены распредвала, распредвала № 2 или зубчатого колеса распредвала в сборе.

  • Для моделей с системой РОГ:

    Нажмите здесьClick here

  • Для моделей без системы РОГ:

    Нажмите здесьClick here

ПОРЯДОК ВЫПОЛНЕНИЯ

  1. УСТАНОВИТЕ ПОДШИПНИК РАСПРЕДВАЛА № 2

    Нажмите здесьClick here

  2. УСТАНОВИТЕ ПОДШИПНИК РАСПРЕДВАЛА № 1

    Нажмите здесьClick here

  3. УСТАНОВИТЕ ФИЛЬТР ГИДРАВЛИЧЕСКОГО КЛАПАНА ИЗМЕНЕНИЯ ФАЗ

    Нажмите здесьClick here

  4. УСТАНОВИТЕ ЗВЕЗДОЧКУ РАСПРЕДВАЛА

    1. Закрепите распредвал № 2 в тисках между алюминиевыми пластинами.

      Note:

      Соблюдайте осторожность, чтобы не повредить распредвал № 2.

    2. Установите ведущую звездочку распредвала на распредвал № 2 и закрепите ее болтом.

      85 Н*м

      867 кгс*см

      63 фунт-сила-фута

      Note:

      Старайтесь не повредить распредвал № 2 и ведущую звездочку распредвала.

  5. УСТАНОВИТЕ ПОРШЕНЬ ЦИЛИНДРА № 1 В ВМТ ТАКТА СЖАТИЯ

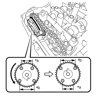
    1. A260580C06

      *a

      Установочная метка "0"

      *b

      ‏Установочная метка (канавка)

      Проверните шкив коленчатого вала так, чтобы установочная метка (канавка) на нем и установочная метка "0" на крышке цепного привода газораспределительного механизма оказались совмещены.

  6. УСТАНОВИТЕ РАСПРЕДВАЛ № 2

    Tip:

    После замены распредвала № 2 выполните процедуру "Проверка после ремонта".

    • Для моделей с системой РОГ:

      Нажмите здесьClick here

    • Для моделей без системы РОГ:

      Нажмите здесьClick here

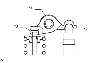
    1. A196911C21

      *1

      Рычаг привода клапана № 1

      *2

      Механизм регулировки зазора в приводе клапана в сборе

      *3

      Колпак штока клапана

      Убедитесь, что коромысла привода клапана № 1 установлены так, как показано на рисунке.

    2. Почистите шейки распредвала.

    3. Нанесите тонкий слой моторного масла на шейки распредвала, кожух распредвала и крышки подшипников распредвала.

    4. A259964C05

      *a

      Метка, нанесенная краской

      *b

      Установочная метка

      Зафиксируйте цепь, совместите синхронизирующую метку с меткой, нанесенной краской, и установите распредвал № 2.

  7. УСТАНОВИТЕ РАСПРЕДВАЛ

    Tip:

    После замены распредвала выполните процедуру "Проверка после ремонта".

    • Для моделей с системой РОГ:

      Нажмите здесьClick here

    • Для моделей без системы РОГ:

      Нажмите здесьClick here

    1. A196911C21

      *1

      Рычаг привода клапана № 1

      *2

      Механизм регулировки зазора в приводе клапана в сборе

      *3

      Колпак штока клапана

      Убедитесь, что коромысла привода клапана № 1 установлены так, как показано на рисунке.

    2. Почистите шейки распредвала.

    3. Нанесите тонкий слой моторного масла на шейки распредвала, кожух распредвала и крышки подшипников распредвала.

    4. A259969C06

      *1

      Штифт

      *a

      Примерно 17°

      Установите распредвал в кожух распредвала, как показано на рисунке.

  8. УСТАНОВИТЕ КРЫШКУ ПОДШИПНИКА РАСПРЕДВАЛА

    1. A264586

      Проверьте метки и номера на крышках подшипников распредвала и установите их в правильное положение и в нужном направлении.

    2. A284106N05

      В несколько этапов равномерно затяните 10 болтов крышек подшипников в последовательности, показанной на рисунке.

      27 Н*м

      275 кгс*см

      20 фунт-сила-футов

    3. A284105N05

      В несколько этапов равномерно затяните 11 болтов крышек подшипников в последовательности, показанной на рисунке.

      16 Н*м

      163 кгс*см

      12 фунт-сила-футов

    4. Снова проверьте момент затяжки всех болтов крышки подшипника.

  9. УСТАНОВИТЕ ЗУБЧАТОЕ КОЛЕСО РАСПРЕДВАЛА В СБОРЕ

    Tip:

    После замены зубчатого колеса распредвала в сборе выполните процедуру "Проверка после ремонта".

    • Для моделей с системой РОГ:

      Нажмите здесьClick here

    • Для моделей без системы РОГ:

      Нажмите здесьClick here

    1. A284096C32

      *a

      Положение опережения

      *b

      Положение запаздывания

      *c

      Метка совмещения

      *d

      Отверстие под штифт

      Проверьте положение зубчатого колеса распредвала.

      Note:
      • Если зубчатое колесо распредвала установлено в положение опережения, во время установки не допускайте проворачивания зубчатого колеса распредвала по часовой стрелке.

      • Если зубчатое колесо распредвала было повернуто в положение максимального запаздывания, перед его затяжкой обязательно освободите стопорный штифт и установите зубчатое колесо распредвала в положение максимального опережения.

    2. A259956C05

      *a

      Узкая часть

      *b

      Широкая часть

      Установите зубчатое колесо распредвала, как показано на рисунке.

    3. A260581C05

      *a

      Узкая часть

      *b

      Широкая часть

      Поверните зубчатое колесо распредвала примерно на 180° против часовой стрелки.

    4. A259968C06

      *a

      Метка, нанесенная краской

      *b

      Установочная метка

      Совместите метку, нанесенную краской, с установочной меткой и установите цепь в сборе.

    5. A196901C65

      *1

      Штифт

      *a

      Отверстие под штифт

      Совместите штифт распредвала с отверстием под штифт в зубчатом колесе распредвала и вставьте штифт в отверстие.

    6. A196904C91

      *1

      Зубчатое колесо распредвала в сборе

      *a

      НЕПРАВИЛЬНО

      *b

      ПРАВИЛЬНО

      *c

      Зазор

      *d

      Отсутствие зазора

      *e

      Фланец распредвала

      Убедитесь в отсутствии зазора между фланцем зубчатого колеса распредвала в сборе и распредвалом.

    7. Зафиксируйте распредвал на месте рукой и вверните рукой болт зубчатого колеса распредвала.

      Note:

      При вворачивании болта не используйте какие-либо инструменты. При вворачивании болта с помощью инструментов стопорный штифт может получить повреждения.

    8. Если стопорный штифт не был освобожден, освободите его.

      1. A259967C05

        *a

        Проделайте отверстие

        *b

        Зона герметизации клейкой лентой

        Очистив и обезжирив масляное отверстие VVT со стороны впуска крышки подшипника распредвала, полностью герметизируйте масляное отверстие с помощью клейкой ленты или подобного приспособления, как показано на рисунке, чтобы не допустить утечек воздуха.

        Note:

        Обязательно полностью герметизируйте масляное отверстие, так как утечки воздуха из-за недостаточного уплотнения не позволят освободить стопорный штифт.

      2. Проколите отверстие в клейкой ленте, закрывающей отверстие, как показано на рисунке. (Процедура A)

      3. A259966

        Подайте воздух под давлением примерно 200 кПа(2,0кгс/см2, 29 фунтов на кв. дюйм) в проколотое на шаге A отверстие, чтобы освободить стопорный штифт.

        Note:
        • При наличии утечек воздуха заново наложите клейкую ленту.

        • Перед тем, как подать воздух под давлением, закройте масляное отверстие куском ткани, чтобы не допустить разбрызгивания масла.

      4. С усилием поверните зубчатое колесо распредвала в сборе в направлении опережения (против часовой стрелки).

        Tip:

        В зависимости от давления воздуха зубчатое колесо распредвала может поворачиваться в сторону опережения без приложения ручного усилия.

      5. Снимите клейкую ленту с крышки подшипника распредвала.

    9. A284107C02

      *a

      Удерживайте

      *b

      Указатель поворота

      Удерживая гаечным ключом шестигранную часть распредвала, затяните болт.

      85 Н*м

      867 кгс*см

      63 фунт-сила-фута

      Note:

      Соблюдайте осторожность, чтобы не повредить кожух распредвала в сборе или трубку свечного колодца гаечным ключом.

    10. A260579C06

      *a

      Метка, нанесенная краской

      *b

      Установочная метка

      Убедитесь, что все установочные метки на зубчатом колесе и ведущей звездочке распредвала совмещены со всеми установочными метками, показанными на рисунке.

  10. ДОБАВЬТЕ МОТОРНОЕ МАСЛО

    Нажмите здесьClick here

  11. УСТАНОВИТЕ НАПРАВЛЯЮЩУЮ ЦЕПНОГО ПРИВОДА ГАЗОРАСПРЕДЕЛИТЕЛЬНОГО МЕХАНИЗМА

    Нажмите здесьClick here

  12. УСТАНОВИТЕ НАТЯЖИТЕЛЬ ЦЕПИ № 1 В СБОРЕ

    1. A259742C06

      *a

      Приблизительно 10°

      Поверните шкив коленчатого вала приблизительно на 10° по часовой стрелке.

    2. Установите новую прокладку и натяжитель цепи № 1, закрепив его 2 болтами.

      10 Н*м

      102 кгс*см

      7 фунт-сила-футов

      Note:

      Примите меры, чтобы не уронить прокладку внутрь крышки цепного привода газораспределительного механизма.

    3. Извлеките штифт из стопорной пластины.

  13. ПРОВЕРЬТЕ ПОРШЕНЬ ЦИЛИНДРА № 1 В ВМТ ТАКТА СЖАТИЯ

    1. Проверните шкив коленчатого вала так, чтобы установочная метка (канавка) на нем и установочная метка "0" на крышке цепного привода газораспределительного механизма оказались совмещены.

      A284110C03

      *a

      Примерно 7°

      *b

      Примерно 32°

      *c

      ‏Установочная метка (канавка)

      *d

      Установочная метка "0"

    2. Убедитесь, что синхронизирующие метки на зубчатых колесах распредвалов установлены в положениях, показанных на рисунке. В противном случае проверните коленчатый вал на 1 оборот (360°) и совместите установочные метки, как показано на рисунке.

      Tip:

      Точка "A" на рисунке не является синхронизирующей меткой.

  14. УСТАНОВИТЕ ПЛАСТИНУ КРЫШКИ ЦЕПНОГО ПРИВОДА ГАЗОРАСПРЕДЕЛИТЕЛЬНОГО МЕХАНИЗМА

    Нажмите здесьClick here

  15. УСТАНОВИТЕ ПРОБКУ КРЫШКИ ЦЕПНОГО ПРИВОДА ГАЗОРАСПРЕДЕЛИТЕЛЬНОГО МЕХАНИЗМА

    Нажмите здесьClick here

  16. УСТАНОВИТЕ КРЫШКУ ГОЛОВКИ БЛОКА ЦИЛИНДРОВ В СБОРЕ

    Нажмите здесьClick here

  17. УСТАНОВИТЕ КАТУШКУ ЗАЖИГАНИЯ В СБОРЕ

    Нажмите здесьClick here

  18. ПОДСОЕДИНИТЕ ЖГУТ ЭЛЕКТРОПРОВОДКИ ДВИГАТЕЛЯ

    1. Установите жгут электропроводки двигателя на двигатель и закрепите его 7 болтами и 3 гайками.

      A311147C04

      *a

      болт A

      *b

      болт B

      *c

      Болт C

      *d

      Болт D

      *e

      Гайка

      -

      -

      Для болта A

      8,4 Н*м

      86 кгс*см

      74 фунт-сила-дюйма

      для болта B и гайки

      7,7 Н*м

      79 кгс*см

      68 фунт-сила-дюймов

      Для болта C

      8,0 Н*м

      82 кгс*см

      71 фунт-сила-дюйм

      Для болта D

      12,5 Н*м

      127 кгс*см

      9 фунт-сила-футов

    2. Подсоедините 17 разъемов и 2 зажима.

  19. ПОДСОЕДИНИТЕ ПРОВОД СОЕДИНЕНИЯ С МАССОЙ

    Нажмите здесьClick here

  20. УСТАНОВИТЕ КОРПУС ВОЗДУШНОГО ФИЛЬТРА В СБОРЕ

    Нажмите здесьClick here

  21. УСТАНОВИТЕ ФИЛЬТРУЮЩИЙ ЭЛЕМЕНТ ВОЗДУШНОГО ФИЛЬТРА В СБОРЕ

    Нажмите здесьClick here

  22. УСТАНОВИТЕ КРЫШКУ ВОЗДУШНОГО ФИЛЬТРА В СБОРЕ

    Нажмите здесьClick here

  23. УСТАНОВИТЕ ПОЛИКЛИНОВОЙ РЕМЕНЬ ВЕНТИЛЯТОРА И ГЕНЕРАТОРА

    Нажмите здесьClick here

  24. ПОДСОЕДИНИТЕ РАСШИРИТЕЛЬНЫЙ БАЧОК РАДИАТОРА В СБОРЕ

    Нажмите здесьClick here

  25. УСТАНОВИТЕ ЗАЖИМ СЕРВИСНОГО РАЗМЫКАТЕЛЯ ЦЕПИ

    Нажмите здесьClick here

  26. ПРОВЕРЬТЕ, НЕТ ЛИ УТЕЧЕК МАСЛА

    Нажмите здесьClick here

  27. УСТАНОВИТЕ ПРАВУЮ ЗАДНЮЮ ЗАЩИТУ КАРТЕРА ДВИГАТЕЛЯ

    Нажмите здесьClick here

  28. УСТАНОВИТЕ ЗАЩИТУ КАРТЕРА ДВИГАТЕЛЯ № 1 В СБОРЕ

    Нажмите здесьClick here

  29. УСТАНОВИТЕ КРЫШКУ ДВИГАТЕЛЯ № 1 В СБОРЕ

    Нажмите здесьClick here