KINETIC DYNAMIC SUSPENSION SYSTEM PARTS LOCATION

ILLUSTRATION

C220753C01

*1

STABILIZER CONTROL WITH ACCUMULATOR HOUSING ASSEMBLY

*2

ACCUMULATOR PRESSURE SENSOR

*3

STABILIZER CONTROL SOLENOID VALVE (for Upper Chamber)

*4

STABILIZER CONTROL SOLENOID VALVE (for Lower Chamber)

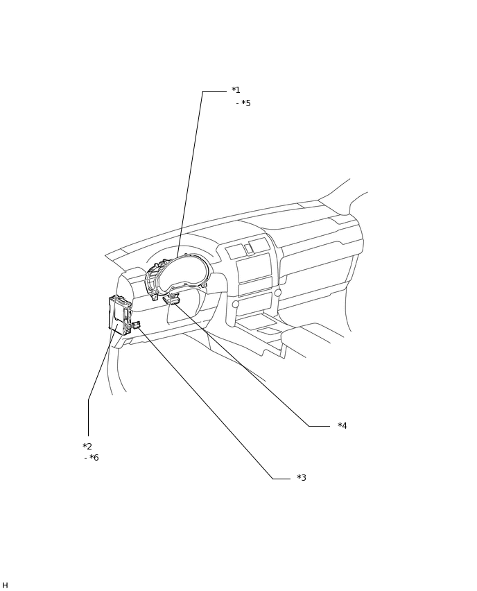
ILLUSTRATION

C220754C01

*1

COMBINATION METER

*2

DRIVER SIDE JUNCTION BLOCK ASSEMBLY

*3

DLC3

*4

STABILIZER CONTROL ECU

*5

KDSS INDICATOR LIGHT

*6

KDSS FUSE