БЛОК АВТОМАТИЧЕСКОЙ ТРАНСМИССИИ ПРОВЕРКА

ПОРЯДОК ВЫПОЛНЕНИЯ

  1. ПРОВЕРЬТЕ МАГНИТ МАСЛЯНОГО ФИЛЬТРА ТРАНСМИССИИ

    1. C138722

      С помощью снятых магнитов масляного фильтра трансмиссии соберите всю стальную стружку. Осмотрите частицы и стружку в масляном поддоне автоматической трансмиссии и на магнитах фильтра трансмиссионного масла, чтобы определить, какому типу износа подвергается автоматическая трансмиссия.

      Результат

      Сталь (магнитный материал)

      Латунь (немагнитный материал)

      износ подшипников, шестерен и пластины

      Износ втулки

  2. ПРОВЕРЬТЕ ОСЕВОЙ ЛЮФТ ПЕРВИЧНОГО ВАЛА В СБОРЕ

    1. C136696

      С помощью индикатора часового типа измерьте осевой люфт первичного вала.

      Номинальный осевой люфт

      0,020 - 1,242 мм (0,000787 - 0,0489 дюйма)

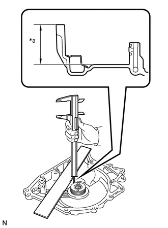
  3. ПРОВЕРЬТЕ ОСЕВОЙ ЛЮФТ ПРОМЕЖУТОЧНОГО ВАЛА

    1. C317168C01

      *a

      Размер (A)

      Очистите контактные поверхности картера трансмиссии в блоке с главной передачей в сборе и задней крышки трансмиссии в сборе.

    2. Расположите поверочную линейку на барабане многодисковой муфты прямой передачи и с помощью штангенциркуля измерьте расстояние между картером трансмиссии в блоке с главной передачей и поверочной линейкой (размер (A)).

    3. C138268C01

      *a

      Размер (B)

      Используя штангенциркуль и поверочную линейку, измерьте размер, указанный на рисунке (B)).

    4. По приведенной ниже формуле рассчитайте осевой люфт:

      Осевой люфт = размер (B) - размер (A) - толщина упорного игольчатого роликового подшипника

      Номинальный осевой люфт

      0,022 - 1,099 мм (0,000866 - 0,0433 дюйма)

  4. ПРОВЕРЬТЕ СОЛНЕЧНУЮ ШЕСТЕРНЮ ПЛАНЕТАРНОЙ ПЕРЕДАЧИ В СБОРЕ

    1. C138259

      С помощью индикатора часового типа для отверстий измерьте внутренний диаметр втулок солнечной шестерни планетарной передачи.

      Номинальный внутренний диаметр

      25,525 - 25,546 мм (1,00492 - 1,00575 дюйма)

      Максимальный внутренний диаметр

      25,546 мм (1,00575 дюйма)

      Если внутренний диаметр превышает максимально допустимое значение, замените солнечную шестерню планетарной передачи.

  5. ПРОВЕРЬТЕ СОЛНЕЧНУЮ ШЕСТЕРНЮ ЗАДНЕЙ ПЛАНЕТАРНОЙ ПЕРЕДАЧИ В СБОРЕ

    1. C201528

      С помощью индикатора часового типа для отверстий измерьте внутренний диаметр втулки солнечной шестерни задней планетарной передачи.

      Номинальный внутренний диаметр

      25,580 - 25,601 мм (1,00708 - 1,00791 дюйма)

      Максимальный внутренний диаметр

      25,601 мм (1,00791 дюйма)

      Если внутренний диаметр превышает максимально допустимое значение, замените солнечную шестерню задней планетарной передачи.

  6. ПРОВЕРЬТЕ ПОНИЖАЮЩУЮ ПЛАНЕТАРНУЮ ПЕРЕДАЧУ В СБОРЕ

    1. C200900

      С помощью комплекта плоских щупов измерьте зазор между кожухом понижающей планетарной передачи и каждой ведущей шестерней.

      Номинальный зазор

      0,18-0,54 мм (0,00709-0,0213 дюйма)

      Если зазор не отвечает требованиям, замените понижающую планетарную передачу в сборе.

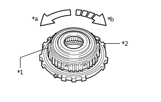
  7. ПРОВЕРЬТЕ МУФТУ СВОБОДНОГО ХОДА В СБОРЕ

    1. C189425C01

      *1

      Коронная шестерня планетарной передачи

      *2

      Муфта свободного хода в сборе

      *a

      Отпущен

      *b

      Заблокировано

      Временно установите муфту свободного хода в сборе на коронную шестерню планетарной передачи.

    2. Убедитесь, что муфта свободного хода свободно вращается против часовой стрелки и блокируется при вращении по часовой стрелке.

      Если работа муфты свободного хода нарушена, замените ее.

  8. ПРОВЕРЬТЕ ТОРМОЗНОЙ ДИСК № 1

    1. C317139

      Убедитесь в отсутствии износа и подгорания контактных поверхностей тормозных дисков № 1, тормозных пластин № 1 и фланца тормоза № 1.

      При необходимости замените их.

      Note:
      • Если фрикционная накладка какого-либо тормозного диска № 1 отслоилась или выцвела, или стерлась хотя бы часть канавки, замените все тормозные диски № 1.

      • Перед установкой новых тормозных дисков № 1 опустите их в трансмиссионную жидкость, как минимум, на 15 минут.

  9. ПРОВЕРЬТЕ ТОРМОЗНОЙ ДИСК № 2

    1. C317140

      Убедитесь в отсутствии износа и подгорания контактных поверхностей тормозных дисков № 2, тормозных пластин № 2 и фланца тормоза № 2.

      При необходимости замените их.

      Note:
      • Если фрикционная накладка какого-либо тормозного диска № 2 отслоилась или выцвела, или стерлась хотя бы часть канавки, замените все тормозные диски № 2.

      • Перед установкой новых тормозных дисков № 2 опустите их в трансмиссионную жидкость, как минимум, на 15 минут.

  10. ПРОВЕРЬТЕ ТОРМОЗНОЙ ДИСК № 3

    1. C317139

      Убедитесь в отсутствии износа и подгорания контактных поверхностей тормозных дисков № 3, тормозных пластин № 3 и фланцев тормоза № 3.

      При необходимости замените их.

      Note:
      • Если фрикционная накладка какого-либо тормозного диска № 3 отслоилась или выцвела, или стерлась хотя бы часть канавки, замените все тормозные диски № 3.

      • Перед установкой новых тормозных дисков № 3 опустите их в трансмиссионную жидкость, как минимум, на 15 минут.

  11. ПРОВЕРЬТЕ СТЯЖНУЮ ПРУЖИНУ ПОРШНЯ ТОРМОЗНОГО ЦИЛИНДРА 2-Й ПЕРЕДАЧИ В СБОРЕ

    1. C138254

      С помощью штангенциркуля измерьте длину 3 стяжных пружин поршня тормозного цилиндра 2-й передачи в свободном состоянии вместе с седлами.

      Номинальная длина в свободном состоянии

      23,26 мм (0,916 дюйма)

      Если длина в свободном состоянии меньше номинальной, замените стяжную пружину поршня тормозного цилиндра 2-й передачи в сборе.

  12. ПРОВЕРЬТЕ СТЯЖНУЮ ПРУЖИНУ ТОРМОЗА 1-Й ПЕРЕДАЧИ И ПЕРЕДАЧИ ЗАДНЕГО ХОДА В СБОРЕ

    1. C141533

      С помощью штангенциркуля измерьте длину стяжной пружины тормоза 1-й передачи и передачи заднего хода с седлом в свободном состоянии.

      Номинальная длина в свободном состоянии

      15,79 мм (0,622 дюйма)

      Если длина в свободном состоянии меньше номинальной, замените стяжную пружину поршня тормоза 1-й передачи и передачи заднего хода в сборе.

  13. ПРОВЕРЬТЕ СТЯЖНУЮ ПРУЖИНУ ПОРШНЯ ТОРМОЗНОГО ЦИЛИНДРА № 3 В СБОРЕ

    1. C201505

      С помощью штангенциркуля измерьте длину возвратной пружины поршня тормозного цилиндра № 3 в свободном состоянии вместе с седлом.

      Номинальная длина в свободном состоянии

      9,15 мм (0,360 дюйма)

      Если длина в свободном состоянии меньше номинальной, замените стяжную пружину поршня тормозного цилиндра № 3 в сборе.

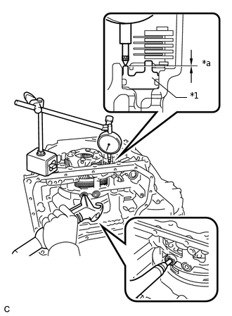
  14. ПРОВЕРЬТЕ ЗАЗОР ПОРШНЯ ТОРМОЗНОГО ЦИЛИНДРА № 1

    1. C309087C01

      *1

      Поршень тормозного цилиндра № 1

      *a

      зазор

      Подайте сжатый воздух в смазочное отверстие, показанное на рисунке, и проверьте работу поршня тормозного цилиндра № 1.

    2. Установите индикатор часового типа, как показано на рисунке.

    3. С помощью индикатора часового типа измерьте зазор № Поршень тормозного цилиндра № 1, подав сжатый воздух (под давлением 350 кПа, 3,6 кгс/см2,51 фунтна кв. дюйм).

      Номинальный зазор

      0,729 - 0,951 мм (0,0287 - 0,0374 дюйма)

      Tip:

      Измерьте зазор в 3 местах, где диаметр поршня тормозного цилиндра № 1 равен примерно 140 мм (5,51 дюйма), и рассчитайте среднее значение.

      Если зазор не удовлетворяет требованиям, подберите подходящий фланец тормоза № 1, при котором зазор не будет выходить за пределы заданного диапазона.

      Tip:

      Существует 6 фланцев тормоза № 1 различной толщины.

      Table 1. Толщина фланца тормоза № 1

      Номер детали

      Метка

      Толщина, мм (дюйма)

      35676-73010

      30

      3,0 (0,118)

      35676-73020

      31

      3,1 (0,122)

      35676-73030

      32

      3,2 (0,126)

      35676-73040

      33

      3,3 (0,130)

      35676-73050

      34

      3,4 (0,134)

      35676-73060

      35

      3,5 (0,138)

  15. ПРОВЕРЬТЕ ЗАЗОР ПОРШНЯ ТОРМОЗНОГО ЦИЛИНДРА № 2

    1. C238856C01

      *1

      Поршень тормозного цилиндра № 2

      *a

      зазор

      Подайте сжатый воздух в смазочное отверстие, показанное на рисунке, и проверьте работу поршня тормозного цилиндра № 2.

    2. Установите индикатор часового типа, как показано на рисунке.

    3. С помощью индикатора часового типа измерьте зазор № Поршень тормозного цилиндра № 2, подав сжатый воздух (под давлением 350 кПа, 3,6 кгс/см2,51 фунтна кв. дюйм).

      Номинальный зазор

      0,966 - 1,234 мм (0,0380 - 0,0486 дюйма)

      Tip:

      Измерьте зазор в 3 местах, где диаметр поршня тормозного цилиндра № 2 равен примерно 140 мм (5,51 дюйма), и рассчитайте среднее значение.

      Если зазор не удовлетворяет требованиям, подберите подходящий фланец тормоза № 2, при котором зазор не будет выходить за пределы заданного диапазона.

      Tip:

      Существует 5 фланцев тормоза № 2 различной толщины.

      Table 2. Толщина фланца тормоза № 2

      № детали

      Метка

      Толщина, мм (дюйма)

      35678-33140

      40A

      4,0 (0,157)

      35678-33150

      41A

      4,1 (0,161)

      35678-33160

      42A

      4,2 (0,165)

      35678-33170

      43A

      4,3 (0,169)

      35678-33180

      44A

      4,4 (0,173)

  16. ПРОВЕРЬТЕ ЗАЗОР ПОРШНЯ ТОРМОЗНОГО ЦИЛИНДРА № 3

    1. С помощью штангенциркуля и поверочной линейки измерьте расстояние, показанное на рисунке (размер (A)), приложив к фланцу тормоза № 3 усилие величиной 500 Н (51 кгс, 112,4 фунт-силы).

      C319464C01

      *1

      Передний масляный насос в сборе

      *2

      Поршень тормозного цилиндра № 3

      *3

      Фланец тормоза № 3

      -

      -

      *a

      Размер (A)

      *b

      Размер (B)

      *c

      Контактная поверхность переднего масляного насоса в сборе

      -

      -

      Tip:

      Измерьте расстояние (размер (A)) в 3 местах, где диаметр фланца тормоза № 3 равен примерно 166 мм (6,54 дюйма), и рассчитайте среднее значение.

    2. Используя штангенциркуль и поверочную линейку, измерьте размер, указанный на рисунке (B)).

      Tip:

      Измерьте расстояние (размер (B)) в 3 местах, где диаметр поршня тормозного цилиндра № 3 равен примерно 166 мм (6,54 дюйма), и рассчитайте среднее значение.

    3. По приведенной ниже формуле рассчитайте зазор:

      Зазор = размер (B) – размер (A)

      Номинальный зазор

      0,727 - 0,927 мм (0,0286 - 0,0365 дюйма)

      Если зазор не удовлетворяет требованиям, подберите подходящий фланец тормоза № 3, при котором зазор не будет выходить за пределы заданного диапазона.

    4. Отрегулируйте зазор поршень тормозного цилиндра № 3:

      1. C317753C01

        *a

        Защитная клейкая лента

        С помощью отвертки с обернутым изолентой концом снимите пружинное стопорное кольцо с переднего масляного насоса в сборе.

      2. C317765C01

        *1

        Фланец тормоза № 3

        Снимите фланец тормоза № 3 с переднего масляного насоса в сборе.

      3. С помощью штангенциркуля и поверочной линейки измерьте расстояние, показанное на рисунке (размер (A)), приложив к тормозному диску № 3 усилие величиной 500 Н (51 кгс, 112,4 фунт-силы).

        C319465C01

        *1

        Передний масляный насос в сборе

        *2

        Поршень тормозного цилиндра № 3

        *3

        Тормозной диск № 3

        -

        -

        *a

        Размер (A)

        *b

        Размер (B)

        *c

        Контактная поверхность переднего масляного насоса в сборе

        -

        -

        Tip:

        Измерьте расстояние (размер (A)) в 3 местах, где диаметр тормозного диска № 3 равен примерно 166 мм (6,54 дюйма), и рассчитайте среднее значение.

      4. Используя штангенциркуль и поверочную линейку, измерьте размер, указанный на рисунке (B)).

        Tip:

        Измерьте расстояние (размер (B)) в 3 местах, где диаметр поршня тормозного цилиндра № 3 равен примерно 166 мм (6,54 дюйма), и рассчитайте среднее значение.

      5. По приведенной ниже формуле рассчитайте толщину заменяемого фланца тормоза № 3:

        Толщина заменяемого фланца тормоза № 3

        Размер (B) - Размер (A) - (0,727-0,927 мм (0,0286-0,0365 дюйма))

        Tip:

        Существует 7 фланцев тормоза № 3 различной толщины.

        Table 3. Толщина фланца тормоза № 3

        № детали

        Метка

        Толщина, мм (дюйма)

        35679-73020

        38

        3.8 (0.150)

        35679-73030

        39

        3,9 (0,154)

        35679-73040

        40

        4,0 (0,157)

        35679-73050

        41

        4,1 (0,161)

        35679-73060

        42

        4,2 (0,165)

        35679-73070

        43

        4,3 (0,169)

        35679-73080

        44

        4,4 (0,173)

      6. C317765C01

        *1

        Фланец тормоза № 3

        Установите фланец тормоза № 3 в передний масляный насос в сборе.

      7. C274824N07

        С помощью отвертки с обернутым изолентой концом установите пружинное стопорное кольцо на передний масляный насос в сборе.

        Note:
        • Убедитесь, что пружинное стопорное кольцо правильно установлено в канавке переднего масляного насоса.

        • Убедитесь, что концы пружинного стопорного кольца располагаются, как показано на рисунке (A).

  17. ПРОВЕРЬТЕ ЗАЗОР МУФТЫ СЦЕПЛЕНИЯ № 1

    1. C201532

      Установите заднюю многодисковую муфту в сборе на заднюю крышку трансмиссии в сборе.

    2. Убедитесь, что поршень перемещается при сжатый воздух (под давлением 200 кПа, 2,0 кгс/см2,29фунтов на кв. дюйм) в отверстие для масла подается.

    3. C317169C01

      *a

      Плоский щуп

      С помощью комплекта плоских щупов измерьте зазор уплотнения муфты № 1.

      Номинальный зазор уплотнения

      0,601 - 0,819 мм (0,0237 - 0,0322 дюйма)

      Tip:

      Измерьте зазор в 3 местах, где диаметр фланца равен примерно 152 мм (5,98 дюйма), и рассчитайте среднее значение.

      Если зазор уплотнения не соответствует указанному, замените заднюю многодисковую муфту в сборе.

  18. ПРОВЕРЬТЕ ЗАЗОР МУФТЫ СЦЕПЛЕНИЯ № 2

    1. C325094C01

      *1

      Поршень муфты прямой передачи № 2

      Установите заднюю многодисковую муфту в сборе на заднюю крышку трансмиссии в сборе.

    2. С помощью индикатора часового типа измерьте № Зазор уплотнения муфты № 2, подавая сжатый воздух (под давлением 200 кПа, 2,0 кгс/см2, 29фунтов на кв. дюйм).

      Номинальный зазор уплотнения

      0,394 - 0,605 мм (0,0155 - 0,0238 дюйма)

      Tip:

      Измерьте зазор в 3 местах, где диаметр поршня муфты прямой передачи № 2 равен примерно 152 мм (5,98 дюйма), и рассчитайте среднее значение.

      Если зазор уплотнения не соответствует указанному, замените заднюю многодисковую муфту в сборе.