AIRBAG SYSTEM(w/ Occupant Classification System), Diagnostic DTC:B1693/81 and B1698/82

DTC Code DTC Name
B1693/81 Door Side Airbag Sensor RH Initialization Incomplete
B1698/82 Door Side Airbag Sensor LH Initialization Incomplete

DESCRIPTION

The circuit for the side collision sensor LH or RH (to determine deployment of the front seat airbag assembly LH or RH and curtain shield airbag assembly LH or RH) is composed of the airbag sensor assembly, rear airbag sensor LH or RH and door side airbag sensor LH or RH.

The rear airbag sensor LH or RH and door side airbag sensor LH or RH detect impacts to the vehicle and send signals to the airbag sensor assembly to determine if the airbag should be deployed.

DTC B1693/81 or B1698/82 is stored when a malfunction is detected in the circuit for the side collision sensor LH or RH (to determine deployment of the front seat airbag assembly LH or RH and curtain shield airbag assembly LH or RH).

DTC No.

Detection Item

DTC Detection Condition

Trouble Area

B1693/81

Door Side Airbag Sensor RH Initialization Incomplete

One of the following conditions is met:

  • The airbag sensor assembly detects a line short circuit signal, open circuit signal, short circuit to ground signal or short circuit to B+ signal in the circuit for the side collision sensor RH (to determine deployment of the front seat airbag assembly RH and curtain shield airbag assembly RH) for 2 seconds.

  • A door side airbag sensor RH malfunction.

  • A rear airbag sensor RH malfunction.

  • An airbag sensor assembly malfunction.

  • Floor wire

  • Front door wire RH

  • Door side airbag sensor RH

  • Rear airbag sensor RH

  • Airbag sensor assembly

B1698/82

Door Side Airbag Sensor LH Initialization Incomplete

One of the following conditions is met:

  • The airbag sensor assembly detects a line short circuit signal, open circuit signal, short circuit to ground signal or short circuit to B+ signal in the circuit for the side collision sensor LH (to determine deployment of the front seat airbag assembly LH and curtain shield airbag assembly LH) for 2 seconds.

  • A door side airbag sensor LH malfunction.

  • A rear airbag sensor LH malfunction.

  • An airbag sensor assembly malfunction.

  • No. 2 floor wire

  • Front door wire RH

  • Door side airbag sensor LH

  • Rear airbag sensor LH

  • Airbag sensor assembly

WIRING DIAGRAM

C279110E03
C279110E04

CAUTION / NOTICE / HINT

Note:
  • After turning the power switch off, waiting time may be required before disconnecting the cable from the negative (-) auxiliary battery terminal. Therefore, make sure to read the disconnecting the cable from the negative (-) auxiliary battery terminal notices before proceeding with work.

    Click hereClick hereClick hereClick here

  • When disconnecting the cable from the negative (-) auxiliary battery terminal while performing repairs, some systems need to be initialized after the cable is reconnected.

    Click hereClick hereClick here

  • After replacing the airbag sensor assembly, refer to initialization.

    Click hereClick hereClick here

PROCEDURE

  1. CHECK PAST DTC

    1. Turn the power switch to on (IG), and wait for at least 60 seconds.

    2. Check for DTCs.

      Click here

      Body Electrical > SRS Airbag > Trouble Codes

      Result

      Proceed to

      DTC B1692/81 is output

      DTC B1697/82 is output

      DTC B1692/81 and B1697/82 are not output

    DTC B1692/81 is output

    GO TO DTC B1692/81

    DTC B1697/82 is output

    GO TO DTC B1697/82

    DTC B1692/81 and B1697/82 are not output
  2. CHECK DTC

    1. Turn the power switch to on (IG).

    2. Clear the DTCs stored in memory.

      Click here

      Body Electrical > SRS Airbag > Clear DTCs

    3. Turn the power switch off.

    4. Turn the power switch to on (IG), and wait for at least 60 seconds.

    5. Check for DTCs.

      Click here

      Body Electrical > SRS Airbag > Trouble Codes

      Result

      Proceed to

      DTC B1698/82 is output

      DTC B1693/81 is output

      DTC B1693/81 and B1698/82 are not output

      Tip:

      Codes other than DTC B1693/81 and B1698/82 may be output at this time, but they are not related to this check.

    DTC B1693/81 is output

    CHECK CONNECTION OF CONNECTORSClick here

    DTC B1693/81 and B1698/82 are not output

    USE SIMULATION METHOD TO CHECK

    DTC B1698/82 is output
  3. CHECK CONNECTION OF CONNECTORS

    1. Turn the power switch off.

    2. Disconnect the cable from the negative (-) auxiliary battery terminal, and wait for at least 90 seconds.

    3. Check that the connectors are properly connected to the airbag sensor assembly, rear airbag sensor LH and door side airbag sensor LH.

      Result

      Proceed to

      The connectors are properly connected

      The connectors are not properly connected

    The connectors are not properly connected

    CONNECT CONNECTORS PROPERLY

    The connectors are properly connected
  4. CHECK CONNECTORS

    1. Disconnect the connectors from the airbag sensor assembly, rear airbag sensor LH and door side airbag sensor LH.

    2. C279112C01

      *1

      Rear Airbag Sensor LH

      *2

      Door Side Airbag Sensor LH

      *3

      Airbag Sensor Assembly

      Check that the connectors (on the airbag sensor assembly side, rear airbag sensor LH side and door side airbag sensor LH side) are not damaged.

    Result

    Proceed to

    The connectors are not deformed or damaged

    The connectors are deformed or damaged

    The connectors are deformed or damaged

    REPLACE HARNESS AND CONNECTOR

    The connectors are not deformed or damaged
  5. CHECK DOOR SIDE AIRBAG SENSOR LH CIRCUIT

    1. Connect the cable to the negative (-) auxiliary battery terminal, and wait for at least 2 seconds.

      C256270C03

      *1

      Door Side Airbag Sensor LH

      *2

      Rear Airbag Sensor LH

      *3

      Connector E

      *4

      Connector B

      *5

      Service Wire

      -

      -

      *a

      Front view of wire harness connector

      (to Door Side Airbag Sensor LH)

      *b

      Front view of wire harness connector

      (to Rear Airbag Sensor LH)

    2. Turn the power switch to on (IG).

    3. Measure the voltage according to the value(s) in the table below.

      Standard Voltage

      Tester Connection

      Switch Condition

      Specified Condition

      N9-1 (BDL+) - Body ground

      Power switch on (IG)

      Below 1 V

      N9-2 (BDL-) - Body ground

      Power switch on (IG)

      Below 1 V

    4. Turn the power switch off.

    5. Disconnect the cable from the negative (-) auxiliary battery terminal, and wait for at least 90 seconds.

    6. Using a service wire, connect terminals 2 (BDL+) and 1 (BDL-) of connector E.

      Note:

      Do not forcibly insert the service wire into the terminals of the connector when connecting a service wire.

    7. Measure the resistance according to the value(s) in the table below.

      Standard Resistance

      Tester Connection

      Condition

      Specified Condition

      N9-1 (BDL+) - N9-2 (BDL-)

      Always

      Below 1 Ω

    8. Disconnect the service wire from connector E.

    9. Measure the resistance according to the value(s) in the table below.

      Standard Resistance

      Tester Connection

      Condition

      Specified Condition

      N9-1 (BDL+) - N9-2 (BDL-)

      Always

      1 MΩ or higher

      N9-1 (BDL+) - Body ground

      Always

      1 MΩ or higher

      N9-2 (BDL-) - Body ground

      Always

      1 MΩ or higher

    Result

    Proceed to

    OK

    NG

    NG

    CHECK NO. 2 FLOOR WIREClick here

    OK
  6. CHECK REAR AIRBAG SENSOR LH

    1. C171812C09

      *1

      Rear Airbag Sensor RH

      *2

      Airbag Sensor Assembly

      Connect the connectors to the airbag sensor assembly and door side airbag sensor LH.

    2. Interchange the rear airbag sensor LH with RH and connect the connectors to them.

    3. Connect the cable to the negative (-) auxiliary battery terminal, and wait for at least 2 seconds.

    4. Turn the power switch to on (IG), and wait for at least 60 seconds.

    5. Clear the DTCs stored in memory.

      Click here

      Body Electrical > SRS Airbag > Clear DTCs

    6. Turn the power switch off.

    7. Turn the power switch to on (IG), and wait for at least 60 seconds.

    8. Check for DTCs.

      Click here

      Body Electrical > SRS Airbag > Trouble Codes

      Result

      Proceed to

      DTC B1693/81 is output

      DTC B1698/82 is output

      DTC B1693/81 and B1698/82 are not output

      Tip:

      Codes other than DTC B1693/81 and B1698/82 may be output at this time, but they are not related to this check.

    9. Turn the power switch off.

    10. Disconnect the cable from the negative (-) auxiliary battery terminal, and wait for at least 90 seconds.

    11. Return the rear airbag sensor RH and LH to their original positions and connect the connectors to them.

    DTC B1693/81 is output

    REPLACE REAR AIRBAG SENSOR LH

    DTC B1698/82 is output

    CHECK DOOR SIDE AIRBAG SENSOR LHClick here

    DTC B1693/81 and B1698/82 are not output

    USE SIMULATION METHOD TO CHECK

  7. CHECK NO. 2 FLOOR WIRE

    1. Disconnect the No. 2 floor wire connector from the front door wire LH.

      C279671C03

      *1

      Door Side Airbag Sensor LH

      *2

      Rear Airbag Sensor LH

      *3

      Front Door Wire LH

      *4

      No. 2 Floor Wire

      *5

      Connector C

      *6

      Connector B

      *7

      Service Wire

      -

      -

      *a

      Front view of wire harness connector

      (to Front Door Wire LH)

      *b

      Front view of wire harness connector

      (to Rear Airbag Sensor LH)

    2. Connect the cable to the negative (-) auxiliary battery terminal, and wait for at least 2 seconds.

    3. Turn the power switch to on (IG).

    4. Measure the voltage according to the value(s) in the table below.

      Standard Voltage

      Tester Connection

      Switch Condition

      Specified Condition

      N9-1 (BDL+) - Body ground

      Power switch on (IG)

      Below 1 V

      N9-2 (BDL-) - Body ground

      Power switch on (IG)

      Below 1 V

    5. Turn the power switch off.

    6. Disconnect the cable from the negative (-) auxiliary battery terminal, and wait for at least 90 seconds.

    7. Using a service wire, connect terminals 3 (BDL+) and 1 (BDL-) of connector C.

      Note:

      Do not forcibly insert the service wire into the terminals of the connector when connecting a service wire.

    8. Measure the resistance according to the value(s) in the table below.

      Standard Resistance

      Tester Connection

      Condition

      Specified Condition

      N9-1 (BDL+) - N9-2 (BDL-)

      Always

      Below 1 Ω

    9. Disconnect the service wire from connector C.

    10. Measure the resistance according to the value(s) in the table below.

      Standard Resistance

      Tester Connection

      Condition

      Specified Condition

      N9-1 (BDL+) - N9-2 (BDL-)

      Always

      1 MΩ or higher

      N9-1 (BDL+) - Body ground

      Always

      1 MΩ or higher

      N9-2 (BDL-) - Body ground

      Always

      1 MΩ or higher

    Result

    Proceed to

    OK

    NG

    OK

    REPLACE FRONT DOOR WIRE LH

    NG

    REPLACE NO. 2 FLOOR WIRE

  8. CHECK DOOR SIDE AIRBAG SENSOR LH

    1. C171828C15

      *1

      Door Side Airbag Sensor RH

      *2

      Rear Airbag Sensor LH

      Interchange the door side airbag sensor LH with RH and connect the connectors to them.

    2. Connect the cable to the negative (-) auxiliary battery terminal, and wait for at least 2 seconds.

    3. Turn the power switch to on (IG), and wait for at least 60 seconds.

    4. Clear the DTCs stored in memory.

      Click here

      Body Electrical > SRS Airbag > Clear DTCs

    5. Turn the power switch off.

    6. Turn the power switch to on (IG), and wait for at least 60 seconds.

    7. Check for DTCs.

      Click here

      Body Electrical > SRS Airbag > Trouble Codes

      Result

      Proceed to

      DTC B1693/81 is output

      DTC B1698/82 is output

      DTC B1693/81 and B1698/82 are not output

      Tip:

      Codes other than DTC B1693/81 and B1698/82 may be output at this time, but they are not related to this check.

    8. Turn the power switch off.

    9. Disconnect the cable from the negative (-) auxiliary battery terminal, and wait for at least 90 seconds.

    10. Return the door side airbag sensor RH and LH to their original positions and connect the connectors to them.

    DTC B1693/81 is output

    REPLACE DOOR SIDE AIRBAG SENSOR LH

    DTC B1698/82 is output

    REPLACE AIRBAG SENSOR ASSEMBLY

    DTC B1693/81 and B1698/82 are not output

    USE SIMULATION METHOD TO CHECK

  9. CHECK CONNECTION OF CONNECTORS

    1. Turn the power switch off.

    2. Disconnect the cable from the negative (-) auxiliary battery terminal, and wait for at least 90 seconds.

    3. Check that the connectors are properly connected to the airbag sensor assembly, rear airbag sensor RH and door side airbag sensor RH.

    Result

    Proceed to

    The connectors are properly connected

    The connectors are not properly connected

    The connectors are not properly connected

    CONNECT CONNECTORS PROPERLY

    The connectors are properly connected
  10. CHECK CONNECTORS

    1. Disconnect the connectors from the airbag sensor assembly, rear airbag sensor RH and door side airbag sensor RH.

    2. E272022C02

      *1

      Rear Airbag Sensor RH

      *2

      Door Side Airbag Sensor RH

      *3

      Airbag Sensor Assembly

      Check that the connectors (on the airbag sensor assembly side, rear airbag sensor RH side and door side airbag sensor RH side) are not damaged.

    Result

    Proceed to

    The connectors are not deformed or damaged

    The connectors are deformed or damaged

    The connectors are deformed or damaged

    REPLACE HARNESS AND CONNECTOR

    The connectors are not deformed or damaged
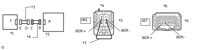
  11. CHECK DOOR SIDE AIRBAG SENSOR RH CIRCUIT

    1. Connect the cable to the negative (-) auxiliary battery terminal, and wait for at least 2 seconds.

      C256270C01

      *1

      Door Side Airbag Sensor RH

      *2

      Rear Airbag Sensor RH

      *3

      Connector E

      *4

      Connector B

      *5

      Service Wire

      -

      -

      *a

      Front view of wire harness connector

      (to Door Side Airbag Sensor RH)

      *b

      Front view of wire harness connector

      (to Rear Airbag Sensor RH)

    2. Turn the power switch to on (IG).

    3. Measure the voltage according to the value(s) in the table below.

      Standard Voltage

      Tester Connection

      Switch Condition

      Specified Condition

      M7-1 (BDR+) - Body ground

      Power switch on (IG)

      Below 1 V

      M7-2 (BDR-) - Body ground

      Power switch on (IG)

      Below 1 V

    4. Turn the power switch off.

    5. Disconnect the cable from the negative (-) auxiliary battery terminal, and wait for at least 90 seconds.

    6. Using a service wire, connect terminals 2 (BDR+) and 1 (BDR-) of connector E.

      Note:

      Do not forcibly insert the service wire into the terminals of the connector when connecting a service wire.

    7. Measure the resistance according to the value(s) in the table below.

      Standard Resistance

      Tester Connection

      Condition

      Specified Condition

      M7-1 (BDR+) - M7-2 (BDR-)

      Always

      Below 1 Ω

    8. Disconnect the service wire from connector E.

    9. Measure the resistance according to the value(s) in the table below.

      Standard Resistance

      Tester Connection

      Condition

      Specified Condition

      M7-1 (BDR+) - M7-2 (BDR-)

      Always

      1 MΩ or higher

      M7-1 (BDR+) - Body ground

      Always

      1 MΩ or higher

      M7-2 (BDR-) - Body ground

      Always

      1 MΩ or higher

    Result

    Proceed to

    OK

    NG

    NG

    CHECK FLOOR WIREClick here

    OK
  12. CHECK REAR AIRBAG SENSOR RH

    1. C146229C11

      *1

      Rear Airbag Sensor LH

      *2

      Airbag Sensor Assembly

      Connect the connectors to the airbag sensor assembly and door side airbag sensor RH.

    2. Interchange the rear airbag sensor RH with LH and connect the connectors to them.

    3. Connect the cable to the negative (-) auxiliary battery terminal, and wait for at least 2 seconds.

    4. Turn the power switch to on (IG), and wait for at least 60 seconds.

    5. Clear the DTCs stored in memory.

      Click here

      Body Electrical > SRS Airbag > Clear DTCs

    6. Turn the power switch off.

    7. Turn the power switch to on (IG), and wait for at least 60 seconds.

    8. Check for DTCs.

      Click here

      Body Electrical > SRS Airbag > Trouble Codes

      Result

      Proceed to

      DTC B1698/82 is output

      DTC B1693/81 is output

      DTC B1693/81 and B1698/82 are not output

      Tip:

      Codes other than DTC B1693/81 and B1698/82 may be output at this time, but they are not related to this check.

    9. Turn the power switch off.

    10. Disconnect the cable from the negative (-) auxiliary battery terminal, and wait for at least 90 seconds.

    11. Return the rear airbag sensor LH and RH to their original positions and connect the connectors to them.

    DTC B1698/82 is output

    REPLACE REAR AIRBAG SENSOR RH

    DTC B1693/81 is output

    CHECK DOOR SIDE AIRBAG SENSOR RHClick here

    DTC B1693/81 and B1698/82 are not output

    USE SIMULATION METHOD TO CHECK

  13. CHECK FLOOR WIRE

    1. Disconnect the floor wire connector from the front door wire RH.

      C279670C03

      *1

      Door Side Airbag Sensor RH

      *2

      Rear Airbag Sensor RH

      *3

      Front Door Wire RH

      *4

      Floor Wire

      *5

      Connector C

      *6

      Connector B

      *7

      Service Wire

      -

      -

      *a

      Front view of wire harness connector

      (to Front Door Wire RH)

      *b

      Front view of wire harness connector

      (to Rear Airbag Sensor RH)

    2. Connect the cable to the negative (-) auxiliary battery terminal, and wait for at least 2 seconds.

    3. Turn the power switch to on (IG).

    4. Measure the voltage according to the value(s) in the table below.

      Standard Voltage

      Tester Connection

      Switch Condition

      Specified Condition

      M7-1 (BDR+) - Body ground

      Power switch on (IG)

      Below 1 V

      M7-2 (BDR-) - Body ground

      Power switch on (IG)

      Below 1 V

    5. Turn the power switch off.

    6. Disconnect the cable from the negative (-) auxiliary battery terminal, and wait for at least 90 seconds.

    7. Using a service wire, connect terminals 2 (BDR+) and 1 (BDR-) of connector C.

      Note:

      Do not forcibly insert the service wire into the terminals of the connector when connecting a service wire.

    8. Measure the resistance according to the value(s) in the table below.

      Standard Resistance

      Tester Connection

      Condition

      Specified Condition

      M7-1 (BDR+) - M7-2 (BDR-)

      Always

      Below 1 Ω

    9. Disconnect the service wire from connector C.

    10. Measure the resistance according to the value(s) in the table below.

      Standard Resistance

      Tester Connection

      Condition

      Specified Condition

      M7-1 (BDR+) - M7-2 (BDR-)

      Always

      1 MΩ or higher

      M7-1 (BDR+) - Body ground

      Always

      1 MΩ or higher

      M7-2 (BDR-) - Body ground

      Always

      1 MΩ or higher

    Result

    Proceed to

    OK

    NG

    OK

    REPLACE FRONT DOOR WIRE RH

    Click here

    NG

    REPLACE FLOOR WIRE

  14. CHECK DOOR SIDE AIRBAG SENSOR RH

    1. C171828C15

      *1

      Door Side Airbag Sensor LH

      *2

      Rear Airbag Sensor RH

      Interchange the door side airbag sensor RH with LH and connect the connectors to them.

    2. Connect the cable to the negative (-) auxiliary battery terminal, and wait for at least 2 seconds.

    3. Turn the power switch to on (IG), and wait for at least 60 seconds.

    4. Clear the DTCs stored in memory.

      Click here

      Body Electrical > SRS Airbag > Clear DTCs

    5. Turn the power switch off.

    6. Turn the power switch to on (IG), and wait for at least 60 seconds.

    7. Check for DTCs.

      Click here

      Body Electrical > SRS Airbag > Trouble Codes

      Result

      Proceed to

      DTC B1698/82 is output

      DTC B1693/81 is output

      DTC B1693/81 and B1698/82 are not output

      Tip:

      Codes other than DTC B1693/81 and B1698/82 may be output at this time, but they are not related to this check.

    8. Turn the power switch off.

    9. Disconnect the cable from the negative (-) auxiliary battery terminal, and wait for at least 90 seconds.

    10. Return the door side airbag sensor LH and RH to their original positions and connect the connectors to them.

    DTC B1698/82 is output

    REPLACE DOOR SIDE AIRBAG SENSOR RH

    DTC B1693/81 is output

    REPLACE AIRBAG SENSOR ASSEMBLY

    DTC B1693/81 and B1698/82 are not output

    USE SIMULATION METHOD TO CHECK