БЛОК ЦИЛИНДРОВ ЗАМЕНА

ПОРЯДОК ВЫПОЛНЕНИЯ

  1. ЗАМЕНИТЕ СОЕДИНИТЕЛЬНОЕ КОЛЬЦО

    Note:

    Снимать соединительные кольца нужно только для их замены.

    1. Снимите 12 соединительных кольца.

    2. С помощью пластмассового молотка установите 12 новых соединительных колец.

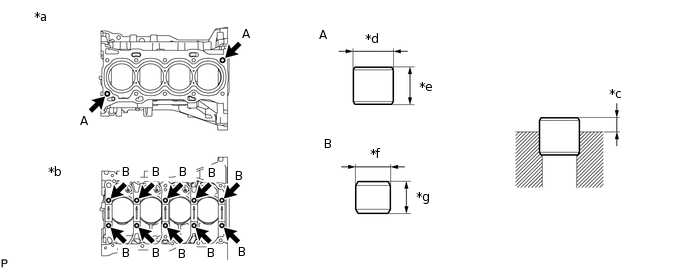
      A285352C09

      *a

      Верхняя сторона

      *b

      Нижняя сторона

      *c

      Высота выступания

      *d

      15 мм (0,591 дюйма)

      *e

      14 мм (0,551 дюйма)

      *f

      13 мм (0,512 дюйма)

      *g

      12 мм (0,472 дюйма)

      -

      -

      Номинальная высота выступания

      Соединительное кольцо

      Заданные условия

      (A)

      5,0 - 7,0 мм (0,197 - 0,276 дюйма)

      (B)

      4,0 - 7,0 мм (0,157 - 0,276 дюйма)

  2. ЗАМЕНИТЕ СТОПОРНЫЙ ШТИФТ

    Note:

    Снимать стопорные штифты нужно только для их замены.

    1. Извлеките 14 стопорных штифтов.

    2. С помощью пластмассового молотка установите 14 новых стопорных штифтов.

      A285353C11

      *a

      Передняя сторона

      *b

      Задний боковой

      *c

      С левой стороны

      *d

      Нижняя сторона

      *e

      Правая сторона

      *f

      Высота выступания

      *g

      22 мм (0,866 дюйма)

      *h

      10 мм (0,394 дюйма)

      *i

      14 мм (0,551 дюйма)

      *j

      6,0 мм (0,236 дюйма)

      Номинальная высота выступания

      Стопорный штифт

      Заданные условия

      (A)

      11,0 - 13,0 мм (0,433 - 0,512 дюйма)

      (B)

      5,0 - 7,0 мм (0,197 - 0,276 дюйма)

      (C)

      4,0-6,0 мм (0,157-0,236 дюйма)