TELEMATICS SYSTEM

Figure 1. Models with Cellular Phone Connection Type G-BOOK

A01XC7UE01

Figure 2. Models with Telematics Transceiver Connection Type G-BOOK 1

A01XC65E01

Figure 3. Models with Telematics Transceiver Connection Type G-BOOK 2

A01XC6VE01

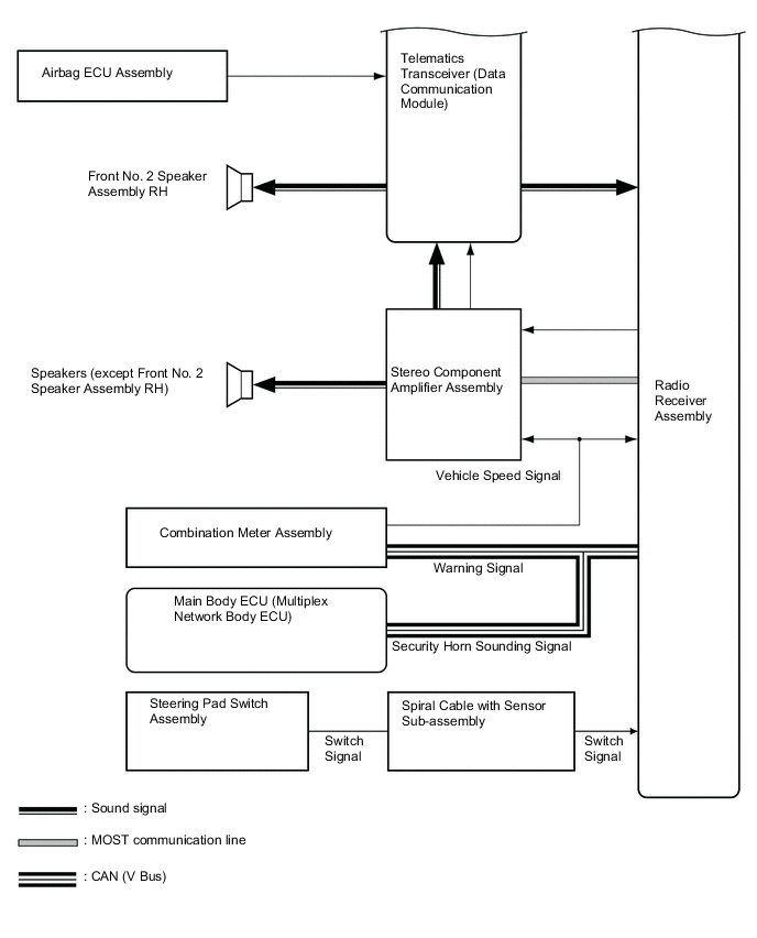
Figure 4. Models with ERA-GLONASS

A01XC6JE01