СИСТЕМА ИММОБИЛАЙЗЕРА ДВИГАТЕЛЯ Система иммобилайзера не работает должным образом

Код DTC Наименование DTC
Система иммобилайзера не работает должным образом

ОПИСАНИЕ

Система иммобилайзера сравнивает идентификационный код, зарегистрированный в ЭБУ сертификации (ЭБУ электронного ключа зажигания в сборе), с идентификационным кодом микросхемы приемопередатчика, встроенной в передатчик электронного ключа в сборе.

СХЕМА ЭЛЕКТРИЧЕСКИХ СОЕДИНЕНИЙ

Нажмите здесьClick here

ПРЕДОСТЕРЕЖЕНИЕ / ПРИМЕЧАНИЕ / УКАЗАНИЕ

Note:
  • При использовании GTS с выключенным питанием, подсоедините GTS к DLC3 и включайте и выключайте освещение проема двери с интервалами 1,5 с или менее до тех пор, пока не начнется обмен данными между GTS и автомобилем. Затем выберите код модели "KEY REGIST" в ручном режиме и войдите в следующие пункты меню: Body Electrical / Entry&Start(CAN). При использовании GTS периодически включайте и выключайте выключатель освещения дверного проема с интервалом не более 1,5 с, чтобы поддерживать связь между GTS и автомобилем.

  • Для обмена данными в системе иммобилайзера применяется система передачи данных LIN. Проверьте работоспособность системы передачи данных, следуя указаниям из раздела "Порядок поиска неисправностей". Приступать к диагностике системы иммобилайзера следует только после подтверждения нормальной работы системы передачи данных.

    Нажмите здесьClick here

  • Перед заменой блока идентификационного кода (ЭБУ кода иммобилайзера) или ЭБУ сертификации (ЭБУ электронного ключа зажигания) обратитесь к сервисному бюллетеню.

  • После ремонта выполните операцию "Подтверждение вывода кода DTC" и убедитесь, что коды DTC не выводятся.

Tip:

Если отображается код DTC системы иммобилайзера или системы управления гибридной системой, в первую очередь выполните диагностику кодов DTC системы иммобилайзера или системы управления гибридной системой.

ПОРЯДОК ВЫПОЛНЕНИЯ

  1. ПРОВЕРЬТЕ DTC

    1. Проверьте наличие кодов DTC.

      Body Electrical > Entry&Start > Trouble Codes

      Powertrain > Hybrid Control > Trouble Codes

    Результат

    Result

    Следующий шаг

    DTC не выводятся.

    А

    Коды DTC выводятся

    Б

    B

    ПЕРЕЙДИТЕ К "ТАБЛИЦЕ ДИАГНОСТИЧЕСКИХ КОДОВ НЕИСПРАВНОСТЕЙ"

    Нажмите здесьClick here

    A
  2. ПРОВЕРЬТЕ, ЗАПУСКАЕТСЯ ЛИ СИСТЕМА УПРАВЛЕНИЯ ГИБРИДНОЙ СИСТЕМОЙ

    1. Проверьте, что система управления гибридной системой запускается через 5 секунд после включения питания (READY).

      OK

      Гибридная система запускается нормально.

    Result

    Перейти к

    OK

    НЕ СООТВ.

    OK

    ВЫПОЛНИТЕ ПРОВЕРКУ С ИМИТАЦИЕЙ УСЛОВИЙ ВОЗНИКНОВЕНИЯ НЕИСПРАВНОСТИ

    Нажмите здесьClick hereClick hereClick here

    NG
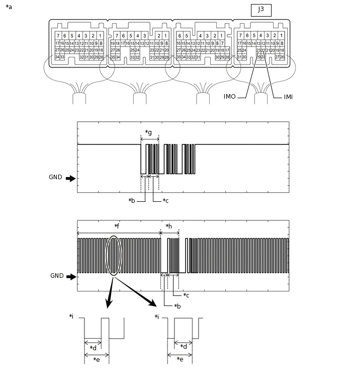
  3. ПРОВЕРЬТЕ ЭБУ ГИБРИДНОЙ СИСТЕМЫ (КОНТАКТЫ IMI И IMO)

    1. С помощью осциллографа проверьте форму сигнала.

      B427512C03

      *a

      Устройство с подсоединенным жгутом проводов

      (ЭБУ гибридной системы в сборе)

      *b

      Приблизительно 160 мс.

      *c

      Приблизительно 270 мс.

      *d

      Приблизительно 40 мс.

      *e

      Приблизительно 60 мс.

      *f

      Осциллограмма 1

      *g

      Осциллограмма 2

      *h

      Осциллограмма 3

      *i

      Осциллограмма 1 (детальная)

      -

      -

      Note:

      Осциллограмма в примере на рисунке приведена только для справки. Шумы, помехи и т. д. не показаны.

      Условия измерений

      Подключение диагностического прибора

      Условие

      Настройки прибора

      Заданные условия

      J3-23 (IMO) - масса

      В течение 3 секунд после запуска системы управления гибридной системой или в течение 3 секунд с момента включения питания (IG) после отсоединения и подсоединения провода вспомогательной аккумуляторной батареи

      2 В/ДЕЛ., 500 мс/дел.

      Формирование импульсов

      (см. осциллограмму 2)

      J3-22 (IMI) - масса

      В течение 3 секунд после запуска системы управления гибридной системой или в течение 3 секунд с момента включения питания (IG) после отсоединения и подсоединения провода вспомогательной аккумуляторной батареи

      2 В/ДЕЛ., 500 мс/дел.

      Формирование импульсов

      (см. форму сигнала 1 и 3)

    Результат

    Result

    Перейдите к

    Нормальная форма сигнала

    A

    Сигнал 1 не выводится, либо имеет неправильную длительность или форму

    B

    Сигнал 2 не выводится, либо имеет неправильную длительность или форму

    C

    Сигнал 3 не выводится, либо имеет неправильную длительность или форму

    D

    B

    ПРОВЕРЬТЕ ЖГУТ ПРОВОДОВ И РАЗЪЕМ (БЛОК ИДЕНТИФИКАЦИОННОГО КОДА (ЭБУ КОДА ИММОБИЛАЙЗЕРА) - ЭБУ ГИБРИДНОЙ СИСТЕМЫ)Click here

    C

    ЗАМЕНИТЕ ЭБУ ГИБРИДНОЙ СИСТЕМЫ В СБОРЕ

    Нажмите здесьClick hereClick hereClick here

    D

    ЗАМЕНИТЕ БЛОК ИДЕНТИФИКАЦИОННОГО КОДА (ЭБУ КОДА ИММОБИЛАЙЗЕРА)Click here

    A
  4. ЗАРЕГИСТРИРУЙТЕ ИДЕНТИФИКАТОР ПЕРЕДАЧИ ДАННЫХ ЭБУ

    1. Зарегистрируйте идентификационные коды передачи данных ЭБУ.

      Tip:

      См. Бюллетень технического обслуживания

    Результат

    Перейти к

    СЛЕДУЮЩЕЕ -

    СЛЕДУЮЩЕЕ -
  5. ПРОВЕРЬТЕ, ЗАПУСКАЕТСЯ ЛИ СИСТЕМА УПРАВЛЕНИЯ ГИБРИДНОЙ СИСТЕМОЙ

    1. Проверьте, включается ли система управления гибридной системой.

      OK

      Гибридная система запускается нормально.

    Result

    Перейти к

    OK

    НЕ СООТВ.

    OK

    КОНЕЦ (ИДЕНТИФИКАТОР СВЯЗИ НЕ ЗАРЕГИСТРИРОВАН)

    НЕ СООТВ.

    ЗАМЕНИТЕ БЛОК ИДЕНТИФИКАЦИОННОГО КОДА (ЭБУ КОДА ИММОБИЛАЙЗЕРА)Click here

  6. ПРОВЕРЬТЕ ЖГУТ ПРОВОДОВ И РАЗЪЕМ (БЛОК ИДЕНТИФИКАЦИОННОГО КОДА (ЭБУ КОДА ИММОБИЛАЙЗЕРА) - ЭБУ ГИБРИДНОЙ СИСТЕМЫ)

    1. Отсоедините разъем J36 блока идентификационного кода (ЭБУ кода иммобилайзера).

    2. Отсоедините разъем J3 ЭБУ гибридной системы.

    3. Измерьте сопротивление в соответствии со значениями, приведенными в таблице ниже.

      Номинальное сопротивление

      Подключение диагностического прибора

      Условие

      Заданные условия

      J36-3 (EFII) - J3-23 (IMO)

      Всегда

      Менее 1 Ом

      J36-3 (EFII) или J3-23 (IMO) - масса

      Всегда

      10 кОм или более

      J36-4 (EFIO) - J3-22 (IMI)

      Всегда

      Менее 1 Ом

      J36-4 (EFIO) или J3-22 (IMI) - масса

      Всегда

      10 кОм или более

    Результат

    Перейти к

    OK

    НЕ СООТВ.

    СООТВ

    ЗАМЕНИТЕ БЛОК ИДЕНТИФИКАЦИОННОГО КОДА (ЭБУ КОДА ИММОБИЛАЙЗЕРА)Click here

    NG

    ОТРЕМОНТИРУЙТЕ ИЛИ ЗАМЕНИТЕ ЖГУТ ПРОВОДОВ ИЛИ РАЗЪЕМ

  7. ЗАМЕНИТЕ БЛОК ИДЕНТИФИКАЦИОННОГО КОДА (ЭБУ КОДА ИММОБИЛАЙЗЕРА)

    1. Замените блок идентификационного кода (ЭБУ кода иммобилайзера) новым.

      Tip:

      См. Бюллетень технического обслуживания

    Результат

    Перейти к

    СЛЕДУЮЩЕЕ -

    СЛЕДУЮЩЕЕ -
  8. ЗАРЕГИСТРИРУЙТЕ ОПОЗНАВАТЕЛЬНЫЙ КОД

    1. Зарегистрируйте опознавательные коды в блоках ЭБУ.

      Tip:

      См. Бюллетень технического обслуживания

    Результат

    Перейти к

    СЛЕДУЮЩЕЕ -

    СЛЕДУЮЩЕЕ -
  9. ЗАРЕГИСТРИРУЙТЕ ИДЕНТИФИКАТОР ПЕРЕДАЧИ ДАННЫХ ЭБУ

    1. Зарегистрируйте идентификационные коды передачи данных ЭБУ.

      Tip:

      См. Бюллетень технического обслуживания

    Результат

    Перейти к

    СЛЕДУЮЩЕЕ -

    СЛЕДУЮЩЕЕ -
  10. ПРОВЕРЬТЕ, ЗАПУСКАЕТСЯ ЛИ СИСТЕМА УПРАВЛЕНИЯ ГИБРИДНОЙ СИСТЕМОЙ

    1. Проверьте, включается ли система управления гибридной системой.

      OK

      Гибридная система запускается нормально.

    Result

    Перейти к

    OK

    НЕ СООТВ.

    OK

    КОНЕЦ (БЛОК ИДЕНТИФИКАЦИОННОГО КОДА (ЭБУ КОДА ИММОБИЛАЙЗЕРА) НЕИСПРАВЕН)

    NG

    ПЕРЕЙДИТЕ К РАЗДЕЛУ "СИСТЕМА УПРАВЛЕНИЯ ГИБРИДНОЙ СИСТЕМОЙ"

    Нажмите здесьClick here