TIRE PRESSURE WARNING SYSTEM TC and CG Terminal Circuit

DTC Code DTC Name
TC and CG Terminal Circuit

DESCRIPTION

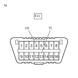
Tire pressure warning system DTCs can be checked by connecting terminals 13 (TC) and 4 (CG) of the DLC3. The DTCs are indicated by blinking the tire pressure warning light.

WIRING DIAGRAM

C287859E01

PROCEDURE

  1. CHECK CAN COMMUNICATION SYSTEM

    1. Check for DTCs.

      Click here

    Result

    Result

    Proceed to

    DTCs are not output.

    A

    DTCs are output.

    B

    B

    GO TO CAN COMMUNICATION SYSTEM

    A
  2. CHECK DTC (C2179/79)

    1. Check if DTC C2179/79 is output.

      Click here

    Result

    Result

    Proceed to

    DTC C2179/79 is not output.

    A

    DTC C2179/79 is output.

    B

    B

    GO TO DTC C2179/79

    A
  3. INSPECT DLC3

    1. C269872C17

      *a

      Front view of DLC3

      Turn the ignition switch to ON.

    2. Measure the voltage according to the value(s) in the table below.

      Standard Voltage

      Tester Connection

      Condition

      Specified Condition

      E11-13 (TC) - E11-4 (CG)

      Ignition switch ON

      11 to 14 V

    Result

    Proceed to

    OK

    NG

    NG

    CHECK HARNESS AND CONNECTOR (TC of DLC3 - ECM)Click here

    OK
  4. REPLACE ECM

    1. C269872C17

      *a

      Front view of DLC3

      Turn the ignition switch off.

    2. Replace the ECM.

      for 1ND-TV

      Click here

      for 1NR-FE

      Click here

      for 1ZR-FAE

      Click here

      for 1ZR-FE

      Click here

    3. Using SST, connect terminals TC and CG of the DLC3.

    4. Check that the tire pressure warning light is blinking.

      OK

      The tire pressure warning light is blinking.

      Tip:

      If troubleshooting has been carried out according to Problem Symptoms Table, refer back to the table and proceed to the next step before replacing the part.

      Click here

    09843-18040

    Result

    Proceed to

    OK

    NG

    OK

    END

    NG

    PROCEED TO NEXT SUSPECTED AREA SHOWN IN PROBLEM SYMPTOMS TABLE

  5. CHECK HARNESS AND CONNECTOR (TC of DLC3 - ECM)

    1. Disconnect the A50 or A101 ECM connector.

    2. Measure the resistance according to the value(s) in the table below.

      Standard Resistance

      Table 1. for 1NR-FE, 1ZR-FAE, 1ZR-FE:

      Tester Connection

      Condition

      Specified Condition

      E11-13 (TC) - A50-23 (TC)

      Always

      Below 1 Ω

      E11-13 (TC) or A50-23 (TC) - Body ground

      Always

      10 kΩ or higher

      Table 2. for 1ND-TV:

      Tester Connection

      Condition

      Specified Condition

      E11-13 (TC) - A101-24 (TC)

      Always

      Below 1 Ω

      E11-13 (TC) or A101-24 (TC) - Body ground

      Always

      10 kΩ or higher

    Result

    Proceed to

    OK

    NG

    NG

    REPAIR OR REPLACE HARNESS OR CONNECTOR

    OK
  6. CHECK HARNESS AND CONNECTOR (CG of DLC3 - BODY GROUND)

    1. C207407C78

      *a

      Front view of DLC3

      Measure the resistance according to the value(s) in the table below.

      Standard Resistance

      Tester Connection

      Condition

      Specified Condition

      E11-4 (CG) - Body ground

      Always

      Below 1 Ω

      Tip:

      If troubleshooting has been carried out according to Problem Symptoms Table, refer back to the table and proceed to the next step before replacing the part.

      Click here

    Result

    Proceed to

    OK

    NG

    NG

    REPAIR OR REPLACE HARNESS OR CONNECTOR

    OK
  7. REPLACE ECM

    1. C269872C17

      *a

      Front view of DLC3

      Replace the ECM.

      for 1ND-TV

      Click here

      for 1NR-FE

      Click here

      for 1ZR-FAE

      Click here

      for 1ZR-FE

      Click here

    2. Using SST, connect terminals TC and CG of the DLC3.

    3. Check that the tire pressure warning light is blinking.

      OK

      The tire pressure warning light is blinking.

      Tip:

      If troubleshooting has been carried out according to Problem Symptoms Table, refer back to the table and proceed to the next step before replacing the part.

      Click here

    09843-18040

    Result

    Proceed to

    OK

    NG

    OK

    END

    NG

    PROCEED TO NEXT SUSPECTED AREA SHOWN IN PROBLEM SYMPTOMS TABLE