FRONT SEAT OUTER BELT ASSEMBLY DISPOSAL

CAUTION / NOTICE / HINT

Tip:

When scrapping vehicles equipped with a seat belt pretensioner or disposing of a seat belt (with a seat belt pretensioner), always deploy the seat belt pretensioner first in accordance with the procedure described below. If any abnormality occurs during deployment of the seat belt pretensioner, contact the service dept. of the distributor.

PROCEDURE

  1. DISPOSE OF FRONT SEAT OUTER BELT ASSEMBLY (When Installed in Vehicle)

    CAUTION:
    • Use gloves and safety glasses when handling a front seat outer belt with a deployed pretensioner.

    • Always wash your hands with water after completing the operation.

    • Do not apply water, etc. to a front seat outer belt with a deployed pretensioner.

    • When deploying the seat belt pretensioner, always use the specified SST (SRS airbag deployment tool). Perform the operation in a place away from electrical interference.

    Note:
    • When disposing of a front seat outer belt with a pretensioner, never deploy the pretensioner in the customer's vehicle.

    • Never dispose of a front seat outer belt assembly with a pretensioner that has not been deployed.

    • The seat belt pretensioner produces an exploding sound when it deploys, so perform the operation outdoors where it will not disturb local residents.

    • When deploying a front seat outer belt (with a seat belt pretensioner), perform the operation at least 10 m (33 ft.) away from the front seat outer belt.

    • Be sure to follow the procedure listed below when deploying the seat belt pretensioner.

    1. B050515N01

      Check the function of SST.

      09082-00700

      CAUTION:

      When deploying the seat belt pretensioner, always use the specified SST.

      1. B050511C16

        *1

        Battery

        Connect the red clip of SST to the battery positive (+) terminal and the black clip to the battery negative (-) terminal.

        Tip:

        At this time, do not connect the yellow connector. It will in a later step be connected to the seat belt pretensioner.

      2. B050514N01

        Press the SST deployment switch and check that the LED of the SST deployment switch illuminates.

        CAUTION:

        If the LED is illuminated when the deployment switch is not pressed, SST may be malfunctioning. In this case, do not use the malfunctioning SST.

    2. B334887C02

      *1

      Protective Tape

      for Driver Side, Front Passenger Seat Belt without Selectable Force Limiter:

      Disconnect the front seat outer belt pretensioner connector.

      1. Remove the lower center pillar garnish.

        Click here

      2. Using a screwdriver, pull out the locking button in the direction shown by the arrow in the illustration to release the lock, and disconnect the pretensioner connector as shown in the illustration.

        Tip:

        Tape the screwdriver tip before use.

    3. B339093C01

      *1

      Protective Tape

      for Front Passenger Seat Belt with Selectable Force Limiter:

      Using a screwdriver, pull out the 2 locking buttons in the direction shown by the arrow in the illustration to release the lock and disconnect the pretensioner connector and selectable force limiter connector as shown in the illustration.

      Tip:

      Tape the screwdriver tip before use.

    4. for Driver Side, Front Passenger Seat Belt without Selectable Force Limiter:

      1. Connect SST.

        09082-00700

        09082-00770

        1. B334892N01

          Connect 2 SST, and then connect them to the front seat outer belt pretensioner.

          Note:

          To avoid damaging the SST connector and wire harness, do not lock the secondary lock of the pretensioner connector.

        2. C154370C10

          *a

          10 m or more

          Move SST at least 10 m (33 ft.) away from the front of the vehicle.

        3. Close all the doors and windows of the vehicle.

          Note:

          Do not damage the SST wire harness.

      2. Deploy the front seat outer belt pretensioner.

        1. Confirm that no one is inside the vehicle or within a 10 m (33 ft.) radius of the vehicle.

        2. Connect the red clip of SST to the battery positive (+) terminal and the black clip to the negative (-) terminal.

        3. Press the SST deployment switch to deploy the front seat outer belt pretensioner.

          Tip:

          The seat belt pretensioner will deploy at the same time as the LED of SST illuminates.

    5. for Front Passenger Seat Belt with Selectable Force Limiter:

      1. Connect SST.

        09082-00700

        09082-00770

        1. B341367N01

          Connect 2 SST, and then connect them to the front seat outer belt pretensioner.

          Note:

          To avoid damaging the SST connector and wire harness, do not lock the secondary lock of the pretensioner connector.

        2. C154370C10

          *a

          10 m or more

          Move SST at least 10 m (33 ft.) away from the front of the vehicle.

        3. Close all the doors and windows of the vehicle.

          Note:

          Do not damage the SST wire harness.

      2. Deploy the front seat outer belt pretensioner.

        1. Confirm that no one is inside the vehicle or within a 10 m (33 ft.) radius of the vehicle.

        2. Connect the red clip of SST to the battery positive (+) terminal and the black clip to the negative (-) terminal.

        3. Press the SST deployment switch to deploy the front seat outer belt pretensioner.

          Tip:

          The seat belt pretensioner will deploy at the same time as the LED of SST illuminates.

      3. Disconnect the SST.

        CAUTION:

        The front seat outer belt becomes very hot when the front seat outer belt pretensioner is deployed, so leave it untouched for at least 30 minutes after it has been deployed.

      4. Connect SST.

        1. B341371N01

          Connect 2 SST, and then connect them to the front seat outer belt selectable force limiter.

          Note:

          To avoid damaging the SST connector and wire harness, do not lock the secondary lock of the selectable force limiter connector.

        2. C154370C10

          *a

          10 m or more

          Move SST at least 10 m (33 ft.) away from the front of the vehicle.

        3. Close all the doors and windows of the vehicle.

          Note:

          Do not damage the SST wire harness.

      5. Deploy the front seat outer belt selectable force limiter.

        1. Confirm that no one is inside the vehicle or within a 10 m (33 ft.) radius of the vehicle.

        2. Connect the red clip of SST to the battery positive (+) terminal and the black clip to the negative (-) terminal.

        3. Press the SST deployment switch to deploy the front seat outer belt selectable force limiter.

          Tip:

          The seat belt selectable force limiter will deploy at the same time as the LED of SST illuminates.

    6. B334893

      Dispose of the front seat outer belt assembly.

      1. Remove the front seat outer belt assembly and SST.

      2. Place the front seat outer belt in a plastic bag, tie the end tightly, and dispose of it in the same way as other general parts.

        CAUTION:
        • The front seat outer belt becomes very hot when the front seat outer belt pretensioner is deployed, so leave it untouched for at least 30 minutes after it has been deployed.

        • Use gloves and safety glasses when handling a front seat outer belt with a pretensioner that has been deployed.

        • Always wash your hands with water after completing the operation.

        • Do not apply water, etc. to a front seat outer belt assembly with a pretensioner that has been deployed.

        Tip:

        When scrapping a vehicle, deploy the front seat outer belt pretensioners, and then scrap the vehicle with the deployed outer belt installed.

  2. DISPOSE OF FRONT SEAT OUTER BELT ASSEMBLY (When not Installed in Vehicle)

    CAUTION:
    • Use gloves and safety glasses when handling a front seat outer belt with a deployed pretensioner.

    • Always wash your hands with water after completing the operation.

    • Do not apply water, etc. to a front seat outer belt with a deployed pretensioner.

    • When deploying a seat belt pretensioner, always use the specified SST (SRS airbag deployment tool). Perform the operation in a place away from electrical interference.

    Note:
    • When disposing of a front seat outer belt with a pretensioner, never deploy the pretensioner in the customer's vehicle.

    • Never dispose of a front seat outer belt assembly with a pretensioner that has not been deployed.

    • The seat belt pretensioner produces an exploding sound when it deploys, so perform the operation outdoors where it will not disturb local residents.

    • When deploying a front seat outer belt (with a seat belt pretensioner), perform the operation at least 10 m (33 ft.) away from the front seat outer belt.

    • Be sure to follow the procedure listed below when deploying the seat belt pretensioner.

    1. B050515N01

      Check the function of SST.

      09082-00700

      CAUTION:

      When deploying the seat belt pretensioner, always use the specified SST.

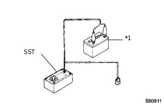
      1. B050511C11

        *1

        Battery

        Connect the red clip of SST to the battery positive (+) terminal and the black clip to the battery negative (-) terminal.

        Tip:

        At this time, do not connect the yellow connector. It will in a later step be connected to the seat belt pretensioner.

      2. B050514N01

        Press the SST deployment switch and check that the LED of the SST deployment switch illuminates.

        CAUTION:

        If the LED is illuminated when the deployment switch is not pressed, SST may be malfunctioning. In this case, do not use the malfunctioning SST.

    2. Remove the front seat outer belt assembly.

      Click here

    3. B334894C01

      *a

      Cut

      *b

      100 mm

      Wind the seat belt webbing with the retractor.

    4. When the seat belt webbing is sufficiently wound, cut the seat belt webbing approximately 100 mm (3.94 in.) from the retractor as shown in the illustration.

      Tip:

      The retractor resistance increases in correlation with how much the seat belt webbing is wound.

    5. for Driver Side, Front Passenger Seat Belt without Selectable Force Limiter:

      1. Connect SST.

        09082-00700

        09082-00770

        1. B334892N01

          Connect 2 SST, and then connect them to the front seat outer belt pretensioner.

          Note:

          To avoid damaging the SST connector and wire harness, do not lock the secondary lock of the pretensioner connector.

        2. B334896N01

          Place the front seat outer belt on the ground and cover it with a tire and wheel assembly.

          Note:
          • Position the front seat outer belt assembly as shown in the illustration.

          • Use a scrap tire and wheel assembly when disposing of a seat belt pretensioner.

        3. Position and hold SST at least 10 m (33 ft.) away from the wheel.

          Note:

          Do not damage the SST wire harness.

      2. Deploy the front seat outer belt pretensioner.

        1. B339081C01

          *a

          10 m or more

          Check that no one is within a 10 m (33 ft.) radius of the wheel.

        2. Connect the red clip of SST to the battery positive (+) terminal and the black clip to the battery negative (-) terminal.

        3. Press the SST deployment switch to deploy the seat belt pretensioner.

          Tip:

          The seat belt pretensioner will deploy at the same time as the LED of SST illuminates.

    6. for Front Passenger Seat Belt with Selectable Force Limiter:

      1. Connect SST.

        09082-00700

        09082-00770

        1. B341367N01

          Connect 2 SST, and then connect them to the front seat outer belt pretensioner.

          Note:

          To avoid damaging the SST connector and wire harness, do not lock the secondary lock of the pretensioner connector.

        2. B341368N01

          Place the front seat outer belt on the ground and cover it with a tire and wheel assembly.

          Note:
          • Position the front seat outer belt assembly as shown in the illustration.

          • Use a scrap tire and wheel assembly when disposing of a seat belt pretensioner.

        3. Position and hold SST at least 10 m (33 ft.) away from the wheel.

          Note:

          Do not damage the SST wire harness.

      2. Deploy the front seat outer belt pretensioner.

        1. B339081C01

          *a

          10 m or more

          Check that no one is within a 10 m (33 ft.) radius of the wheel.

        2. Connect the red clip of SST to the battery positive (+) terminal and the black clip to the battery negative (-) terminal.

        3. Press the SST deployment switch to deploy the seat belt pretensioner.

          Tip:

          The seat belt pretensioner will deploy at the same time as the LED of SST illuminates.

      3. Disconnect the SST.

        CAUTION:

        The front seat outer belt becomes very hot when the front seat outer belt pretensioner is deployed, so leave it untouched for at least 30 minutes after it has been deployed.

      4. Connect SST.

        09082-00700

        09082-00770

        1. B341371N01

          Connect 2 SST, and then connect them to the front seat outer belt selectable force limiter.

          Note:

          To avoid damaging the SST connector and wire harness, do not lock the secondary lock of the selectable force limiter connector.

        2. B341372N01

          Place the front seat outer belt on the ground and cover it with a tire and wheel assembly.

          Note:
          • Position the front seat outer belt assembly as shown in the illustration.

          • Use a scrap tire and wheel assembly when disposing of a seat belt pretensioner.

        3. Position and hold SST at least 10 m (33 ft.) away from the wheel.

          Note:

          Do not damage the SST wire harness.

      5. Deploy the front seat outer belt selectable force limiter.

        1. B339081C01

          *a

          10 m or more

          Check that no one is within a 10 m (33 ft.) radius of the wheel.

        2. Connect the red clip of SST to the battery positive (+) terminal and the black clip to the battery negative (-) terminal.

        3. Press the SST deployment switch to deploy the seat belt pretensioner.

          Tip:

          The seat belt selectable force limiter will deploy at the same time as the LED of SST illuminates.

    7. B334893

      Dispose of the front seat outer belt assembly.

      1. Remove the wheel and SST.

      2. Place the front seat outer belt in a plastic bag, tie the end tightly, and dispose of it in the same way as other general parts.

        CAUTION:
        • The front seat outer belt becomes very hot when the front seat outer belt pretensioner is deployed, so leave it untouched for at least 30 minutes after it has been deployed.

        • Use gloves and safety glasses when handling a front seat outer belt with a pretensioner that has been deployed.

        • Always wash your hands with water after completing the operation.

        • Do not apply water, etc. to a front seat outer belt assembly with a pretensioner that has been deployed.

        Tip:

        When scrapping a vehicle, deploy the front seat outer belt pretensioners, and then scrap the vehicle with the deployed outer belt installed.