LIN COMMUNICATION SYSTEM, Diagnostic DTC:B2785

DTC Code DTC Name
B2785 Communication Malfunction between ECUs Connected by LIN

DESCRIPTION

If the certification ECU (smart key ECU assembly) detects a communication error with an ECU connected to the certification bus lines for 7 seconds or more, DTC B2785 will be stored.

DTC No. Detection Item DTC Detection Condition Trouble Area
B2785 Communication Malfunction between ECUs Connected by LIN

Any of the following conditions is met:


  • Errors in LIN communication between ECUs.

  • Open in communication lines.

  • Short in communication lines.

  • The certification ECU (smart key ECU assembly) detects a communication error with an ECU connected to the certification bus lines for 7 seconds or more.


  • Certification ECU (smart key ECU assembly)

  • Steering lock ECU (steering lock actuator or upper bracket assembly)

  • ID code box (immobiliser code ECU)

  • Wire harness or connector

  • AM2 fuse

  • STRG LOCK fuse

  • ECU-B NO. 1 fuse

DTC Detection Conditions
Vehicle Condition
Pattern 1 Pattern 2 Pattern 3 Pattern 4
Diagnosis Condition -
Malfunction Status Errors in LIN communication between ECUs - - -
Open in communication lines - - -
Short in communication lines - - -
The certification ECU (smart key ECU assembly) detects a communication error with an ECU connected to the certification bus lines - - -
Detection Time - - - 7 seconds or more
Number of Trips 1 trip 1 trip 1 trip 1 trip

Tech Tips

DTC will be output when conditions for either of the patterns in the table above are met.

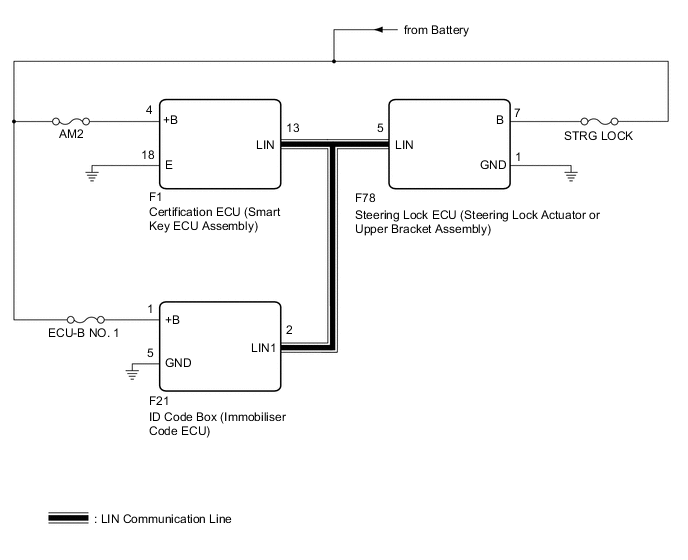
WIRING DIAGRAM

A001V15E11

CAUTION / NOTICE / HINT

Note


  • Inspect the fuses for circuits related to this system before performing the following procedure.

  • If the certification ECU (smart key ECU assembly), ID code box (immobiliser code ECU) and steering lock ECU (steering lock actuator or upper bracket assembly) is replaced, refer to Service Bulletin.

  • Before performing the inspection, check that DTC B2786, B2789 or B278C is not output.

    Click here

  • When using the GTS with the ignition switch off, connect the GTS to the DLC3 and turn a courtesy light switch on and off at intervals of 1.5 seconds or less until communication between the GTS and the vehicle begins. Then select Model Code "KEY REGIST" under manual mode and enter the following menus: Body Electrical / Entry&Start(CAN). While using the GTS, periodically turn a courtesy light switch on and off at intervals of 1.5 seconds or less to maintain communication between the GTS and the vehicle.

PROCEDURE


  1. CHECK HARNESS AND CONNECTOR (CERTIFICATION ECU (SMART KEY ECU ASSEMBLY) - EACH ECU)


    1. Disconnect the F1 certification ECU (smart key ECU assembly) connector.

    2. Disconnect the F78 steering lock ECU (steering lock actuator or upper bracket assembly) connector.

    3. Disconnect the F21 ID code box (immobiliser code ECU) connector.

    4. Measure the resistance according to the value(s) in the table below.

      Note

      Make sure that each ECU is in sleep mode before performing the inspection. To enter sleep mode, turn the ignition switch from ON to off and wait for 180 seconds or more without operating any switches.

      Standard Resistance
      Tester Connection Switch Condition Specified Condition
      F1-13 (LIN) - F21-2 (LIN1) Ignition switch off Below 1 Ω
      F1-13 (LIN) - F78-5 (LIN) Ignition switch off Below 1 Ω
      F1-13 (LIN), F78-5 (LIN) or F21-2 (LIN1) - Body ground Ignition switch off 10 kΩ or higher
      Result
      Proceed to
      OK
      NG

    NG
    OK
  2. CHECK FOR DTC (STEERING LOCK ECU (STEERING LOCK ACTUATOR OR UPR BRACKET ASSEMBLY))


    1. Reconnect the F1 certification ECU (smart key ECU assembly) connector.

    2. Reconnect the F21 ID code box (immobiliser code ECU) connector.

    3. Clear the DTCs.

      Click here


      Body Electrical > Entry&Start > Clear DTCs
    4. Recheck for DTCs.


      Body Electrical > Entry&Start > Trouble Codes
      Result
      Result Proceed to
      DTC B2785 is output A
      DTC B2785 is not output B

    B
    A
  3. CHECK FOR DTC (ID CODE BOX (IMMOBILISER CODE ECU))


    1. Reconnect the F78 steering lock ECU (steering lock actuator or upper bracket assembly) connector.

    2. Disconnect the F21 ID code box (immobiliser code ECU) connector.

    3. Clear the DTCs.

      Click here


      Body Electrical > Entry&Start > Clear DTCs
    4. Recheck for DTCs.


      Body Electrical > Entry&Start > Trouble Codes
      Result
      Result Proceed to
      DTC B2785 is output A
      DTC B2785 is not output B

    A
    B